Алматы мемлекеттік бизнес колледжі
Оқу сабағының жосапары
|
Модуль /пән атауы: |
Математика |
|
|
Бөлім |
15 бөлім. Денелердің көлемі. |
|
|
Бөлімше |
Айналу денелерінің көлемі |
|
|
Тақырыбы |
Тақырып 15.2.1. Цилиндр көлемі. |
|
|
Сілтеме |
|
|
|
Педагог |
Әбдісана Ұлбосын Әбдісанақызы |
|
|
Сабақтың түрі |
тәжірибелік |
Күні: |
|
Жалпы мәліметтер |
Курс 1 |
Топ: |
|
Мақсаты (оқу нәтижесі) |
( барлығына 6 сағат берілді, соның ішінде цилиндрдің көлеміне 2сағат берілген. 2-сағатына алынды)
|
|
|
Міндеттері |
1)
Цилиндр көлемін табу формуласын қолданады; |
|
|
Күтілетін нәтижелер |
1)
Цилиндр көлемін табу
формуласын есептер шығаруда
пайдаланады. |
|
|
Ойлау дағдыларының деңгейі |
Қолдану |
|
|
Керекті ресурстар |
Слайд плакат, есептер Геометгия 10- сынып, авторы В.А Смирнов, Е.А Тұяқов слайдтар Интерактивті тақта. Маркер |
|
Сабақтың барысы:
|
Уақыты |
Педагогтің іс-әрекеті |
Білім алушының іс-әрекеті |
Бағалау |
Ресурстар |
|
І.Кіріспе бөлім Ұйымдастырушылық кезеңі 1- минут
|
1.Білім алушылармен амандасу, түгендеу. 2.Ынтымақ тастық атмосферасын қалыптастыру
1.Оқытушы білім алушыларды түгендейді. 2.Амандасады және тілектерін білдіреді. |
1.Білім алушылар мұғаліммен амандасады. 2. Сабаққа дайындалады. Мақсаты: Білім алушылар бір-біріне тілек білдіреді, тыңдау дағдыларын дамытуға бағытталады, сондай-ақ барлық білім алушылар қатыстырылуы арқылы сабаққа белсенділігі артады. |
Білім алушылардың белсенділігі үшін «Жарайсың!», «Керемет!» деген сақтау сөздерімен бағалайды. Тиімділігі: Білім алушылар бір-біріне тілек айту арқылы жақындасады, көңіл-күйін көтереді және бауырмалдығын оятады. Саралау: Бұл жерде саралаудың «Жіктеу» тәсілі көрінеді. Білім алушылардың оқуға деген қызығушылығын арттыру мақсатында мүмкіндігінше оларға таңдау еркіндігі беріледі. |
Оқулық, жұмыс дәптері Кітап, дәптер, қалам суреттері бейнеленген қима қағаздар топтамасы ДК экраны |
|
2-минут |
Үй тапсырмасын тексеру «Броундық қозғалыс» №25.3 . -Үйге берілген есепті оқытушы тексереді жауабын келесі балаға айтады. №25.3 Жауабы:V2˃ V1 екіншісі үлкен |
Білім алушы жауаппен салыстырып, бір-бірінің тапсырмаларын тексереді |
Білім алушылардың белсенділігі үшін «Жақсы!», «Тамаша!» деген сақтау сөздерімен бағалайды. Сонымен қатар 49-100баллдық жүйе бойынша білім алушылардың сабаққа қатысу белсенділігі бойынша бағаланады. |
Интерактивті тақта 11-сынып оқулығы авторы В.А Смирнов, Е.А Тұяқов |
|
1-минут |
Топқа бөлу: « Асық» әдісі 1-топ . Шар 2-топ. Цилиндр 3-топ. Конус |
Әр түрлі түске боялған асықты алып топқа бөлінеді.
Қызыл түс Шар Жасыл түс Цилиндр Көк түс Конус |
Топқа бөлудің мақсаты сатылап білім шыңына шығару |
|
|
І І. Негізгі Бөлім 2-минут |
(Ұ) «Миға шабуыл» әдісі арқылы өткен тақырыпты еске түсіру мақсатында ой қозғау сұрақтарын ұжымдық талқылау. Білім алушыларға жалпылама төмендегі сұрақтар беріледі. Сұрақтар: 1.Цилиндр дегеніміз не? 2.Цилиндрдің көлемін қалай табамыз? Ц |
...Білім алущылар сұрақтарға жауап беріп, өзара ұжымдық талқылау жасағаннан кейін мұғалім білім алушыларға сабақтың тақырыбы, мақсатымен таныстырады. Мақсаты: Жылдам әрі функционалды түрде сыни ойлануды дамыту. Тиімділігі: білім алушының танымдық дағдысы артады. Сонымен сабақтың тақырыбы мен мақсатын анықтауға мүмкіндік береді. |
Саралау: Бұл жерде саралаудың «Диалог және қолдау көрсету» тәсілі көрінеді. Дұрыс мағынада жауап беруге бағыттау мақсатында білім алушыларға ашық сұрақтар қойылады. Орындау қадамдары: 1. Әр білім алушы өз ойымен бөліседі. 2. Өзгенің пікірін толықтырады. 3. Дәптерінде орындайды Өз ойын дұрыс мағынада білдіріп, талқылауға белсенділікпен қатысқан білім алушыға «Жарайсың!» деген мадақтау сөзімен ынталандыру |
. 11-сынып оқулығы авторы В.А Смирнов, Е.А Тұяқов Итерактивті тақта |
|
12-минут
|
3-топқа 1-тапсырма беріледі «Карусель »- әдісі І топқа: №25.13 Цилиндр бүйір бетінің жазбасы –қабырғалары 1см және 2см болатын тік төртбұрыш. Цилиндрдің көлемін табыңдар.
Барлық топқа берілген есептің жауабын есептеп шығарғанан кейін дұрыс жаупты топтарға ұсынады.
ЕБҚететін білім алушыға көмек көрсету қадағалауда болады үлкен шрифпен «Жалғасын тап» әдісі бойынша берілген тапсырманы көшіріп жазады. Белсенді білім алушының қасына отырады. |
Берілген тапсырманы талдайды ортаға салады пікірлерін білдіріп ақылдасады.Есепті шығарады. Бір білім алушыны келесі 2-топқа жібереді.Шығарған өз есептерін 2топқа түсіндіреді. 2-ші топтан бір білім алушы 3-топқа түсіндіреді. |
«Мадақтау сөз» әдісі арқылы бағалайды «Жарайсың! » «Жақсы!» «Өте жақсы!» «Талпын!» Орындау қадамдары: 1.білім алушылар осындай жағдайларды қарастыруы қажет: жазбаның бір қабырғасы цилиндрдің табынында жататын шеңбердің ұзындығы, ал биіктігі жазбаның 2-ші қабырғасының ұзындығына тең болады. Бұдан 2 πR =2 теңдеу құрастырады. 2.Одан R=1/ π V формуласын пайдаланып көлемін табады. Есептің мазмұнын түсінеді. Дәптерге цилиндрдің сызбасын салады. Жауабын анықтайды. |
Интерактивті тақта 11-сынып оқулығы авторы В.А Смирнов, Е.А Тұяқов 151 бет. Жұмыс дәптерлері. Слайд. 2-ші 3-ші топтың есептері Қосымша №1 де. Кеспе қағаз. |
|
12минут |
«Плакаттар сөйлейді» әдісі Жұптық жұмыс. Функционалдық сауаттылыққа арналған тапсырма беріледі. 1жұпқа №2 Биіктігі 6м негізнің диаметрі 2м болатын цилиндр тәріздес цестернада қанша жанар май бар?
2жұпқа №3 Цилиндр тәріздес канистір жанар майының деңгейі 16-см-ге тең. Осы жанар майды диаметрі бұл ыдыстан 2есе үлкен болатын екінші ыдысқа құйса, онда жанар майдың деңгейі қандай биіктікте болады?
ЕБҚ ететін білім алушыларға көмек көрсетіп үздік білім алушыны қасына отырғызып көмектесуіне ықпал жасаймын.Үлкен шрифта тапсырманы жазып беремін. Қадағалауға аламын |
4 топтағы барлық білім алушы отырған топтарында 1ші, 2шіге саналып қайта жұпқа бөлінеді. 1-жұп 2-жұп болып. «Плакаттар сөйлейді» әдісі тапсырма бойынша өз ойларын ортаға салып талқылайды , пікірлерін білдіріп талдау жасайды, плакатқа есептің шешімін жазады,плакаттар көшірілумен келесі топқа таныстырылады |
Есеп мазмұнын түсінеді. 1.Цилиндр тәріздес цестрнаның сызбасын салады. 2. Көлемін есептеу формуласын қолданады. 3.Көлемін есептейді Жауабын анықтайды. ЕБҚ ететін бала цилиндрдің сызбасын салады. Есепті көшіріп жазады. . |
11-сынып оқулығы авторы В.А Смирнов, Е.А Тұяқов Жұмыс дәптерлері. Слайд Қосымша №2 Кеспе қағаз.ҰБТ-ға арналған тест жинағынан , |
|
2минут |
Сергіту сәті «Нейрожаттығу» Екі қолдың бір мезгілде қозғалысы екі жарты шарды бірден белсендіреді. Көрнекі-кеңістіктік координацияның дамуына ықпал етеді, көзбен қолдың жұмысы синхроналды, көрнекі қабылдау дағдылары бекітіледі.Психикалық белсенділікті және өнімділікті арттырады. Бұл дағдылардың барлығы білім алушыға алған білімді тез меңгеруге көмектеседі. |
Білім алушы нейрожаттығуды жасайды. |
|
https://youtu.be/fVp16K90gSU |
|
10минут |
Жеке жұмыс
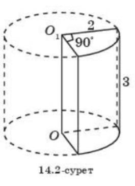
3-тапсырманы орындатады, бақылайды, мысал, үлгі көрсетеді.1-есеп №25.10 есеп 14.2-суреттегі цилиндрдің табанының радиусы 2см-ге, ал жасаушысы 3см-ге тең. Осы цилиндрден екі жақты тік бұрыш жасап, қиылып алынған бөлігінің көлемін табады Қосымша 3 да беріледі.
ЕБҚететін білім алушыларға ақпаратты шағын бөліктерге бөліп ұсынамын. көмек көрсету жақсы оқитын білім алушының қасына отырғызамын. Үлкен шрифпен беремін |
Әр білім алушы берілген есепті шығарады. Тақтада көрсетілген тапсырма жауабы бойынша тексереді. |
Мадақтау сөз» әдісі арқылы бағалайды «Жарайсың! » «Жақсы!» «Өте жақсы!» «Талпын!» Орындау қадамдары: 1.Есеп мазмұнын түсінеді. 2.Қиылып алынған бөлігінің көлемін табады. 3.Жауабын анықтайды. Жауап беруіне байланысты. 49-100баллдық жүйе бойынша білім алушылардың сабаққа қатысу белсенділігі бойынша бағаланады.
ЕБҚ ететін білім алушыға қасына барып Жарайсың! » «Жақсы!» «Өте жақсы!» «Талпын!» қолдау көрсетемін. |
Интерактивті тақта Қосымша 3 Кеспе қағаз. 11сынып оқулығы |
|
Қорытынды 1-мин |
Үй тапсырмасы №25.15 |
Дәтерлеріне оқулықтан 151-беттегі №25.15 есептің берігенін жазып алады. |
|
11-сынып Геометрия оқулығы 151-бет |
|
Ой толғаныс. Рефлексия 2 мин. |
«Еркін микрофон» әдісі. Мұғалім сабақты қорытындылау мақсатында білім алушылардың сабаққа деген көзқарасын, рефлексиясын тыңдайды. Мақсаты:Білім алушы алған білімін саралай білуге дағдыланады. Тиімділігі: Тақырып бойынша Білім алушылардың пікірін анықтайды. Жинақталған деректердің құнды болуын қадағалайды. Саралау: Бұл кезеңде саралаудың «Қорытынды» тәсілі көрінеді. |
Білім алушылар бүгінгі сабақтың мақсатына жеткізетін тапсырмалар орындауына қарай, өз түсінгенін, пікірін, өз ойын айту арқылы сабаққа қорытынды жасайды. |
Мұғалім білім алушыларды «Жапондық бағалау» әдісі арқылы бағалайды. Яғни «Дұрыс келісемін», «Толықтырамын, басқа көзқарасым бар», «Менің сұрағым бар. |
|
Қосымша-1 №25,13
|
Берілгені
b=2см т/к V-? |
Шешуі :
h=BD= V=h*S0=
1*
R= SO= h=BD= V=h*S0=
2* Жауабы:
V=
|
№ 25,24
|
Берілгені
|
Шешуі :
SOA= SOА=
SOВ=
SAB=SOB- SOА=100
V=
m=S·V=7,5-7200 Жауабы: m=162кг |
|
m=? |
|
|
|
|
№25.13
Цилиндр бүйір бетінің жазбасы –қабырғалары 1см және 2см болатын тік төртбұрыш. Цилиндрдің көлемін табыңдар.
ІІ топқа:
№25.8 Тіктөртбұрышты a және b -ға тең қабырғалары жақтан түзулерден айналдырғанда екі цилиндр пайда болады. Осы цилиндрдің көлемдерінің қатынасын табыңдар.
ІІІ топқа:
№25.24
Шойын құбырының ұзындығы 2м, алсыртқы диаметрі 20-см ге тең. Құбыр қабырғасының қалыңдығы 2см (25,6 сурет)Егер шойынның тығыздығышамамен 7,5г/см3 болса құбырдың салмағын табыңдар. Жауабын килограммен беріңдер (π ͌ 3деп алыңдар.
Қосымша-2
1жұпқа №2 Биіктігі 6м негізнің диаметрі
2м болатын цилиндр тәріздес цестернада қанша жанар май бар?
2жұпқа №3 Цилиндр тәріздес канистір жанар майының деңгейі 16-см-ге тең. Осы жанар майды диаметрі бұл ыдыстан 2есе үлкен болатын екінші ыдысқа құйса, онда жанар майдың деңгейі қандай биіктікте болады?
|
Берілгені
H=6см
|
Шешуі
:
R= V= Жауабы:
6 |
|
V=? |
|
|
|
|
Қосымша 3 №3-тапсырманы орындатады, бақылайды, мысал, үлгі көрсетеді.1-есеп
№25.10 есеп 14.2-суреттегі цилиндрдің табанының радиусы 2см-ге, ал жасаушысы 3см-ге тең. Осы цилиндрден екі жақты тік бұрыш жасап, қиылып алынған бөлігінің көлемін табады
|
Берілгені R=2cм
h=6см
|
Шешуі
:
R= h=3см V= Жауабы:
Vб=3
|
|
Vб=?
|
жүктеу мүмкіндігіне ие боласыз
Бұл материал сайт қолданушысы жариялаған. Материалдың ішінде жазылған барлық ақпаратқа жауапкершілікті жариялаған қолданушы жауап береді. Ұстаз тілегі тек ақпаратты таратуға қолдау көрсетеді. Егер материал сіздің авторлық құқығыңызды бұзған болса немесе басқа да себептермен сайттан өшіру керек деп ойласаңыз осында жазыңыз
Цилиндр көлемі
Цилиндр көлемі
Алматы мемлекеттік бизнес колледжі
Оқу сабағының жосапары
|
Модуль /пән атауы: |
Математика |
|
|
Бөлім |
15 бөлім. Денелердің көлемі. |
|
|
Бөлімше |
Айналу денелерінің көлемі |
|
|
Тақырыбы |
Тақырып 15.2.1. Цилиндр көлемі. |
|
|
Сілтеме |
|
|
|
Педагог |
Әбдісана Ұлбосын Әбдісанақызы |
|
|
Сабақтың түрі |
тәжірибелік |
Күні: |
|
Жалпы мәліметтер |
Курс 1 |
Топ: |
|
Мақсаты (оқу нәтижесі) |
( барлығына 6 сағат берілді, соның ішінде цилиндрдің көлеміне 2сағат берілген. 2-сағатына алынды)
|
|
|
Міндеттері |
1)
Цилиндр көлемін табу формуласын қолданады; |
|
|
Күтілетін нәтижелер |
1)
Цилиндр көлемін табу
формуласын есептер шығаруда
пайдаланады. |
|
|
Ойлау дағдыларының деңгейі |
Қолдану |
|
|
Керекті ресурстар |
Слайд плакат, есептер Геометгия 10- сынып, авторы В.А Смирнов, Е.А Тұяқов слайдтар Интерактивті тақта. Маркер |
|
Сабақтың барысы:
|
Уақыты |
Педагогтің іс-әрекеті |
Білім алушының іс-әрекеті |
Бағалау |
Ресурстар |
|
І.Кіріспе бөлім Ұйымдастырушылық кезеңі 1- минут
|
1.Білім алушылармен амандасу, түгендеу. 2.Ынтымақ тастық атмосферасын қалыптастыру
1.Оқытушы білім алушыларды түгендейді. 2.Амандасады және тілектерін білдіреді. |
1.Білім алушылар мұғаліммен амандасады. 2. Сабаққа дайындалады. Мақсаты: Білім алушылар бір-біріне тілек білдіреді, тыңдау дағдыларын дамытуға бағытталады, сондай-ақ барлық білім алушылар қатыстырылуы арқылы сабаққа белсенділігі артады. |
Білім алушылардың белсенділігі үшін «Жарайсың!», «Керемет!» деген сақтау сөздерімен бағалайды. Тиімділігі: Білім алушылар бір-біріне тілек айту арқылы жақындасады, көңіл-күйін көтереді және бауырмалдығын оятады. Саралау: Бұл жерде саралаудың «Жіктеу» тәсілі көрінеді. Білім алушылардың оқуға деген қызығушылығын арттыру мақсатында мүмкіндігінше оларға таңдау еркіндігі беріледі. |
Оқулық, жұмыс дәптері Кітап, дәптер, қалам суреттері бейнеленген қима қағаздар топтамасы ДК экраны |
|
2-минут |
Үй тапсырмасын тексеру «Броундық қозғалыс» №25.3 . -Үйге берілген есепті оқытушы тексереді жауабын келесі балаға айтады. №25.3 Жауабы:V2˃ V1 екіншісі үлкен |
Білім алушы жауаппен салыстырып, бір-бірінің тапсырмаларын тексереді |
Білім алушылардың белсенділігі үшін «Жақсы!», «Тамаша!» деген сақтау сөздерімен бағалайды. Сонымен қатар 49-100баллдық жүйе бойынша білім алушылардың сабаққа қатысу белсенділігі бойынша бағаланады. |
Интерактивті тақта 11-сынып оқулығы авторы В.А Смирнов, Е.А Тұяқов |
|
1-минут |
Топқа бөлу: « Асық» әдісі 1-топ . Шар 2-топ. Цилиндр 3-топ. Конус |
Әр түрлі түске боялған асықты алып топқа бөлінеді.
Қызыл түс Шар Жасыл түс Цилиндр Көк түс Конус |
Топқа бөлудің мақсаты сатылап білім шыңына шығару |
|
|
І І. Негізгі Бөлім 2-минут |
(Ұ) «Миға шабуыл» әдісі арқылы өткен тақырыпты еске түсіру мақсатында ой қозғау сұрақтарын ұжымдық талқылау. Білім алушыларға жалпылама төмендегі сұрақтар беріледі. Сұрақтар: 1.Цилиндр дегеніміз не? 2.Цилиндрдің көлемін қалай табамыз? Ц |
...Білім алущылар сұрақтарға жауап беріп, өзара ұжымдық талқылау жасағаннан кейін мұғалім білім алушыларға сабақтың тақырыбы, мақсатымен таныстырады. Мақсаты: Жылдам әрі функционалды түрде сыни ойлануды дамыту. Тиімділігі: білім алушының танымдық дағдысы артады. Сонымен сабақтың тақырыбы мен мақсатын анықтауға мүмкіндік береді. |
Саралау: Бұл жерде саралаудың «Диалог және қолдау көрсету» тәсілі көрінеді. Дұрыс мағынада жауап беруге бағыттау мақсатында білім алушыларға ашық сұрақтар қойылады. Орындау қадамдары: 1. Әр білім алушы өз ойымен бөліседі. 2. Өзгенің пікірін толықтырады. 3. Дәптерінде орындайды Өз ойын дұрыс мағынада білдіріп, талқылауға белсенділікпен қатысқан білім алушыға «Жарайсың!» деген мадақтау сөзімен ынталандыру |
. 11-сынып оқулығы авторы В.А Смирнов, Е.А Тұяқов Итерактивті тақта |
|
12-минут
|
3-топқа 1-тапсырма беріледі «Карусель »- әдісі І топқа: №25.13 Цилиндр бүйір бетінің жазбасы –қабырғалары 1см және 2см болатын тік төртбұрыш. Цилиндрдің көлемін табыңдар.
Барлық топқа берілген есептің жауабын есептеп шығарғанан кейін дұрыс жаупты топтарға ұсынады.
ЕБҚететін білім алушыға көмек көрсету қадағалауда болады үлкен шрифпен «Жалғасын тап» әдісі бойынша берілген тапсырманы көшіріп жазады. Белсенді білім алушының қасына отырады. |
Берілген тапсырманы талдайды ортаға салады пікірлерін білдіріп ақылдасады.Есепті шығарады. Бір білім алушыны келесі 2-топқа жібереді.Шығарған өз есептерін 2топқа түсіндіреді. 2-ші топтан бір білім алушы 3-топқа түсіндіреді. |
«Мадақтау сөз» әдісі арқылы бағалайды «Жарайсың! » «Жақсы!» «Өте жақсы!» «Талпын!» Орындау қадамдары: 1.білім алушылар осындай жағдайларды қарастыруы қажет: жазбаның бір қабырғасы цилиндрдің табынында жататын шеңбердің ұзындығы, ал биіктігі жазбаның 2-ші қабырғасының ұзындығына тең болады. Бұдан 2 πR =2 теңдеу құрастырады. 2.Одан R=1/ π V формуласын пайдаланып көлемін табады. Есептің мазмұнын түсінеді. Дәптерге цилиндрдің сызбасын салады. Жауабын анықтайды. |
Интерактивті тақта 11-сынып оқулығы авторы В.А Смирнов, Е.А Тұяқов 151 бет. Жұмыс дәптерлері. Слайд. 2-ші 3-ші топтың есептері Қосымша №1 де. Кеспе қағаз. |
|
12минут |
«Плакаттар сөйлейді» әдісі Жұптық жұмыс. Функционалдық сауаттылыққа арналған тапсырма беріледі. 1жұпқа №2 Биіктігі 6м негізнің диаметрі 2м болатын цилиндр тәріздес цестернада қанша жанар май бар?
2жұпқа №3 Цилиндр тәріздес канистір жанар майының деңгейі 16-см-ге тең. Осы жанар майды диаметрі бұл ыдыстан 2есе үлкен болатын екінші ыдысқа құйса, онда жанар майдың деңгейі қандай биіктікте болады?
ЕБҚ ететін білім алушыларға көмек көрсетіп үздік білім алушыны қасына отырғызып көмектесуіне ықпал жасаймын.Үлкен шрифта тапсырманы жазып беремін. Қадағалауға аламын |
4 топтағы барлық білім алушы отырған топтарында 1ші, 2шіге саналып қайта жұпқа бөлінеді. 1-жұп 2-жұп болып. «Плакаттар сөйлейді» әдісі тапсырма бойынша өз ойларын ортаға салып талқылайды , пікірлерін білдіріп талдау жасайды, плакатқа есептің шешімін жазады,плакаттар көшірілумен келесі топқа таныстырылады |
Есеп мазмұнын түсінеді. 1.Цилиндр тәріздес цестрнаның сызбасын салады. 2. Көлемін есептеу формуласын қолданады. 3.Көлемін есептейді Жауабын анықтайды. ЕБҚ ететін бала цилиндрдің сызбасын салады. Есепті көшіріп жазады. . |
11-сынып оқулығы авторы В.А Смирнов, Е.А Тұяқов Жұмыс дәптерлері. Слайд Қосымша №2 Кеспе қағаз.ҰБТ-ға арналған тест жинағынан , |
|
2минут |
Сергіту сәті «Нейрожаттығу» Екі қолдың бір мезгілде қозғалысы екі жарты шарды бірден белсендіреді. Көрнекі-кеңістіктік координацияның дамуына ықпал етеді, көзбен қолдың жұмысы синхроналды, көрнекі қабылдау дағдылары бекітіледі.Психикалық белсенділікті және өнімділікті арттырады. Бұл дағдылардың барлығы білім алушыға алған білімді тез меңгеруге көмектеседі. |
Білім алушы нейрожаттығуды жасайды. |
|
https://youtu.be/fVp16K90gSU |
|
10минут |
Жеке жұмыс
3-тапсырманы орындатады, бақылайды, мысал, үлгі көрсетеді.1-есеп №25.10 есеп 14.2-суреттегі цилиндрдің табанының радиусы 2см-ге, ал жасаушысы 3см-ге тең. Осы цилиндрден екі жақты тік бұрыш жасап, қиылып алынған бөлігінің көлемін табады Қосымша 3 да беріледі.
ЕБҚететін білім алушыларға ақпаратты шағын бөліктерге бөліп ұсынамын. көмек көрсету жақсы оқитын білім алушының қасына отырғызамын. Үлкен шрифпен беремін |
Әр білім алушы берілген есепті шығарады. Тақтада көрсетілген тапсырма жауабы бойынша тексереді. |
Мадақтау сөз» әдісі арқылы бағалайды «Жарайсың! » «Жақсы!» «Өте жақсы!» «Талпын!» Орындау қадамдары: 1.Есеп мазмұнын түсінеді. 2.Қиылып алынған бөлігінің көлемін табады. 3.Жауабын анықтайды. Жауап беруіне байланысты. 49-100баллдық жүйе бойынша білім алушылардың сабаққа қатысу белсенділігі бойынша бағаланады.
ЕБҚ ететін білім алушыға қасына барып Жарайсың! » «Жақсы!» «Өте жақсы!» «Талпын!» қолдау көрсетемін. |
Интерактивті тақта Қосымша 3 Кеспе қағаз. 11сынып оқулығы |
|
Қорытынды 1-мин |
Үй тапсырмасы №25.15 |
Дәтерлеріне оқулықтан 151-беттегі №25.15 есептің берігенін жазып алады. |
|
11-сынып Геометрия оқулығы 151-бет |
|
Ой толғаныс. Рефлексия 2 мин. |
«Еркін микрофон» әдісі. Мұғалім сабақты қорытындылау мақсатында білім алушылардың сабаққа деген көзқарасын, рефлексиясын тыңдайды. Мақсаты:Білім алушы алған білімін саралай білуге дағдыланады. Тиімділігі: Тақырып бойынша Білім алушылардың пікірін анықтайды. Жинақталған деректердің құнды болуын қадағалайды. Саралау: Бұл кезеңде саралаудың «Қорытынды» тәсілі көрінеді. |
Білім алушылар бүгінгі сабақтың мақсатына жеткізетін тапсырмалар орындауына қарай, өз түсінгенін, пікірін, өз ойын айту арқылы сабаққа қорытынды жасайды. |
Мұғалім білім алушыларды «Жапондық бағалау» әдісі арқылы бағалайды. Яғни «Дұрыс келісемін», «Толықтырамын, басқа көзқарасым бар», «Менің сұрағым бар. |
|
Қосымша-1 №25,13
|
Берілгені
b=2см т/к V-? |
Шешуі :
h=BD= V=h*S0=
1*
R= SO= h=BD= V=h*S0=
2* Жауабы:
V=
|
№ 25,24
|
Берілгені
|
Шешуі :
SOA= SOА=
SOВ=
SAB=SOB- SOА=100
V=
m=S·V=7,5-7200 Жауабы: m=162кг |
|
m=? |
|
|
|
|
№25.13
Цилиндр бүйір бетінің жазбасы –қабырғалары 1см және 2см болатын тік төртбұрыш. Цилиндрдің көлемін табыңдар.
ІІ топқа:
№25.8 Тіктөртбұрышты a және b -ға тең қабырғалары жақтан түзулерден айналдырғанда екі цилиндр пайда болады. Осы цилиндрдің көлемдерінің қатынасын табыңдар.
ІІІ топқа:
№25.24
Шойын құбырының ұзындығы 2м, алсыртқы диаметрі 20-см ге тең. Құбыр қабырғасының қалыңдығы 2см (25,6 сурет)Егер шойынның тығыздығышамамен 7,5г/см3 болса құбырдың салмағын табыңдар. Жауабын килограммен беріңдер (π ͌ 3деп алыңдар.
Қосымша-2
1жұпқа №2 Биіктігі 6м негізнің диаметрі
2м болатын цилиндр тәріздес цестернада қанша жанар май бар?
2жұпқа №3 Цилиндр тәріздес канистір жанар майының деңгейі 16-см-ге тең. Осы жанар майды диаметрі бұл ыдыстан 2есе үлкен болатын екінші ыдысқа құйса, онда жанар майдың деңгейі қандай биіктікте болады?
|
Берілгені
H=6см
|
Шешуі
:
R= V= Жауабы:
6 |
|
V=? |
|
|
|
|
Қосымша 3 №3-тапсырманы орындатады, бақылайды, мысал, үлгі көрсетеді.1-есеп
№25.10 есеп 14.2-суреттегі цилиндрдің табанының радиусы 2см-ге, ал жасаушысы 3см-ге тең. Осы цилиндрден екі жақты тік бұрыш жасап, қиылып алынған бөлігінің көлемін табады
|
Берілгені R=2cм
h=6см
|
Шешуі
:
R= h=3см V= Жауабы:
Vб=3
|
|
Vб=?
|
шағым қалдыра аласыз
илиндрдің көлемі оның
табанының ауданы мен биіктігінің көбейтіндісіне тең болады: Vцил. =
S·h = πR 2 ·h,
(1) мұндағы S – цилиндрдің табанының ауданы, R - табанының радиусы,
h - цилиндрдің биіктігі.











·
·36















