Мазмұны:
Кіріспе........................................................................................................3-4
1. Өрттің шығу салдары...........................................................................5-8
1.1 Электр энергетикасы объектілеріндегі өрттердің даму
ерекшеліктері...........................................................................................8-14
2.Объектілердің жедел-тактикалық ерекшеліктері.............................15-18
2.1 Электр қондырғыларында өртті сөндіру тәсілдері мен
құралдары................................................................................................18-25
3. Өртті сөндіру.......................................................................................26-28
3.1 Электр қондырғыларында өртті сөндіру ерекшеліктері..............28-31
Қорынтынды............................................................................................32-33
Пайдаланылған әдебиеттер....................................................................34
Кіріспе
Халық шаруашылығының барлық салаларында электр энергиясын тұтынудың қарқынды өсуі электр қондырғыларының өрт қауіпсіздігін арттыруға үнемі назар аударуды талап етеді.
Статистикаға сәйкес, электр қондырғыларынан шыққан өрттер бүкіл ел бойынша жалпы санның шамамен 28% құрайды. Кейбір жағдайларда өрттер адамдардың өлімімен немесе жарақаттануымен бірге жүреді.
Электр станцияларында, өнеркәсіптік және ауылшаруашылық кәсіпорындарының энергетикалық қондырғыларында пайда болатын өрттердің зияны әдетте айтарлықтай. Сонымен, жылу электр станцияларының бірінде өрт болды және тек кабельдік коммуникациялар зақымдалды. Тікелей шығын бірнеше ондаған мың рубльді құрады. Алайда, бірқатар кәсіпорындарды энергиямен жабдықтаудың бұзылуына, Жабдықтардың тоқтап қалуына және өнім шығарудың қысқаруына байланысты шығындар бірнеше жүз мың теңгеден асты.
Статистикаға сәйкес энергия объектілеріндегі өрттер келесідей бөлінеді:
жылу электр станцияларында-52 %;
қосалқы станцияларда-43 % және гидроэлектростанцияларда-5 %
Өрттер мен өрттердің пайда болған жеріне олардың таралуы мынадай түрге ие: трансформаторлар мен реакторлар 43 %
Отын және отын беру қоймалары, шаң дайындау қондырғылары 25 %
Электр машиналары (генераторлар, гидрогенераторлар, синхронды компенсаторлар) 16 %
Кабельдік құрылыстар 9 %
Электр станциялары мен қосалқы станциялардың өзге де құрылыстары 7 %
3
Бұл ірі энергетикалық объектілердегі өрттердің алдын алу және оларды сөндіру мәселелеріне көбірек көңіл бөлу қажеттігін растайды. Электр қондырғыларынан шығатын өрттердің көпшілігінің алдын алуға болады және егер қызмет көрсетуші персонал (әсіресе электр цехтарының қызметкерлері) электр жабдықтарының өрт қауіптілігінің ерекшеліктерін және туындаған өртті (жануды) сөндіру бойынша іс-қимыл тәртібін білсе, олар келтіретін залалды барынша азайтуға болады.
Кітапта арнайы әдебиеттердегі мәліметтер, ғылыми-зерттеу жұмыстары, өрт статистикасы негізінде электр жабдықтарының өрт қауіптілігінің кейбір аспектілерін және оны пайдалану кезінде туындайтын өрттерді сөндіру ерекшеліктерін жүйелі және оқырмандардың кең ауқымы үшін қол жетімді түрде көрсетуге әрекет жасалды. Ірі энергетикалық нысандардағы өрттерді сөндіру мәселелеріне де назар аударылды.
Өрттің пайда болуының негізгі ұғымдары, терминдері мен шарттары
Үлкен рөлі оқығанда және практикалық мәселелерді шешуге өртке қарсы ойнайды ұғымдар мен анықтамалар, өйткені олар мүмкіндік береді әр түрлі мамандарға сөзсіз мәнін түсіну процестерді жану кезінде заттарды және оларды сөндіру, сондай-ақ өрт қауіпсіздігі ережелерінің талаптарын.
Жану-бұл жылу шығарумен және жарық шығарумен бірге жүретін тотығудың химиялық реакциясы..
Өрт — бақылаусыз жану, дамып келе жатқан уақыт және кеңістікте.
Өртеніп, өрт — бақылаусыз жану тыс арнайы ошақтың келтірмеген, материалдық шығын келтірген.
Өрт қаупі-салдарымен бірге жүретін өрттің туындау және (немесе) даму мүмкіндігі.
4
1. Өрттің шығу салдары
Тергеу өрттің себептері бағытталған іс — әрекеттер анықтау мән-жайлар туындаған бақылаусыз жану дамыған содан кейін өрт шықты. Бұл әрекетті қамтиды өрт ошағын анықтау (орнын бастапқы пайда болған жану), тұтану көзінен және ықпал ететін жағдайларды дамытуға және таратуға әкеп соғады. Өрттің себебін тергеу өрттің осындай жағдайларын болдырмауға бағытталған іс-шараларды әзірлеумен аяқталуы керек.
Жану дегеніміз-физикалық және химиялық процестердің жиынтығы, олардың негізі жылудың едәуір мөлшерін шығарумен және жарық шығарумен бірге жүретін тез жүретін Тотығу реакциясы болып табылады. Көптеген өрттердің негізінде жану жатыр реакциялар қосылыстар жанғыш заттардың ауа оттегімен және, пиротехникалық бұйымдар, және кейбір басқа да материалдар, жану үшін оттегі есебінен ұсталатын молекуласындағы жанғыш заттар, немесе оттегі . Қарқындылығы жану тәуелді агрегаттық жай-күйі көрсетілген жанғыш заттар.
Ұнтақтау дәрежесі немесе шашырау дәрежесі жоғарылаған сайын заттардың жанғыштығы артады. Сонымен, магнийдің бір бөлігі ашық оттан тұтануы қиын. Ұнтаққа айналған дәл сол бөлік жарылыспен жанып кетеді.
Жану тек жанғыш затты тотықтырғышпен және тұтану көзімен біріктіргенде ғана емес, басқа жағдайларда да пайда болуы мүмкін.Gorenje. Үшін ағу жану процесін ауада қажет жанғыш зат, оттегі (ауа) және тұтану көздері. Жанғыш зат пен оттегі — әрекеттесуші заттар-жанғыш жүйені құрайды, ал тұтану көзі ондағы тотығу реакциясын тудырады. Тұрақты жану кезінде тұтану көзі реакция аймағының жылуы болып табылады.
Жалпы жағдайда пайда болу шарттары, жану болуы мүмкін бөлінген екі топ: қажетті және жеткілікті. Қажетті жағдайлар-жанғыш заттың,
5
тотықтырғыштың және тұтану көзінің болуы. Алайда, осы шарттардың сақталуын бұл жану туындайды. Мысалы, тұрғын үй пәтерінде бар жанғыш заттар (жиһаз, киім ч т. б.), тотықтырғыш (оттегі, ауа) және негізгі от көзі (от, газ плитасы, от, темекі және т. б.), бірақ, әдетте, жану пайда болмайды.
Жеткілікті шарттар — бұл бір мезгілде совмещение жанғыш заттар, жану көзінің және окислителя, сондай-ақ үздіксіз түсуі окислителя жану аймағына алып тастау және одан жану өнімдері. Бұл жағдайлардың рөлі мен маңызы жанғыш заттардың физика-химиялық сипаттамаларына, тұтану көзінің энергетикалық сипаттамаларына, тотықтырғыштың табиғатына және басқа факторларға байланысты.
Әдетте, өрттің пайда болу процесі адамдардың бір-бірімен байланысты әрекеттерінің нәтижесі болып табылады. Неліктен өрттің пайда болуын адамдардың іс-әрекетімен байланыстыру керек? Шындығында, бір жағынан, адам өрттің алдын ала алады, ал екінші жағынан, барлық дерлік өрттер оның қызметіне байланысты.
Тәжірибе көрсеткендей, өртке мыналар әкеледі: техникалық, ұйымдастырушылық және басқа да әрекеттер, олар адал қате түсінік шеңберінде өрт қауіпсіздігі талаптарын ескермейді, бұл тек кейінгі тергеу барысында белгіленеді; өрт қауіпсіздігінің белгілі және түсінікті ережелерін орындауға немқұрайлы қарау.
Адал қате түсінік аясында өрттің пайда болуына жағдай жасау, әдетте,:
- технологиялық процестердің, агрегаттардың, операциялардың, заттар мен материалдардың және т. б. өрт қаупі туралы ақпараттың болмауы.;
- өрт қауіпсіздігі мәселелерінде жұмыстарды орындау тапсырылған адамның қабілетсіздігі.
Өрт қауіпсіздігінің белгілі және түсінікті ережелерін орындауға немқұрайлы қарау, бұл өрттің пайда болуына жағдай жасауға әкеледі, көбінесе түрінде көрінеді:
- Еңбек және өндірістік тәртіптің болмауы немесе төмен деңгейі;
6
- мемлекеттік өрт қадағалау талаптарын орындаудан жалтару;
- объектінің өрт қауіпсіздігіне тікелей жауапты тұлғалардың төмен талабы.
Өрттің пайда болуына жағдай жасайтын себептердің жоғарыда аталған бөлінуі абсолютті дәлдікті талап етпейді, бірақ адал ниетті алдауды қасақана, техникалық сауатсыздықты тәртіпсіздіктен, немқұрайлылық пен ерік-жігерді абайсыздықтан және т. б. ажыратуға мүмкіндік береді.
Өрттің пайда болуына жағдай жасауға әкелетін адамдардың іс-әрекеті нақты нені білдіреді? Бұл сұраққа жауап іздеу керек келтірілген анықтау, өрт, өйткені туындауы басқарылмайтын жану болып табылады соңғы сатысы процестің үшін жағдай жасау, өрттің туындау барысында жүргізілетін совмещение жанатын және тұтану көзінен.
Демек, қойылған сұраққа алады: кез келген қызмет соқтыратын жинақтау, орналастыру және қолдану жанғыш мұндай түрін, санын және сапасын, қашан кездейсоқ енгізу тұтану көзінен жүргізеді туындауына басқарылмайтын жану, немесе пайдалану ережелерін бұза отырып пайдалану, техникалық ақаулы немесе тыйым салынған жылу энергиясы көздерінен) міндетті түрде жүргізеді туындауына тұтану (өрт).
Үй-жайларды жылыту үшін үйдегі жылу шығаратын қондырғы пайдаланылды. Объектінің әкімшілігі қызмет көрсету үшін осы жұмысқа дайындалмаған адамдарды тартты. Өртті кезекші Жылу генераторы паллетіндегі солярка жанып тұрған кезде анықтады. Қондырғыны өшірмей және өрт сөндіру бөлімін шақырмай, ол отты құммен сөндіре бастады, бірақ сәтсіз болды. Біраз уақыттан кейін өрт жабынға жетіп, электр жабдықтарының қоймасын, вулканизацияны жауып, жабынға шықты. Басынан шамамен бір сағат өткен соң, 1600 м2 алаңдағы бекеттер блогы ғимаратының біріктірілген жабыны құлады, ал тағы жарты сағаттан кейін 620 м2 алаңда қайта құлау болды. Өртті сөндіру шамамен 5 сағатқа созылды.
7
Объективті және субъективті себептерге байланысты электротехникалық себептерден болатын өрттердің саны жыл сайын орта есеппен 2,7% - ға артады.
Өрттің салдары көбінесе олардың таралуына ықпал ететін немесе сөндіруге кедергі келтіретін себептер мен жағдайларға байланысты. Статистикалық мәліметтерге сәйкес, өрттің кеш хабарлануына байланысты өрттің таралуы шамамен 48% құрайтыны белгілі, ал өрт сөндіру бөлімшелері келгенге дейін сөндіру шараларын қолданбау нәтижесінде — шамамен 4 % - бұл адамдардың (әсіресе электр жабдықтарына қызмет көрсетумен айналысатындардың) өртті анықтау және сөндіру кезіндегі іс-қимылдардың реттілігін білу қажеттілігін көрсетеді. Осыған байланысты өртті сөндіру тәсілдері мен құралдары туралы қажетті ақпарат алу маңызды.
1.1 Электр энергетикасы объектілеріндегі өрттердің даму ерекшеліктері
Қазіргі заманғы өнеркәсіптік кәсіпорындар электр станциялары мен жабдықтарының жоғары энергия сыйымдылығымен сипатталады. Мысалы, ірі Металлургиялық зауыттардың бірі оннан астам төмендететін қосалқы станцияларды қуаттайды, олардан 100 мыңға жуық электр қозғалтқыштары мен трансформаторлар жұмыс істейді. Кабельдік туннельдер мен жартылай қабаттардың жалпы ұзындығы бірнеше ондаған шақырымды құрайды.
Электр станцияларында кездесетін жанғыш заттар мен материалдардың ішінде мыналарды атап өтуге болады: авариялық Электр станцияларына арналған дизель отыны, гидравликалық май, майлау майлары (мысалы, турбиналық мойынтіректерді салқындату және майлау үшін), трансформатор майы, генератор роторын салқындатуға арналған сутегі, жанғыш сүзгі материалдары (көмір), электр кабельдерін оқшаулау, құрылымдық материалдар пластмасса негізінде және т. б.
Турбогенераторларды сутегімен салқындату, мысалы, сыйымдылығы 2500 м3 дейінгі сутегі батареяларын орнатуды қарастырады (1q5 Па қысымы
8
мен 0С температурада). Генераторлар мен байланыстырушы құбырлар сутегімен толтырылып, инертті газбен ағызылады. Жүйеде бірқатар қауіпсіздік құрылғыларының болуына қарамастан (желдетуге арналған құрылғылар, қысым реттегіштері және т.б.) сутегі турбиналық залға ене алады деп санау керек. Сутектің жарылуы майлау майының жануына әкелуі мүмкін.
Электр станциясының ғимараттарындағы өрттерді талдаудан машина залдары мен қазандықтарда өрттің таралуы әдетте өте тез жүретінін көруге болады. Бұл қарқынды жануымен майы (машиналық залдарда), мазут, дизельді отын және басқа да жанғыш сұйықтықтарды (қазандық), орналасқан ыстық немесе қыздырылған күйінде. Өрттің тез дамуы температураның қарқынды көтерілуіне, металл конструкцияларының сыни температурасына дейін жылынуына және жабынның құлауына әкеледі.
Сонымен. электр станцияларының бірінде өрт болған кезде металл фермалар мен машина залының үстіндегі темірбетон жабыны өрт шыққаннан кейін 11 минуттан кейін құлады. Жабын конструкциялары құлаған кезде қымбат, бірегей жабдықтар, турбогенераторлар, май құбырлары және т.б. істен шығарылады.
Кабельдік қондырғылардың өрт қаупін бағалай отырып, сымдар мен кабельдерді өру және оқшаулау үшін қолданылатын материал ретінде поливинилхлорид жиі қолданылатынын атап өткен жөн, ол қызған кезде сутегі хлоридін шығарады.
Көлденең құрылымдардың саны туннельдің немесе кабельдік бөлменің биіктігіне байланысты және 2 м биіктікте 8-10 болады. Осыған байланысты туннельдегі кабельдердің жалпы саны құрылымдардың екі жақты орналасуымен 65-80, ал бір жақты 32-40 болуы мүмкін. Кабель ағындары қиылысатын жерлерде туннель учаскесіндегі кабельдер саны едәуір артады. Бұл бөлмелердің меншікті жанғыш жүктемесі 25-40 кг / м2 құрайды.
Өрт кезінде кәбілдік үй-жайларда бастапқы кезеңінде жүреді баяу
9
дамуы жану және тек біраз уақыт өткен соң, оның таралу жылдамдығы айтарлықтай артады. Тәжірибе көрсеткендей, кабельдік туннельдердегі нақты өрттерде 600 °C және одан жоғары температура байқалады. Бұл нақты жағдайларда ұзақ уақыт бойы ток жүктемесінде болатын және оқшаулауы ішінен 80 °C және одан жоғары температураға дейін қызатын кабельдер жанатындығына байланысты.
Кейде бірнеше жерде және айтарлықтай ұзындықта кабельдердің бір мезгілде тұтануы байқалады. Бұл кабель жүктеме астында болғандықтан және оның оқшаулауы өздігінен тұтану температурасына жақын температураға дейін қызады.
Кабельдік үй-жайларда өрттер негізінен қысқа тұйықталу (қысқа тұйықталу), оқшаулаудың электрлік бұзылуынан немесе оның қызып кетуінен болады. Өрттің өршуіне себепші болуы жанғыш оқшаулау және оны қыздыру жұмыс тоқтарымен, сондай-ақ болса, жабық люктер далдалардағы туннельдер кедергі шығу жану өнімдері, олар жойылады арқылы ғана желдеткіш саңылаулар торцах туннельдер (бөлік). Қозғалыс кезінде жану өнімдерінің бойымен кәбіл жүреді қыздыру оқшаулау әкеледі күрт жылдамдығын арттыру, жану.
Бақылау кабельдерінің үй-жайларында, әдетте, шамадан тыс жүктемеден және қысқа тұйықталу токтарынан қорғалмаған жедел ток желілері салынады. Зақымдалуы кезінде және ҚТ мұндай желі бір мезгілде дерлік бүкіл ұзындығы бойымен кабельді онда көптеген жану ошағы мен өрт тез тарайтын басқа да үй-жайлар немесе қондырғы орналасқан, тіпті қашықтықта орын бастапқы пайда болған жану.
Мұнай толтырылған құбырлардағы кабельдері бар кабельдік үй-жайлардағы өрттердің дамуы газ алмасудың тең жағдайларында ауа төсемінің кабельдеріне қарағанда анағұрлым қарқынды жүреді. Туындаған, бұл майы құбырларда орналасқан температурасы 35-40°С қысыммен және қымтау кезінде құбырлар растекается көбейтіп, көлемі мен жану
10
температурасы, үй-жайда.
Туннельдердегі өрттер көбінесе электр желісінің басқа учаскелерінде: басқару пульттерінде, тарату құрылғыларының (ТҚ) ұяшықтарында, трансформаторлық блоктарда тұтану көздерінің (ҚТ токтарының өтуі) пайда болуына әкеледі, бұл жаңа өрт ошағының себебі болуы мүмкін.
Тәжірибелер зерттеу жағдайларын, таралу кәбіл құрылыстарында, қазіргі сжигались кәбілдер әр түрлі оқшаулаумен, сыртқы жамылғысының және онсыз, соның ішінде бақылау кәбілдері және байланыс кәбілдері көрсеткендей, бастапқы сатысында жану кабельдер бір мезгілде қар жаууы дымовыделенинм жүреді өсуі температура. Бұл кабельдер сіңдірілген мастика мен материалдардың (битум, шайыр) еруіне әкеледі.
Балқытылған және жанатын масса төмендегі кабельдерге ағып кетеді, олардың оқшаулауы да жанғыш. Кабельдердің өткізгіш өткізгіштері жалаңаш болады, бұл қосымша қысқа тұйықталуға және жаңа өрт ошақтарының пайда болуына әкеледі.
Өрттің дамуына 8-12 кг жанғыш оқшаулағыш массасы бар байланыстырушы муфталар үлкен әсер етеді. Эксперименттер кезінде оның балқуы, тұтануы және 3-5 м қашықтыққа шашырауы байқалды, бұл өрттің таралуына ықпал етті.
Іс-тәжірибемен деп кабельдер жанған жағдайда, төселген қабырғалары арналған тіреуіштерде, температура астында жабынының арқылы 8 мин километрге жетті 600 °С, ал 9-12 мин — 800 °С Кезінде оттың таралу жылдамдығы тік бағытта байланысты, арасындағы ара қашықтық кронштейнмен, олар салынуы кабельдер құрайды 0,45—0,5 /мин., ал көлденең— 0,18—0,35 м/мин Жылдамдығы бойынша таралу алаңы орналасқан аралықтағы 0,08—0,17 м2/мин.
Өрттің электр станцияларының машина залдарында тәуелді сипаттағы туындаған жану (тұтану бу май, жарылыс және т. б.). Жарылыстар кезінде өрттер ең қарқынды дамиды, көршілес генераторлардың, турбиналардың
11
жүйелеріне көптеген ошақты зақым келген кезде, нәтижесінде салқындату жүйесінен сутектің шығуы, майдың таралуы, жедел ток желілерінде қысқа тұйықталу, бақылау және қуат кабельдерінің пайда болуы мүмкін. Ғимараттың қоршау құрылымдарының құлауы мүмкін.
Апат кезінде жанған май ақпарат болуымен күрделенеді май саңылаулары арқылы қосымша ойықтар растекается арналған нижерасположенные белгі кабельдік каналдар, туннельдер және полуэтажи. Жалында басқа блоктардың май құбырлары бар май ыдыстары бар. Бұл ретте түтіннің көп мөлшері бөлінеді, бұл көбінесе кезекші персоналға жедел сөндіру жоспары бойынша барлық қажетті операцияларды жүргізуге және басқа агрегаттарды тұрақты бақылауды қамтамасыз етуге мүмкіндік бермейді.
Жағдайдың күрделілігіне жану кезінде майдың ерекшелігі, май жүретін құбырлар, сорғылар орналасқан нөлдік белгіде, онда жану растекающегося май, ал генераторлары және турбина барлық аспаптарымен бақылау және басқару жоғары тұр нөлдік белгі, т. е. әрекет ету аймағында түтін мен жалынның. Өрттің аудан бойынша таралу жылдамдығы 25 м2/мин жетуі мүмкін.
Электр станцияларында қолданылатын заттардың ішінде ең өрт қаупі турбиналық және трансформаторлық майлар болып табылады. Трансформаторлардағы өрттердің дамуы негізінен олардың пайда болу себептеріне және трансформатор корпусының мінез-құлқына байланысты. Өзектің жергілікті қызып кетуімен жану әдетте жану сипатына ие және ұзақ уақытқа созылуы мүмкін.
Мұндай өрттің белгілері-газ релесінің камерасындағы газдардың бөлінуі, сондай-ақ трансформатордың шуы. Дер кезінде ажыратылған трансформатордың жүреді ҚТ және жануды орамаларындағы. Табуға болады, бұл шығу бойынша жану өнімдерінің бірі консерватора, бұзылуына сақтандырғыш мембраналар.
12
Жоғары кернеулі орамадағы және қорғаныс аппараттарының уақтылы іске қосылуындағы айналмалы тесіктер мен қысқа тұйықталу кезінде ораманың жергілікті күйіп қалуы ғана байқалады. Әйтпесе, қысқа тұйықталу қуатына байланысты мембрананың, консерватордың бұзылуы және трансформатор қақпағының жарылуы мүмкін, Май сыртқа шығарылады.
Кезінде үлкен қуатты КЗ (көбінесе төменгі кернеу жағында) және ұзақ жануы жүреді бұзылуы консерватора, содан кейін трансформатордың корпусы, нәтижесінде растекающееся майы қауіп төндіретін көрші трансформаторлар мен құрылғылар.
Бөлініп шығатын түтін жағдайды қиындатады, өйткені оның қатты бөлшектер арналған ылғалды изоляторларында, төмендете отырып, олардың диэлектрлік қасиеттері әкеледі жабу изоляторлары мен білімі жаңа жану ошақтарын. Жану май трансформаторда қирауына әкеп соғатын басқа да изоляторларының, к құлдырауына ток сымдары жерге. Бұл жағдайда трансформатордың корпусы кернеуге ұшырауы мүмкін. Трансформатор корпусының жыртылуымен ең үлкен зақым кіріс немесе шығыс ток өткізгіштерінде қысқа тұйықталу кезінде болады.
Тарату құрылғыларындағы өрттер негізінен май толтырылған аппараттардың апаттарында немесе оқшаулаудың тұтануынан болады. Олардың ішінде ең өртке қауіпті: май ажыратқыштары, трансформаторлар (күш, өлшеу), реакторлар және конденсаторлар. Май қосқыштарындағы жану көбінесе ажыратқыштың ішіндегі немесе оқшаулағыш пен корпустың арасындағы өтпелі оқшаулағыштар арасында қабаттасқан кезде пайда болады. Бірінші жағдайда корпустың жарылуы мүмкін, ал екіншісінде — оның күйіп кетуі және жанып жатқан майдың төгілуі.
Ауыр зардаптары бар өрттер қазандық цехтарының негізгі және қосалқы үй-жайларында болуы мүмкін, онда қазандық отынының көп мөлшерін шоғырландыруға болады. Шаң дайындау бөлімшелерінде көмір
13
шаңының жарылуы жоққа шығарылмайды.
Мазутты негізгі немесе жанғыш отын ретінде қолданатын қазандық цехтарында мазут құбырлары зақымдалған кезде жанғыш сұйықтықтың тез таралуы және оның саптаманың жалынынан тұтануы мүмкін (мазут қысымы шамамен 3 МПа, ал температурасы 120 °С жоғары). Бұл жағдайда өрт үлкен мөлшерде болуы мүмкін, егер қорғалмаған металл конструкциялар болса, 10-20 минут ішінде олардың деформациясы, содан кейін құлауы мүмкін.
14
2.Объектілердің жедел-тактикалық ерекшеліктері.
Электр станциялары мен қосалқы станциялардың көпшілігі электр станцияларының, электр беру желілерінің, қосалқы станциялардың және ЖЭО-дан жылу желілерінің жиынтығы болып табылатын бірыңғай энергия жүйесінде жұмыс істейді, олар режимнің жалпылығымен және энергияны өндіру мен бөлу процесінің үздіксіздігімен байланысты. Электр желілері ірі өндірістік орталықтары мен үлкен қалалары бар үлкен аумақтарды қамтиды. Бір объектіде туындаған өртті уақтылы жою қалалар мен кәсіпорындарды энергиямен жабдықтауда іркілістер тудыруы мүмкін.
Қазіргі уақытта ең көп таралған жылу бу турбиналық электр станциялары болып табылады. Станциялардың орналасуы мен дизайн ерекшеліктерін өндіріс процесінің келесі технологиялық схемасы анықтайды. Отын (көмір, шымтезек, мазут немесе газ) алдын ала өңдеуден кейін (көмірді шаңға дейін ұсақтау, мазутты қыздыру) қазандық агрегатына жағу үшін беріледі. Заманауи қазандық қондырғысы жану құрылғысын, қазандықты, ауаны беретін және Шығатын газдарды соратын желдеткіштерді, буды қыздыру құрылғыларын, Отын және сумен жабдықтау қондырғыларын біріктіреді. Алынған бу механикалық энергияны электр энергиясына айналдыратын турбоагрегатқа [қуаты 220 мың кВт 12,74 МПа (130 атмосфера) турбоагрегаттағы бастапқы Бу қысымы) жіберіледі.

15
Сурет. 1. Жылу станциясының бас ғимаратының көлденең қимасы / - машина залы; 2-көпір краны; 3-деаэраторлық; 4 — бункер үстіндегі галерея; 5-отын бункерлері; 6-қазандық; 7—бу қазандықтары; 8-қазандықтардың іргетасы; 9-Кабельдік арналар; 10-су бұру арнасы
Жалпы іргетас тақтасына орнатылған қондырғының негізгі машиналары - бу турбинасы, үш фазалы синхронды электр генераторы және генератордың қоздырғышы. Генераторларда жабық ауа немесе сутегімен салқындату, май жағу және турбинаны реттеу жүйесі бар. Қуатты генераторларға арналған май жүйесінің сыйымдылығы 10...15 т.
Электр станцияларының ғимараттары құрама бетоннан немесе металдан жасалған қаңқасы бар жанбайтын материалдардан және металл фермалардан тұрғызылады (сурет. 92). Әдетте қазандық цехы, машина залы және қызметтік үй — жайлар бір блокқа-станцияның негізгі ғимаратына орналастырылады. Сол ғимаратта немесе одан шамалы қашықтықта басқарудың негізгі қалқаны және генераторлық кернеудің тарату құрылғысы орналастырылған; негізгі ғимараттан шағын қашықтықта жабық немесе ашық Жоғары кернеулі тарату құрылғысы (35; ПО; 220; 500 кВ) орналасқан.
Ашық және жабық тарату құрылғыларының өрт қауіпті жабдығы-Күштік және өлшеу трансформаторлары, реакторлар, май немесе ауа ажыратқыштары.
Қазіргі қуатты электр станцияларында машина залының аралығы 30...50 м, ұзындығы 200 м-ден асады, биіктігі 30... 40 м (қазандық цехының биіктігі 80 м жетеді). Елдің оңтүстік аудандарында электр станцияларының қазандық агрегаттары ашық ауада орнатылады.
Электр станцияларындағы өрттер айтарлықтай мөлшерде болуы мүмкін, әсіресе генератордың май жүйесі жарылған кезде, трансформаторлар мен май қосқыштарының жарылуы мен зақымдануы кезінде. Бұл жағдайда жанудың негізгі ошағы-төгілген және ағып жатқан май, оның мөлшері 100 тоннаға немесе одан да көпке жетуі мүмкін.Gorenje. Кабельдік жартылай
16
қабаттарда, туннельдерде, өту қораптарында және электр станцияларында желісі едәуір тармақталған қуат кабельдері бар арналарда өрттер жиі кездеседі. Мұндай өрттерде оларды басқару қалқандарына және релелік қалқандарға тарату қаупі әрқашан бар.
Кеш қабылданған сөндіру шаралары кезінде генератор орамасының жануы күрделі өрттерге айналуы мүмкін. Сутектің сутекті салқындату жүйесінен ағып кетуі немесе төтенше жағдайларда ауа жүйеге енуі өрттің орамға, кабельдерге, майлау жүйесіне таралуына әкелуі мүмкін.

Сурет. 2. Өнеркәсіптік кәсіпорынның төменгі қосалқы станциясының қуат трансформаторы мен төмен вольтты тарату қалқанының камерасы бойынша кесу
А-тарату қалқанының үй-жайы;
В-қуат трансформаторының камерасы;
1-кабель төсеуге арналған қалқан астындағы арналар;
2-төмен вольтты тарату қалқаны:
3-Тарату тақтасының негізгі шиналары;
4-ажыратқыш;
5-өту тақтасы;
17
6-желдету білігі;
7-төмен вольтты шиналар;
8-трансформатордың Қуат кабелі;
9-1600 кВ-А трансформаторы;
10-төменгі желдету саңылауы;
11-қиыршық тасты өртке қарсы тор;
12-май жинағыш.
Қазандық цехының негізгі және қосалқы бөлмелеріндегі ықтимал өрттердің сипаты оларда қазандық отынының көп мөлшерінің шоғырлануына байланысты. Шаң дайындау бөлімшелерінде көмір шаңының жарылуы жоққа шығарылмайды. Негізгі немесе қосалқы ("от жағу") отын ретінде мазут қолданылатын қазандық цехтарында мазут құбырлары зақымдалған кезде сұйықтық цехтың еденіне тез таралады, күл үй-жайына түседі және саптамалардан тұтанады [қысым шамамен 0,294 МПа (3 атмосфера), температура 120°С-тан жоғары]. Бұл жағдайда өрт бірден үлкен мөлшерде болады, ал ғимарат пен қазандық қондырғысының металл қорғалмаған тіректері 10-нан кейін...20 мин деформацияланған.
Төмен түсетін қосалқы станцияларда өрт көбінесе трансформаторларда, май қосқыштарында және кабельдік шаруашылықта болады. Ірі аудандық қосалқы станцияларда жанғыш сұйықтықтың едәуір мөлшері шоғырланған арнайы май станциялары бар. Әр трансформатор, әдетте, бөлек камераға орнатылады (сурет. 2). Алайда, суреттен өрттің осы камерадан тарату тақтасының бөлмесіне және кабельдік каналға таралуы, тіпті трансформатор жарылған кезде пайда болуы мүмкін камера қабырғаларына зақым келтірместен де жоққа шығарылмайтындығы көрінеді.
2.1 Электр қондырғыларында өртті сөндіру тәсілдері мен құралдары
Салқындатылатын жану аймағынан немесе жанып жатқан заттар; төмендеуімен жылдамдығы реакция тотығу есебінен араластыру әсер беретін
18
заттар; Оқшаулаумен жанып жатқан зат аймағы; жану химиялық тежеуді реакциялар тотығу (жану).
Аталған әдістерді іске асыруға өрт сөндіргіштер мен техникалық құралдардың үйлесімі немесе тек техникалық құралдар арқылы қол жеткізуге болады.
Жануды тоқтату үшін өрт сөндіргішті таңдау жағдайға байланысты ... Gorenje. Өртте және жанатын материалдың қасиеттерімен және жай-күйімен; өрт түрімен (ашық кеңістікте, шектеулі көлемде)анықталады:
- шарттарына жылу және газ алмасу өртте; параметрлерімен өрт (жану алаңы, температурасы және т. п );
- жануды тоқтату жөніндегі жұмыстарды жүргізу шарттарымен (мысалы, сөндіру құралдарын беруді жүзеге асыратын әк ағаштарына тікелей қауіптің болуы немесе болмауы);
Өрт сөндіру құралдарының болуы және Саны; өрт сөндіру құралының тиімділігі. Барлық өрт сөндіргіш құралдарды сипатталады кешенді әсері бар, т. е бір мезгілде жүргізеді, мысалы, салқындату жанып жатқан материалдың және сұйылту жану аймағынан. Алайда, тоқтату, жану қол жеткізіледі бірі қолданылатын тәсілі, ал қалғандары тек қана ықпал етеді тоқтату жану. Бұл өрт сөндіргіш пен жанатын материалдың қасиеттерінің арақатынасымен анықталады.
Мысалы, ауалы-механикалық көбік сөндіру кезінде тез тұтанатын сұйықтықтарды салқындатады жоғарғы қабаты, сұйықтықтың және бір мезгілде жайда оқшаулайды.
19
Байланысты негізгі процестің әкелетін тоқтату, жану, ең көп таралған тәсілдермен арасында жоғарыда аталған топтар болып табылады:
Салқындату әдістері-конденсацияланған фазаны үздіксіз су ағындарымен салқындату, бүріккіш су ағындарымен салқындату, жанғыш материалдарды араластыру арқылы салқындату;
Сұйылту әдістері - Газ және конденсацияланған фазаларды (қатты, сұйық) жұқа шашыраған су ағындарымен сұйылту, жанғыш сұйықтықтарды сумен сұйылту, жанбайтын газдармен немесе су буымен сұйылту;
Оқшаулау тәсілдері — оқшаулау көбік қабатымен әр түрлі жиілігін, оқшаулау қабатымен өрт сөндіргіш ұнтақ тәсілдері; химиялық тежеу реакциясы жану көмегімен өрт сөндіргіш ұнтақтарды немесе галоидопроизводных көмірсутектер.
Мысал ретінде салқындатқыш ретінде қолдануға болатын натрийді сөндіру әдістерін келтіруге болады. Олардың негізгілері: салыстырмалы түрде герметикалық үй-жайларда өзін-өзі сөндіру; ұнтақ құрамымен (глинозем) сөндіру; су тығыны бар науаларда сөндіру; апаттық ыдыстарға натрийді ағызу және олардағы натрийді өздігінен сөндіру болып табылады.
Салыстырмалы герметикалық үй-жайларда натрийді сөндіру азот беріліп және берілмей жүзеге асырылады. Азот сорғы станциясынан беріледі және жоғары қысымды қабылдағыштарда сақталады. Үй-жайда азотты тарату құбырлар арқылы жүргізіледі. Жүйені қосуды әдетте оператор жүзеге асырады. Натрийдің ағуы шамалы болатын үй-жайларға азот берілмейді.
Сөндіру үшін ұнтақ қосылыстары да қолданылады (алюминийдің техникалық оксиді—алюминий тотығы), олар ресиверлерден келетін азот қысымымен құбырлар арқылы беріледі. Ұнтақ натрий ағып кетуі мүмкін жерлерге жақын жерде шығарылады.
20
Паллет ішінде ауаның термиялық кеңеюі және оған металл ағызылған кезде бос көлемнің азаюы арқылы пайда болатын артық қысым паллеттің жоғарғы жағында орналасқан тесік арқылы шығарылады.
Егер натрийдің көп мөлшерін төгу мүмкін болса, оны төтенше жағдайларға төгу әдісі қолданылады.
Натрий ағызылатын үй-жайлардың едендері болатпен қапталуы мүмкін және олардың жағына еденнің еңісі орындалатын ағызу траптары болуы тиіс. Баспалдақ балқитын жабынмен және металл тормен жабылуы мүмкін.
Электр қондырғыларындағы өртті сөндірудің негізгі құралдарына, олардың қасиеттері мен қолдану салаларына қысқаша тоқталайық.
Су-ең көп таралған және тиімді өрт сөндіргіш. Жоғары жылу сыйымдылығы—4,19 Дж / (кгХград) — қалыпты жағдайда жақсы салқындату қасиеттеріне ие.
Судың термиялық төзімділігі жоғары. Тек 1700°C-тан жоғары температурада оның буы сутегі мен оттегіге ыдырайды. Сондықтан сумен сөндіруге көптеген қатты материалдарды және жанғыш сұйықтықтарды қауіпсіз, себебі температурасы кезінде жану аспайды 1300°С.
Өрт сөндірудің ең үлкен әсеріне су бүріккіш күйінде берілген кезде қол жеткізіледі. Судың беттік керілуін төмендететін суландырғыш ерітінділерін қолдану кейбір материалдарды сөндіру кезінде су шығынын 30-50% - ға азайтуға мүмкіндік береді.
Қол жеткізу үшін қажетті нәтиже сөндіру кезінде сумен, оның керек күлді жану белгілі бір қарқындылығы. Астында қарқындылығы су беру түсінеді оның саны беретін бірлігіне уақыт бірлігіне бетінің жану, м3/(м2-с). Сонымен, су беру қарқындылығы сөндіру кезінде болуы керек:
— жарқыл температурасы 28 С төмен 6-10-8-10—4 трансформаторлары 2-10-4бензин, лигроин, жеңіл мұнай және басқа да мұнай өнімдері электр
21
станцияларының жартылай қабаттары, жарқыл температурасы 60 °С және одан жоғары мазуттар 4-1С-44 Өрт сөндіру Электр энергетикасы электр қондырғысы өрт сөндіргіш.
- тұтану температурасы 120 °С 2-10-4 Жоғары Мұнай өнімдері
Көбіктердің өрт сөндіру қасиеттерінің көріну дәрежесі оларды қолдану жағдайларына байланысты. Мысалы, егер көбік сәулелі жылу ағынынан қорғау құралы ретінде пайдаланылса, онда оның беріктігі ең маңызды болып табылады. Бұл жағдайда көбіктің оқшаулау әсері бетінің бірлігіне 1 с үшін 1 см-ге тең қабат арқылы өтетін энергия мөлшерімен бағаланады. Көбікті сөндіру құралы ретінде пайдаланған кезде, Бірақ беттің жанғыш заттың булануына және көбік қабаты арқылы жану аймағына осы заттың буларының енуіне жол бермеу қасиеті үлкен маңызға ие. Жанғыш сұйықтықтарды сөндіру кезінде төмен және орташа көбіктердің оқшаулау қабілеті 1,5 — 2,5 мин, оқшаулау қабатының қалыңдығы 0,1-I м. ең үлкен өрт сөндіру әсеріне қол жеткізу үшін оқшаулау және салқындату қасиеттері барынша көрінетін көбіктерді пайдалану қажет.
Өрт сөндірудің максималды қабілетіне қол жеткізу үшін жағдай жасау шараларына жанып жатқан сұйықтықтарды сұйылту, жанып жатқан заттардың температурасын, қоршаған ортаны және т.б. төмендету жатады. төмен вольтты көбіктер негізінен бетінде сөндіріледі сұйықтықтарды сөндіру үшін көбіктер 1-ге дейін қолданылады, олардың көлемдік төсеніштері осы сұйықтықтардың көлемдік массасынан 5-50 есе аз. Мұндай көбіктер бетінде жақсы ұсталады және оған таралады, олар арқылы жанғыш булардың жарылуына тиімді қарсы тұрады және айтарлықтай салқындатқыш әсерге ие.
Жоғары көбік негізінен көлемді сөндіру, түтінді шығару, қондырғыларды жылу ағындарының әсерінен оқшаулау үшін қолданылады. Көлемді сөндіру кезінде су ағындарының көбікке әсер етуінен аулақ болу керек, өйткені олардың әсерінен ол бұзылады. Қудалау аймағына көбік жанармай қабаты, ағызу немесе ағын арқылы берілуі мүмкін. Бұл әдістердің
22
әрқайсысы шоғырланған және дисперсті беру арқылы жүзеге асырылады. Көбікті ағындармен беру ең көп таралған, бұл қабылдаудың қарапайымдылығы мен жеделдігімен түсіндіріледі. Алайда, көбіктің бұзылу қарқындылығы ең жоғары. Көбіктің бұзылу дәрежесі бойынша ағызу басқа екі әдіске қатысты аралық позицияны алады. Мәні бұл қабылдау ерекшелігі, пена из оқпандарды беріледі емес, тікелей жану аймағына ретінде беру кезінде ағынмен жіберуге немесе, ал іргелес аймағында жану беті ол сүйкімді аузынан қапал жану аймағына. Бұл жағдайда көбіктің таралу диапазоны тұтқырлыққа, төгу орнындағы қабаттың қалыңдығына, көбік генераторы тудыратын қысымға, ағынның бағытына, көбік беру қарқындылығына және көбік қозғалысының газ ағындарына сәйкестігіне, кедергілердің болуына және т. б. байланысты болады.
Ұнтақ қосылыстары электр өткізгіш емес, металдарды коррозияға ұшыратпайды және уытты емес, тек уыттылығы мен коррозиялық белсенділігі төмен SI типті ұнтақтардан басқа. Кемшілігі ОПС болып табылады олардың қабілеті слеживанию (комкованию) қиындатады сақтау, әсіресе ұзақ уақыт бойы, сондай-ақ беруге жану аймағына.
Бақылау ұнтақтың дисперсия дәрежесіне және ылғалдылығына байланысты. Ops ылғалдылығы 0,5% - дан аспауы керек. Ұнтақты қосылыстар жану аймағының беті мен көлемі бойынша сөндіріледі.Gorenje. Өртті сөндіру кезінде ӨҚҚ бетіне өрт сөндіргіш әсер жасалады, негізінен, оқшаулау жанып жатқан бетінде қол жеткізу ауаның, ал көлемдік сөндіру — қр ингибирующем әрекет ұнтақ, заключающемся да үзілген шынжыр реакция жану. Ұнтақ қосылыстары таңдамалы өрт сөндіру қабілетіне ие. Сонымен, PS типті композициялар натрийді сөндіру үшін тиімді қолданылады. PSB және PF типті ұнтақтардың жалпы мақсаты бар: олар сұйықтықтарды, газдарды, электр жабдықтарын, қозғалтқыштарды және т. б. сөндіреді.
Қажетті шарты жануды тоқтату үшін сөндіру кезінде ұнтақ беті бойынша жабу болып табылады жанып жатқан үстіңгі қабаты ОПС белгілі
23
бір қалыңдығы, әдетте аспайтын 2 см. Меншікті шығыны ОПС түріне жанып жатқан материалдың шарттарын және оның жану.
Тоқтату үшін жану кезінде көлемдік сөндіру қажет бірнеше секунд ішінде барлық аймағында жану осындай шоғырлануға ұнтақ, ол кезде бетіне ұнтақ қамтамасыз етеді талап етілетін жылдамдығы басу белсенді орталықтарының реакциялар жану. Бұл шеттетуде ұнтақ талап етілетін қарқындылығы және біркелкі, оны таратуға бүкіл жану. Мысалы, жану кезінде қр разлившемся жай-күйі (на бетонда, асфальтта сурет металда) трансформаторлық майдың меншікті шығыны ұнтақ КС құрайды 0,36 кг/м2 кезінде есеп беру уақыты сөндіру үшін 30 с.
Газ құрамдары. Энергия объектілеріндегі өрттерді сөндіру үшін газ құрамдары кеңінен қолданылды: галоидталған көмірсутектер (3,5; 7; BF-1; BF-2 және т.б.), көмірқышқыл газы, азот, су буы, сондай-ақ ұсақ дисперсті су. Аталған құрамдардың ішінен көмірқышқыл газы, азот, су буы және ұсақ дисперсті су Сұйылтатын өрт сөндіргіштерге жатады. Газ және аэрозольді сұйық бром құрамдары (көмірқышқыл газы және галоидты көмірсутектер) көптеген жанғыш сұйықтықтарды, газдарды, қатты заттар мен материалдарды (мысалы, натрийді, сондай-ақ ұзақ уақыт жануға қабілетті материалдарды қоспағанда) сөндіруді қамтамасыз етеді.
Бромды этил (С2Н5Вг) — көлемі бойынша 0,001% - дан аз концентрацияда сезілетін тән иісі бар lsgcоспарирленген сұйықтық. Бромды этил іс жүзінде пневматикалық өткізгіш, жоғары сулану қабілетіне ие, суда нашар ериді, резеңкені бұзады, алюминий мен магний қорытпаларын коррозияға ұшыратады. Этил түтіндері жақсы өрт сөндіру қасиеттеріне ие. -30 °C температурада оның буларының серпімділігі өрт сөндіру концентрациясын жасау үшін жеткілікті. Тоқтату жану бромистым этилом ретінде және кез келген басқа да галоидоуглеводородами және галоидоуглеродами, арқылы қол жеткізіледі химиялық тежеу реакциясы жану. Көлемі бойынша 6,75—11.25% концентрациясында бромды этил
24
қуатты тұтану көзінің әсерінен тұтануы мүмкін, сондықтан таза күйінде қолданылмайды. Алайда, жоғары өрт сөндіру қасиеттеріне байланысты ол 3,5 өрт сөндіру құрамындағы негізгі компонент болып табылады; РФ-1; BF-2; BM.
Хладон 114В2-ерекше иісі бар және қайнау температурасы 47 °С болатын ауыр түссіз сұйықтық; сондықтан өртті сөндіруге арналған бөлмеге Шашыратылған күйде беріледі. Өте тиімді болып табылады тежегіші жану — өрт жалын кезінде қол жеткізіледі көлемдік концентрациясы шамамен Z 70. Жаппай өрт сөндіру концентрациясы 0,215 кг / м3, жергілікті сөндіру кезіндегі үлес шығыны 0,2 кг/(м3-с). Хладон буы ауадан әлдеқайда ауыр (будың тығыздығы 8.97 кг/м3). Хладонды жоғарғы аймаққа берген кезде олар тез орналасады және бөлменің бүкіл биіктігінде өрт ошағына әсер етеді. 1 кг хладоннан 0 С кезінде 87 л бу түзіледі.
25
3. Өртті сөндіру.
Кезекші персоналы бар электр станциялары мен ірі қосалқы станциялар қашықтан басқарылады, барлық объектілер сенімді авариялық қорғау және дабыл жүйесімен жабдықталған. Өрт туындаған кезде зақымдалған жабдық релелік қорғау құрылғыларымен авариялық түрде ажыратылады.
Кейбір жағдайларда өрт учаскесінде электр жабдықтарын қысқа мерзімде өшіру мүмкін емес. Сондықтан өртті сөндіру кезінде әрдайым жұмысты электр қондырғысының аға персоналының нұсқауларына сәйкес ұйымдастырады, ол сөндіру жұмыстарын жүргізуге РТП-ға жазбаша рұқсат береді.
Жоғарыда аталған Нұсқаулық техникалық персонал болмаған кезде электр қондырғылары кернеуде деп есептеуді қарастырады. Мұндай жағдайларда Нұсқаулық 10 мың кВ дейінгі кернеудегі электр жабдығын сөндіруге су ағындарын ұңғыманы көру үшін ашық қондырғыларда 4АМ су ағынының ұзындығы кезінде беруге мүмкіндік береді 4...8 м (кернеуге байланысты).
Оқпан диэлектрлік етік пен қолғапта болуы керек, бүріккіштегі оқпан мен өрт сорғысы бір жерге тұйықтағышты немесе жалпы контурды қолдана отырып, қимасы кемінде 10 мм болатын икемді мыс сыммен жерге тұйықталуы керек. Қашықтық 0,5 мА-дан аспайтын ток ұңғысы арқылы өту жағдайынан қабылданады, бұл адамдар үшін өте қауіпсіз. Судың меншікті кедергісі 1500 Ом / см2 қабылданды. 100 мА ток адам өміріне қауіпті, ток 0,6... 1,5 мА саусақтардың дірілдеуін тудырады, ток 20...25 мА — қолдың сал ауруы (жәбірленуші сымдардан өздігінен шыға алмайды), ток 50... 80 мА-тыныс алудың сал ауруы.
Кернеуге ұшырауы мүмкін учаскелерде ток соғуын болдырмау үшін кернеудегі ток өткізгіш бөліктерді қоршауға кіруге болмайды.
Төгілген майдың, трансформаторлардың және кабельдік туннельдердің өрттерін көбікпен сөндіру ұсынылады. Бірақ көбік түзетін суға қоспа оның
26
кедергісін төмендететінін және қуатсыз электр қондырғыларында ток соғу қаупін арттыратынын есте ұстаған жөн.
Өрт сөндірушілер келгенге дейін электр станцияларында өртті сөндіру кезіндегі алғашқы әрекеттерді әдетте кезекші персонал орындайды. Агрегаттарды желіден ажыратқаннан кейін стационарлық өрт сөндіру қондырғылары іске қосылады (егер олар автоматты түрде қосылмаса).
Ауамен салқындатылған генераторлар мен гидрогенераторлар орамаларының жануы генераторға салынған стационарлық су сөндіру жүйесін іске қосу немесе генераторды станциядағы бар баллондардан көмірқышқыл газымен (көмірқышқыл газымен) толтыру арқылы жойылады. Қосымша шара ретінде машинаның корпусына бу беру қолданылады. Бұқтыруға арналған құм қолданылмайды. Стационарлық өрт сөндіру қондырғылары зақымданған жағдайда тоқтатылған орташа көбік генераторына беру тиімді болуы мүмкін.
Электр станциясының машина залында өрттің ықтимал даму сипатын және сөндіру ерекшеліктерін келесі мысалда көрсетуге болады.

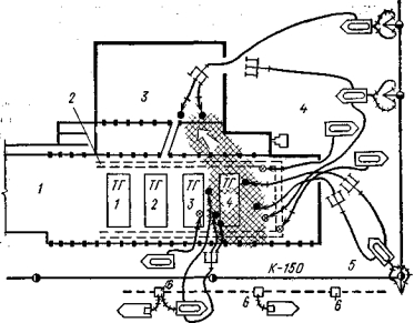
Сурет. 1. Май құбырының жарылуы нәтижесінде пайда болған өртті сөндіру
1-турбина цехы;
2-кабельдік туннель;
3-қазандық цехы;
4-көбік су цистернасы;
27
5-кабельдік туннель;
6-өндірістік-дөңгелек каналдан су алуға арналған құдық; ТГ — турбогенератор;
К-150-диаметрі 150 мм сақиналы су құбыры
Мысал. Өрт болған турбиналық цех жоспардағы көлемі 134X40 м отқа төзімділігі II дәрежелі электр станциясының бас ғимаратында орналасқан (сурет. 3.). 0 сағат 15 минутта қуаттылығы 50 мың кВт болатын № 4 турбогенераторда турбинаның құлыптау клапанының жанындағы Май құбыры үзілді. 1,372 МПа (14 атмосфера) бастапқы қысыммен диаметрі 19 мм тесік арқылы май шығарыла бастады, ол 560°C температурадағы бу құбырының оқшауланбаған бөлігіне түскеннен кейін өздігінен тұтанды. Цехтың аудандық өрт сөндіру бөлімімен тікелей радио байланысы болды, ол 0 сағат 17 минутта өртке себеп болды.
Өрт сөндіру бөлімдерінің шығу кестесіне сәйкес Өртке тағы алты негізгі және үш арнайы көлік жіберілді.
Станция қызметкерлерінің ешқайсысы кездестірмеген аудандық бөлімнің кезекші қарауылының келуіне (0 сағат 20 минут) өрт айтарлықтай көлемде болды. Мұнай құбырлары 4 минут бойы жабылмағандықтан, турбогенератор өшірілгеннен кейін білік тағы 20 айналуды жалғастырды...25 мин, ал онымен бірге вращалось дөңгелегі ортадан тепкіш маслонасоса агрегатының жану ошағына қысыммен болды тасталғандардың 2 т майлар. Жалын алауының әсерінен екі металл фермалар мен цехтың шатырсыз жабыны учаскесінің плиталары құлады. Артық бу төгілген кезде қатты шу пайда болды. Қазандық цехының бөлмесі түтін болып шықты.
3.1 Электр қондырғыларында өртті сөндіру ерекшеліктері
Кабельдік құрылыстардағы өртті сөндіру:
Кабельдік құрылыстарда өрт сөндірудің автоматты қондырғысы болған кезде оның қосылуы мен жұмыс тиімділігі тексеріледі. Егер ол автоматты түрде қосылмаса, онда көрсетілген үй-жайда жөндеу жұмыстарын орындау
28
үшін персоналдың жіберілмегеніне алдын ала көз жеткізіп, қашықтан (қолмен) басқару күшіне енгізіледі.
Ашық кабельдік трассаларда өртті сөндіру кезінде өрт оқпандарынан шашылған су қолданылуы тиіс.
Кәбіл құрылыстарына (туннельдерге, қабаттарға, шахталарға) өту және негізгі кіреберістерден (есік ойықтарынан) басқа, жылжымалы өрт сөндіру құралдарынан тозаңданған суды, ауа-механикалық көбікті беру үшін қолда бар люктерді пайдалану қажет.
Өрттің таралуын болдырмау мақсатында жылжымалы өрт техникасынан ауа-механикалық көбікпен кәбіл үй-жайының көлемін толтыру үшін люктер арқылы су перделерін жасау немесе көбік генераторларын енгізу жөнінде шаралар қабылдануы тиіс, бұл ретте 3.12-тармақта көрсетілген талаптар сақталуы тиіс.
Көбік кабельдік үй-жайларға есік саңылаулары арқылы берілген кезде көбік генераторлары есік жақтауының жоғарғы жағына немесе оған жақын бекітіледі.
Генераторлар мен синхронды компенсаторлардағы өртті сөндіру
Генераторлардың немесе ауамен салқындатылатын синхронды компенсаторлардың орамдары жанған кезде машинаны персонал авариялық тоқтатуы, желіден ажыратылуы және су өрт сөндірудің стационарлық қондырғысы іске қосылуы тиіс.
Генераторлардың немесе синхронды компенсатордың ішіндегі өртті сөндіру үшін көбік және химиялық өрт сөндіргіштерді қолдануға тыйым салынады.
Жану кезінде (мойынтіректердегі және генераторлар мен сутегімен салқындатылған синхронды компенсаторлардың басқа жерлеріндегі сутегінің жарылыстары0 турбогенераторды (синхронды компенсаторды) авариялық тоқтатып, желіден ажырату қажет. Орталықтандырылған жүйеден сутектіесыстыру үшін корпусқа көмірқышқыл газын (азот) беріңіз. Сонымен
29
бірге көмірқышқыл газын сөндіргіштермен және басқа да өрт сөндіру құралдарымен сутекті сөндіруге кірісіңіз.
Өртті сөндіру үшін төгілген майдың бұзылуы салдарынан мойынтіректерін тығыздау, фланецті құбырларында және жануды кабельдік трассаның турбогенераторлардың қолдану керек суға өрт сөндіру крандары мен жылжымалы құралдарды (өрт сөндіру машиналары) сақтай отырып, қауіпсіздік техникасы ережесі.
Май бактарында стационарлық суару қондырғысының турбогенераторлары болған кезде ол қолданысқа келтірілуге тиіс.
Турбогенераторларда өрт туындаған кезде өрт крандарынан немесе лафеттік оқпандардан су ағындарының көмегімен машина залының жабынының металл фермаларын салқындату жөнінде шұғыл шаралар қабылдау.
Жылу немесе атом электр станциясының турбогенераторының май жүйесінде өрт болған кезде, оның май ыдысына таралу қаупі бар болса, майды авариялық сыйымдылыққа түсіру жөнінде шаралар қабылдасын немесе май ыдысын суарудың стационарлық қондырғысын (ол болған кезде) қоссын. Трансформаторлар мен май толтырылған реакторлардағы өртті сөндіру бойынша ұсыныстар
Өрт туындаған кезде трансформатордың (реактордың) авариясы кезінде ол барлық жағынан желіден ажыратылып, жерге тұйықталуы тиіс.
Кернеуді алып тастағаннан кейін өртті сөндіруді кез келген өрт сөндіру құралдарымен (бүріккіш сумен, ауа-механикалық көбікпен, өрт сөндіргіштермен) жүргізу керек.
Тәжірибе көрсеткендей, су, әсіресе Шашыратылған су, төгілген майды сөндірудің тиімді құралы болып табылады.
Трансформаторда (реакторда) стационарлық өрт сөндіру қондырғысы болған жағдайда, ол автоматты түрде қосылмаса, қашықтан (қолмен) қосылуы тиіс.
30
Трансформатордың ішкі зақымдануы кезінде (реактор0, шығатын құбыр арқылы немесе төменгі коннектор арқылы (болттардың кесілуі және коннектордың фланецінің деформациясы) және трансформатордың (реактордың) ішіндегі өрттің пайда болуы кезінде өртті сөндіру құралдарын трансформатордың (реактордың) ішіне жоғарғы люктер арқылы және деформацияланған коннектор арқылы енгізу керек.
Трансформаторда (реакторда) өрт болған кезде трансформатордан (реактордан) майды ағызуға тыйым салынады, себебі бұл ішкі орамалардың зақымдалуына және одан әрі сөндірудің қиындауына әкелуі мүмкін.
Жабық үй-жайда (камерада) және жабық тарату құрылғысында (ЖҚҚ) орнатылған трансформатордағы өрт кезінде өрттің ойықтар, арналар, желдету жүйесі және т.б. арқылы таралуының алдын алу бойынша шаралар қабылдануы тиіс.
Трансформаторда дамыған өрт кезінде жоғары температураның әсерінен су ағындарымен металл тіректерді, порталдарды, көрші трансформаторларды және басқа жабдықтарды қорғау қажет, бұл ретте су ағындарының әрекет ету аймағында ең жақын жабдықтар мен таратқыш құрылғылардан Жоғары кернеу алынып тасталуы және олар жерге тұйықталуы тиіс.
31
Қорытынды
Бұл жұмыста Энергетика объектілеріндегі өрттерді сөндіру ерекшеліктері қарастырылған.
Энергетика объектілеріне жылу, Атом, газ ағыны және дизель электр станциялары, жылу электр орталықтары жатады.
Электр станцияларында кездесетін жанғыш заттар мен материалдардың ішінде мыналарды атап өтуге болады: авариялық Электр станцияларына арналған дизель отыны, гидравликалық май, майлау майлары (мысалы, турбиналық мойынтіректерді салқындату және майлау үшін), трансформатор майы, генератор роторын салқындатуға арналған сутегі, жанғыш сүзгі материалдары (көмір), электр кабельдерін оқшаулау, құрылымдық материалдар пластмасса негізінде және т. б.
Электр станциясының ғимараттарындағы өрттерді талдаудан машина залдары мен қазандықтарда өрттің таралуы әдетте өте тез жүретінін көруге болады. Бұл қарқынды жануымен майы (машиналық залдарда), мазут, дизельді отын және басқа да жанғыш сұйықтықтарды (қазандық), орналасқан ыстық немесе қыздырылған күйінде. Өрттің тез дамуы температураның қарқынды көтерілуіне, металл конструкцияларының сыни температурасына дейін жылынуына және жабынның құлауына әкеледі.
Кабельдік қондырғылардың өрт қаупін бағалай отырып, сымдар мен кабельдерді өру және оқшаулау үшін қолданылатын материал ретінде поливинилхлорид жиі қолданылатынын атап өткен жөн, ол қызған кезде сутегі хлоридін шығарады. Кабельдік үй-жайларда өрттер негізінен қысқа тұйықталу (қысқа тұйықталу), оқшаулаудың электрлік бұзылуынан немесе оның қызып кетуінен болады.
Өрттің электр станцияларының машина залдарында тәуелді сипаттағы туындаған жану (тұтану бу май, жарылыс, ҚТ және т. б.). Жарылыстар кезінде өрттер ең қарқынды дамиды, көршілес генераторлардың, турбиналардың жүйелеріне көптеген ошақты зақым келген кезде,
32
нәтижесінде салқындату жүйесінен сутектің шығуы, майдың таралуы, жедел ток желілерінде қысқа тұйықталу, бақылау және қуат кабельдерінің пайда болуы мүмкін. Ғимараттың қоршау құрылымдарының құлауы мүмкін.
Электр станцияларында қолданылатын заттардың ішінде ең өрт қаупі турбиналық және трансформаторлық майлар болып табылады. Трансформаторлардағы өрттердің дамуы негізінен олардың пайда болу себептеріне және трансформатор корпусының мінез-құлқына байланысты.
Тарату құрылғыларындағы өрттер негізінен май толтырылған аппараттардың апаттарында немесе оқшаулаудың тұтануынан болады. Олардың ішінде ең өртке қауіпті: май ажыратқыштары, трансформаторлар (күш, өлшеу), реакторлар және конденсаторлар.
Ауыр зардаптары бар өрттер қазандық цехтарының негізгі және қосалқы үй-жайларында болуы мүмкін, онда қазандық отынының көп мөлшерін шоғырландыруға болады. Шаң дайындау бөлімшелерінде көмір шаңының жарылуы жоққа шығарылмайды.
Өрт кезінде электр қондырғыларында байқалуы мүмкін әсері адамдарға мынадай қауіпті факторлары: ашық от және ұшқын; жоғары температура ауа, жабдықтар және т. б., уытты жану өнімдері немесе термиялық ыдырату; түтін және соның салдары ретінде - төмендету көріну; төмен концентрациясы оттегі; құлау конструкцияларды, элементтерін жабдықтар мен ғимараттар; жарылыс; жоғары кернеу.
33
Пайдаланылған әдебиеттер:
1. Ресей ТЖМ 31.12.02 ж. №630 "Ресей ТЖМ МЖӘ бөлімшелерінде еңбекті қорғау жөніндегі Ережелерді бекіту және күшіне енгізу туралы" бұйрығы (тер РО-2002).
2. Ресей ІІМ - нің 05.07.95 жылғы №257 бұйрығы "Ресей Федерациясы ІІМ МЖӘ қызметіндегі нормативтік-құқықтық актілерді бекіту туралы", қосымша.№2 (БУПО).
3. Әртүрлі нысандардағы өрттерді сөндіруге байланысты жауынгерлік іс-қимылдарды жүргізу және бірінші кезектегі авариялық-құтқару жұмыстарын жүргізу ерекшеліктері туралы ұсыныстар, М.: Ресей ІІМ ГУГПС, 02.06.2000 ж.
4. Ашық технологиялық қондырғыларда өртті сөндіру бойынша ұсыныстар.
5. Я. с. Позик және т.б." өрт тактикасы ""энергетикалық кәсіпорындарда және электр қондырғылары бар үй-жайларда өртті сөндіру тактикасы".
34
жүктеу мүмкіндігіне ие боласыз
Бұл материал сайт қолданушысы жариялаған. Материалдың ішінде жазылған барлық ақпаратқа жауапкершілікті жариялаған қолданушы жауап береді. Ұстаз тілегі тек ақпаратты таратуға қолдау көрсетеді. Егер материал сіздің авторлық құқығыңызды бұзған болса немесе басқа да себептермен сайттан өшіру керек деп ойласаңыз осында жазыңыз
Энергетикалық кәсіпорындарда және электр қондырғылары бар орынжайларда өрт сөндіру
Энергетикалық кәсіпорындарда және электр қондырғылары бар орынжайларда өрт сөндіру
Мазмұны:
Кіріспе........................................................................................................3-4
1. Өрттің шығу салдары...........................................................................5-8
1.1 Электр энергетикасы объектілеріндегі өрттердің даму
ерекшеліктері...........................................................................................8-14
2.Объектілердің жедел-тактикалық ерекшеліктері.............................15-18
2.1 Электр қондырғыларында өртті сөндіру тәсілдері мен
құралдары................................................................................................18-25
3. Өртті сөндіру.......................................................................................26-28
3.1 Электр қондырғыларында өртті сөндіру ерекшеліктері..............28-31
Қорынтынды............................................................................................32-33
Пайдаланылған әдебиеттер....................................................................34
Кіріспе
Халық шаруашылығының барлық салаларында электр энергиясын тұтынудың қарқынды өсуі электр қондырғыларының өрт қауіпсіздігін арттыруға үнемі назар аударуды талап етеді.
Статистикаға сәйкес, электр қондырғыларынан шыққан өрттер бүкіл ел бойынша жалпы санның шамамен 28% құрайды. Кейбір жағдайларда өрттер адамдардың өлімімен немесе жарақаттануымен бірге жүреді.
Электр станцияларында, өнеркәсіптік және ауылшаруашылық кәсіпорындарының энергетикалық қондырғыларында пайда болатын өрттердің зияны әдетте айтарлықтай. Сонымен, жылу электр станцияларының бірінде өрт болды және тек кабельдік коммуникациялар зақымдалды. Тікелей шығын бірнеше ондаған мың рубльді құрады. Алайда, бірқатар кәсіпорындарды энергиямен жабдықтаудың бұзылуына, Жабдықтардың тоқтап қалуына және өнім шығарудың қысқаруына байланысты шығындар бірнеше жүз мың теңгеден асты.
Статистикаға сәйкес энергия объектілеріндегі өрттер келесідей бөлінеді:
жылу электр станцияларында-52 %;
қосалқы станцияларда-43 % және гидроэлектростанцияларда-5 %
Өрттер мен өрттердің пайда болған жеріне олардың таралуы мынадай түрге ие: трансформаторлар мен реакторлар 43 %
Отын және отын беру қоймалары, шаң дайындау қондырғылары 25 %
Электр машиналары (генераторлар, гидрогенераторлар, синхронды компенсаторлар) 16 %
Кабельдік құрылыстар 9 %
Электр станциялары мен қосалқы станциялардың өзге де құрылыстары 7 %
3
Бұл ірі энергетикалық объектілердегі өрттердің алдын алу және оларды сөндіру мәселелеріне көбірек көңіл бөлу қажеттігін растайды. Электр қондырғыларынан шығатын өрттердің көпшілігінің алдын алуға болады және егер қызмет көрсетуші персонал (әсіресе электр цехтарының қызметкерлері) электр жабдықтарының өрт қауіптілігінің ерекшеліктерін және туындаған өртті (жануды) сөндіру бойынша іс-қимыл тәртібін білсе, олар келтіретін залалды барынша азайтуға болады.
Кітапта арнайы әдебиеттердегі мәліметтер, ғылыми-зерттеу жұмыстары, өрт статистикасы негізінде электр жабдықтарының өрт қауіптілігінің кейбір аспектілерін және оны пайдалану кезінде туындайтын өрттерді сөндіру ерекшеліктерін жүйелі және оқырмандардың кең ауқымы үшін қол жетімді түрде көрсетуге әрекет жасалды. Ірі энергетикалық нысандардағы өрттерді сөндіру мәселелеріне де назар аударылды.
Өрттің пайда болуының негізгі ұғымдары, терминдері мен шарттары
Үлкен рөлі оқығанда және практикалық мәселелерді шешуге өртке қарсы ойнайды ұғымдар мен анықтамалар, өйткені олар мүмкіндік береді әр түрлі мамандарға сөзсіз мәнін түсіну процестерді жану кезінде заттарды және оларды сөндіру, сондай-ақ өрт қауіпсіздігі ережелерінің талаптарын.
Жану-бұл жылу шығарумен және жарық шығарумен бірге жүретін тотығудың химиялық реакциясы..
Өрт — бақылаусыз жану, дамып келе жатқан уақыт және кеңістікте.
Өртеніп, өрт — бақылаусыз жану тыс арнайы ошақтың келтірмеген, материалдық шығын келтірген.
Өрт қаупі-салдарымен бірге жүретін өрттің туындау және (немесе) даму мүмкіндігі.
4
1. Өрттің шығу салдары
Тергеу өрттің себептері бағытталған іс — әрекеттер анықтау мән-жайлар туындаған бақылаусыз жану дамыған содан кейін өрт шықты. Бұл әрекетті қамтиды өрт ошағын анықтау (орнын бастапқы пайда болған жану), тұтану көзінен және ықпал ететін жағдайларды дамытуға және таратуға әкеп соғады. Өрттің себебін тергеу өрттің осындай жағдайларын болдырмауға бағытталған іс-шараларды әзірлеумен аяқталуы керек.
Жану дегеніміз-физикалық және химиялық процестердің жиынтығы, олардың негізі жылудың едәуір мөлшерін шығарумен және жарық шығарумен бірге жүретін тез жүретін Тотығу реакциясы болып табылады. Көптеген өрттердің негізінде жану жатыр реакциялар қосылыстар жанғыш заттардың ауа оттегімен және, пиротехникалық бұйымдар, және кейбір басқа да материалдар, жану үшін оттегі есебінен ұсталатын молекуласындағы жанғыш заттар, немесе оттегі . Қарқындылығы жану тәуелді агрегаттық жай-күйі көрсетілген жанғыш заттар.
Ұнтақтау дәрежесі немесе шашырау дәрежесі жоғарылаған сайын заттардың жанғыштығы артады. Сонымен, магнийдің бір бөлігі ашық оттан тұтануы қиын. Ұнтаққа айналған дәл сол бөлік жарылыспен жанып кетеді.
Жану тек жанғыш затты тотықтырғышпен және тұтану көзімен біріктіргенде ғана емес, басқа жағдайларда да пайда болуы мүмкін.Gorenje. Үшін ағу жану процесін ауада қажет жанғыш зат, оттегі (ауа) және тұтану көздері. Жанғыш зат пен оттегі — әрекеттесуші заттар-жанғыш жүйені құрайды, ал тұтану көзі ондағы тотығу реакциясын тудырады. Тұрақты жану кезінде тұтану көзі реакция аймағының жылуы болып табылады.
Жалпы жағдайда пайда болу шарттары, жану болуы мүмкін бөлінген екі топ: қажетті және жеткілікті. Қажетті жағдайлар-жанғыш заттың,
5
тотықтырғыштың және тұтану көзінің болуы. Алайда, осы шарттардың сақталуын бұл жану туындайды. Мысалы, тұрғын үй пәтерінде бар жанғыш заттар (жиһаз, киім ч т. б.), тотықтырғыш (оттегі, ауа) және негізгі от көзі (от, газ плитасы, от, темекі және т. б.), бірақ, әдетте, жану пайда болмайды.
Жеткілікті шарттар — бұл бір мезгілде совмещение жанғыш заттар, жану көзінің және окислителя, сондай-ақ үздіксіз түсуі окислителя жану аймағына алып тастау және одан жану өнімдері. Бұл жағдайлардың рөлі мен маңызы жанғыш заттардың физика-химиялық сипаттамаларына, тұтану көзінің энергетикалық сипаттамаларына, тотықтырғыштың табиғатына және басқа факторларға байланысты.
Әдетте, өрттің пайда болу процесі адамдардың бір-бірімен байланысты әрекеттерінің нәтижесі болып табылады. Неліктен өрттің пайда болуын адамдардың іс-әрекетімен байланыстыру керек? Шындығында, бір жағынан, адам өрттің алдын ала алады, ал екінші жағынан, барлық дерлік өрттер оның қызметіне байланысты.
Тәжірибе көрсеткендей, өртке мыналар әкеледі: техникалық, ұйымдастырушылық және басқа да әрекеттер, олар адал қате түсінік шеңберінде өрт қауіпсіздігі талаптарын ескермейді, бұл тек кейінгі тергеу барысында белгіленеді; өрт қауіпсіздігінің белгілі және түсінікті ережелерін орындауға немқұрайлы қарау.
Адал қате түсінік аясында өрттің пайда болуына жағдай жасау, әдетте,:
- технологиялық процестердің, агрегаттардың, операциялардың, заттар мен материалдардың және т. б. өрт қаупі туралы ақпараттың болмауы.;
- өрт қауіпсіздігі мәселелерінде жұмыстарды орындау тапсырылған адамның қабілетсіздігі.
Өрт қауіпсіздігінің белгілі және түсінікті ережелерін орындауға немқұрайлы қарау, бұл өрттің пайда болуына жағдай жасауға әкеледі, көбінесе түрінде көрінеді:
- Еңбек және өндірістік тәртіптің болмауы немесе төмен деңгейі;
6
- мемлекеттік өрт қадағалау талаптарын орындаудан жалтару;
- объектінің өрт қауіпсіздігіне тікелей жауапты тұлғалардың төмен талабы.
Өрттің пайда болуына жағдай жасайтын себептердің жоғарыда аталған бөлінуі абсолютті дәлдікті талап етпейді, бірақ адал ниетті алдауды қасақана, техникалық сауатсыздықты тәртіпсіздіктен, немқұрайлылық пен ерік-жігерді абайсыздықтан және т. б. ажыратуға мүмкіндік береді.
Өрттің пайда болуына жағдай жасауға әкелетін адамдардың іс-әрекеті нақты нені білдіреді? Бұл сұраққа жауап іздеу керек келтірілген анықтау, өрт, өйткені туындауы басқарылмайтын жану болып табылады соңғы сатысы процестің үшін жағдай жасау, өрттің туындау барысында жүргізілетін совмещение жанатын және тұтану көзінен.
Демек, қойылған сұраққа алады: кез келген қызмет соқтыратын жинақтау, орналастыру және қолдану жанғыш мұндай түрін, санын және сапасын, қашан кездейсоқ енгізу тұтану көзінен жүргізеді туындауына басқарылмайтын жану, немесе пайдалану ережелерін бұза отырып пайдалану, техникалық ақаулы немесе тыйым салынған жылу энергиясы көздерінен) міндетті түрде жүргізеді туындауына тұтану (өрт).
Үй-жайларды жылыту үшін үйдегі жылу шығаратын қондырғы пайдаланылды. Объектінің әкімшілігі қызмет көрсету үшін осы жұмысқа дайындалмаған адамдарды тартты. Өртті кезекші Жылу генераторы паллетіндегі солярка жанып тұрған кезде анықтады. Қондырғыны өшірмей және өрт сөндіру бөлімін шақырмай, ол отты құммен сөндіре бастады, бірақ сәтсіз болды. Біраз уақыттан кейін өрт жабынға жетіп, электр жабдықтарының қоймасын, вулканизацияны жауып, жабынға шықты. Басынан шамамен бір сағат өткен соң, 1600 м2 алаңдағы бекеттер блогы ғимаратының біріктірілген жабыны құлады, ал тағы жарты сағаттан кейін 620 м2 алаңда қайта құлау болды. Өртті сөндіру шамамен 5 сағатқа созылды.
7
Объективті және субъективті себептерге байланысты электротехникалық себептерден болатын өрттердің саны жыл сайын орта есеппен 2,7% - ға артады.
Өрттің салдары көбінесе олардың таралуына ықпал ететін немесе сөндіруге кедергі келтіретін себептер мен жағдайларға байланысты. Статистикалық мәліметтерге сәйкес, өрттің кеш хабарлануына байланысты өрттің таралуы шамамен 48% құрайтыны белгілі, ал өрт сөндіру бөлімшелері келгенге дейін сөндіру шараларын қолданбау нәтижесінде — шамамен 4 % - бұл адамдардың (әсіресе электр жабдықтарына қызмет көрсетумен айналысатындардың) өртті анықтау және сөндіру кезіндегі іс-қимылдардың реттілігін білу қажеттілігін көрсетеді. Осыған байланысты өртті сөндіру тәсілдері мен құралдары туралы қажетті ақпарат алу маңызды.
1.1 Электр энергетикасы объектілеріндегі өрттердің даму ерекшеліктері
Қазіргі заманғы өнеркәсіптік кәсіпорындар электр станциялары мен жабдықтарының жоғары энергия сыйымдылығымен сипатталады. Мысалы, ірі Металлургиялық зауыттардың бірі оннан астам төмендететін қосалқы станцияларды қуаттайды, олардан 100 мыңға жуық электр қозғалтқыштары мен трансформаторлар жұмыс істейді. Кабельдік туннельдер мен жартылай қабаттардың жалпы ұзындығы бірнеше ондаған шақырымды құрайды.
Электр станцияларында кездесетін жанғыш заттар мен материалдардың ішінде мыналарды атап өтуге болады: авариялық Электр станцияларына арналған дизель отыны, гидравликалық май, майлау майлары (мысалы, турбиналық мойынтіректерді салқындату және майлау үшін), трансформатор майы, генератор роторын салқындатуға арналған сутегі, жанғыш сүзгі материалдары (көмір), электр кабельдерін оқшаулау, құрылымдық материалдар пластмасса негізінде және т. б.
Турбогенераторларды сутегімен салқындату, мысалы, сыйымдылығы 2500 м3 дейінгі сутегі батареяларын орнатуды қарастырады (1q5 Па қысымы
8
мен 0С температурада). Генераторлар мен байланыстырушы құбырлар сутегімен толтырылып, инертті газбен ағызылады. Жүйеде бірқатар қауіпсіздік құрылғыларының болуына қарамастан (желдетуге арналған құрылғылар, қысым реттегіштері және т.б.) сутегі турбиналық залға ене алады деп санау керек. Сутектің жарылуы майлау майының жануына әкелуі мүмкін.
Электр станциясының ғимараттарындағы өрттерді талдаудан машина залдары мен қазандықтарда өрттің таралуы әдетте өте тез жүретінін көруге болады. Бұл қарқынды жануымен майы (машиналық залдарда), мазут, дизельді отын және басқа да жанғыш сұйықтықтарды (қазандық), орналасқан ыстық немесе қыздырылған күйінде. Өрттің тез дамуы температураның қарқынды көтерілуіне, металл конструкцияларының сыни температурасына дейін жылынуына және жабынның құлауына әкеледі.
Сонымен. электр станцияларының бірінде өрт болған кезде металл фермалар мен машина залының үстіндегі темірбетон жабыны өрт шыққаннан кейін 11 минуттан кейін құлады. Жабын конструкциялары құлаған кезде қымбат, бірегей жабдықтар, турбогенераторлар, май құбырлары және т.б. істен шығарылады.
Кабельдік қондырғылардың өрт қаупін бағалай отырып, сымдар мен кабельдерді өру және оқшаулау үшін қолданылатын материал ретінде поливинилхлорид жиі қолданылатынын атап өткен жөн, ол қызған кезде сутегі хлоридін шығарады.
Көлденең құрылымдардың саны туннельдің немесе кабельдік бөлменің биіктігіне байланысты және 2 м биіктікте 8-10 болады. Осыған байланысты туннельдегі кабельдердің жалпы саны құрылымдардың екі жақты орналасуымен 65-80, ал бір жақты 32-40 болуы мүмкін. Кабель ағындары қиылысатын жерлерде туннель учаскесіндегі кабельдер саны едәуір артады. Бұл бөлмелердің меншікті жанғыш жүктемесі 25-40 кг / м2 құрайды.
Өрт кезінде кәбілдік үй-жайларда бастапқы кезеңінде жүреді баяу
9
дамуы жану және тек біраз уақыт өткен соң, оның таралу жылдамдығы айтарлықтай артады. Тәжірибе көрсеткендей, кабельдік туннельдердегі нақты өрттерде 600 °C және одан жоғары температура байқалады. Бұл нақты жағдайларда ұзақ уақыт бойы ток жүктемесінде болатын және оқшаулауы ішінен 80 °C және одан жоғары температураға дейін қызатын кабельдер жанатындығына байланысты.
Кейде бірнеше жерде және айтарлықтай ұзындықта кабельдердің бір мезгілде тұтануы байқалады. Бұл кабель жүктеме астында болғандықтан және оның оқшаулауы өздігінен тұтану температурасына жақын температураға дейін қызады.
Кабельдік үй-жайларда өрттер негізінен қысқа тұйықталу (қысқа тұйықталу), оқшаулаудың электрлік бұзылуынан немесе оның қызып кетуінен болады. Өрттің өршуіне себепші болуы жанғыш оқшаулау және оны қыздыру жұмыс тоқтарымен, сондай-ақ болса, жабық люктер далдалардағы туннельдер кедергі шығу жану өнімдері, олар жойылады арқылы ғана желдеткіш саңылаулар торцах туннельдер (бөлік). Қозғалыс кезінде жану өнімдерінің бойымен кәбіл жүреді қыздыру оқшаулау әкеледі күрт жылдамдығын арттыру, жану.
Бақылау кабельдерінің үй-жайларында, әдетте, шамадан тыс жүктемеден және қысқа тұйықталу токтарынан қорғалмаған жедел ток желілері салынады. Зақымдалуы кезінде және ҚТ мұндай желі бір мезгілде дерлік бүкіл ұзындығы бойымен кабельді онда көптеген жану ошағы мен өрт тез тарайтын басқа да үй-жайлар немесе қондырғы орналасқан, тіпті қашықтықта орын бастапқы пайда болған жану.
Мұнай толтырылған құбырлардағы кабельдері бар кабельдік үй-жайлардағы өрттердің дамуы газ алмасудың тең жағдайларында ауа төсемінің кабельдеріне қарағанда анағұрлым қарқынды жүреді. Туындаған, бұл майы құбырларда орналасқан температурасы 35-40°С қысыммен және қымтау кезінде құбырлар растекается көбейтіп, көлемі мен жану
10
температурасы, үй-жайда.
Туннельдердегі өрттер көбінесе электр желісінің басқа учаскелерінде: басқару пульттерінде, тарату құрылғыларының (ТҚ) ұяшықтарында, трансформаторлық блоктарда тұтану көздерінің (ҚТ токтарының өтуі) пайда болуына әкеледі, бұл жаңа өрт ошағының себебі болуы мүмкін.
Тәжірибелер зерттеу жағдайларын, таралу кәбіл құрылыстарында, қазіргі сжигались кәбілдер әр түрлі оқшаулаумен, сыртқы жамылғысының және онсыз, соның ішінде бақылау кәбілдері және байланыс кәбілдері көрсеткендей, бастапқы сатысында жану кабельдер бір мезгілде қар жаууы дымовыделенинм жүреді өсуі температура. Бұл кабельдер сіңдірілген мастика мен материалдардың (битум, шайыр) еруіне әкеледі.
Балқытылған және жанатын масса төмендегі кабельдерге ағып кетеді, олардың оқшаулауы да жанғыш. Кабельдердің өткізгіш өткізгіштері жалаңаш болады, бұл қосымша қысқа тұйықталуға және жаңа өрт ошақтарының пайда болуына әкеледі.
Өрттің дамуына 8-12 кг жанғыш оқшаулағыш массасы бар байланыстырушы муфталар үлкен әсер етеді. Эксперименттер кезінде оның балқуы, тұтануы және 3-5 м қашықтыққа шашырауы байқалды, бұл өрттің таралуына ықпал етті.
Іс-тәжірибемен деп кабельдер жанған жағдайда, төселген қабырғалары арналған тіреуіштерде, температура астында жабынының арқылы 8 мин километрге жетті 600 °С, ал 9-12 мин — 800 °С Кезінде оттың таралу жылдамдығы тік бағытта байланысты, арасындағы ара қашықтық кронштейнмен, олар салынуы кабельдер құрайды 0,45—0,5 /мин., ал көлденең— 0,18—0,35 м/мин Жылдамдығы бойынша таралу алаңы орналасқан аралықтағы 0,08—0,17 м2/мин.
Өрттің электр станцияларының машина залдарында тәуелді сипаттағы туындаған жану (тұтану бу май, жарылыс және т. б.). Жарылыстар кезінде өрттер ең қарқынды дамиды, көршілес генераторлардың, турбиналардың
11
жүйелеріне көптеген ошақты зақым келген кезде, нәтижесінде салқындату жүйесінен сутектің шығуы, майдың таралуы, жедел ток желілерінде қысқа тұйықталу, бақылау және қуат кабельдерінің пайда болуы мүмкін. Ғимараттың қоршау құрылымдарының құлауы мүмкін.
Апат кезінде жанған май ақпарат болуымен күрделенеді май саңылаулары арқылы қосымша ойықтар растекается арналған нижерасположенные белгі кабельдік каналдар, туннельдер және полуэтажи. Жалында басқа блоктардың май құбырлары бар май ыдыстары бар. Бұл ретте түтіннің көп мөлшері бөлінеді, бұл көбінесе кезекші персоналға жедел сөндіру жоспары бойынша барлық қажетті операцияларды жүргізуге және басқа агрегаттарды тұрақты бақылауды қамтамасыз етуге мүмкіндік бермейді.
Жағдайдың күрделілігіне жану кезінде майдың ерекшелігі, май жүретін құбырлар, сорғылар орналасқан нөлдік белгіде, онда жану растекающегося май, ал генераторлары және турбина барлық аспаптарымен бақылау және басқару жоғары тұр нөлдік белгі, т. е. әрекет ету аймағында түтін мен жалынның. Өрттің аудан бойынша таралу жылдамдығы 25 м2/мин жетуі мүмкін.
Электр станцияларында қолданылатын заттардың ішінде ең өрт қаупі турбиналық және трансформаторлық майлар болып табылады. Трансформаторлардағы өрттердің дамуы негізінен олардың пайда болу себептеріне және трансформатор корпусының мінез-құлқына байланысты. Өзектің жергілікті қызып кетуімен жану әдетте жану сипатына ие және ұзақ уақытқа созылуы мүмкін.
Мұндай өрттің белгілері-газ релесінің камерасындағы газдардың бөлінуі, сондай-ақ трансформатордың шуы. Дер кезінде ажыратылған трансформатордың жүреді ҚТ және жануды орамаларындағы. Табуға болады, бұл шығу бойынша жану өнімдерінің бірі консерватора, бұзылуына сақтандырғыш мембраналар.
12
Жоғары кернеулі орамадағы және қорғаныс аппараттарының уақтылы іске қосылуындағы айналмалы тесіктер мен қысқа тұйықталу кезінде ораманың жергілікті күйіп қалуы ғана байқалады. Әйтпесе, қысқа тұйықталу қуатына байланысты мембрананың, консерватордың бұзылуы және трансформатор қақпағының жарылуы мүмкін, Май сыртқа шығарылады.
Кезінде үлкен қуатты КЗ (көбінесе төменгі кернеу жағында) және ұзақ жануы жүреді бұзылуы консерватора, содан кейін трансформатордың корпусы, нәтижесінде растекающееся майы қауіп төндіретін көрші трансформаторлар мен құрылғылар.
Бөлініп шығатын түтін жағдайды қиындатады, өйткені оның қатты бөлшектер арналған ылғалды изоляторларында, төмендете отырып, олардың диэлектрлік қасиеттері әкеледі жабу изоляторлары мен білімі жаңа жану ошақтарын. Жану май трансформаторда қирауына әкеп соғатын басқа да изоляторларының, к құлдырауына ток сымдары жерге. Бұл жағдайда трансформатордың корпусы кернеуге ұшырауы мүмкін. Трансформатор корпусының жыртылуымен ең үлкен зақым кіріс немесе шығыс ток өткізгіштерінде қысқа тұйықталу кезінде болады.
Тарату құрылғыларындағы өрттер негізінен май толтырылған аппараттардың апаттарында немесе оқшаулаудың тұтануынан болады. Олардың ішінде ең өртке қауіпті: май ажыратқыштары, трансформаторлар (күш, өлшеу), реакторлар және конденсаторлар. Май қосқыштарындағы жану көбінесе ажыратқыштың ішіндегі немесе оқшаулағыш пен корпустың арасындағы өтпелі оқшаулағыштар арасында қабаттасқан кезде пайда болады. Бірінші жағдайда корпустың жарылуы мүмкін, ал екіншісінде — оның күйіп кетуі және жанып жатқан майдың төгілуі.
Ауыр зардаптары бар өрттер қазандық цехтарының негізгі және қосалқы үй-жайларында болуы мүмкін, онда қазандық отынының көп мөлшерін шоғырландыруға болады. Шаң дайындау бөлімшелерінде көмір
13
шаңының жарылуы жоққа шығарылмайды.
Мазутты негізгі немесе жанғыш отын ретінде қолданатын қазандық цехтарында мазут құбырлары зақымдалған кезде жанғыш сұйықтықтың тез таралуы және оның саптаманың жалынынан тұтануы мүмкін (мазут қысымы шамамен 3 МПа, ал температурасы 120 °С жоғары). Бұл жағдайда өрт үлкен мөлшерде болуы мүмкін, егер қорғалмаған металл конструкциялар болса, 10-20 минут ішінде олардың деформациясы, содан кейін құлауы мүмкін.
14
2.Объектілердің жедел-тактикалық ерекшеліктері.
Электр станциялары мен қосалқы станциялардың көпшілігі электр станцияларының, электр беру желілерінің, қосалқы станциялардың және ЖЭО-дан жылу желілерінің жиынтығы болып табылатын бірыңғай энергия жүйесінде жұмыс істейді, олар режимнің жалпылығымен және энергияны өндіру мен бөлу процесінің үздіксіздігімен байланысты. Электр желілері ірі өндірістік орталықтары мен үлкен қалалары бар үлкен аумақтарды қамтиды. Бір объектіде туындаған өртті уақтылы жою қалалар мен кәсіпорындарды энергиямен жабдықтауда іркілістер тудыруы мүмкін.
Қазіргі уақытта ең көп таралған жылу бу турбиналық электр станциялары болып табылады. Станциялардың орналасуы мен дизайн ерекшеліктерін өндіріс процесінің келесі технологиялық схемасы анықтайды. Отын (көмір, шымтезек, мазут немесе газ) алдын ала өңдеуден кейін (көмірді шаңға дейін ұсақтау, мазутты қыздыру) қазандық агрегатына жағу үшін беріледі. Заманауи қазандық қондырғысы жану құрылғысын, қазандықты, ауаны беретін және Шығатын газдарды соратын желдеткіштерді, буды қыздыру құрылғыларын, Отын және сумен жабдықтау қондырғыларын біріктіреді. Алынған бу механикалық энергияны электр энергиясына айналдыратын турбоагрегатқа [қуаты 220 мың кВт 12,74 МПа (130 атмосфера) турбоагрегаттағы бастапқы Бу қысымы) жіберіледі.

15
Сурет. 1. Жылу станциясының бас ғимаратының көлденең қимасы / - машина залы; 2-көпір краны; 3-деаэраторлық; 4 — бункер үстіндегі галерея; 5-отын бункерлері; 6-қазандық; 7—бу қазандықтары; 8-қазандықтардың іргетасы; 9-Кабельдік арналар; 10-су бұру арнасы
Жалпы іргетас тақтасына орнатылған қондырғының негізгі машиналары - бу турбинасы, үш фазалы синхронды электр генераторы және генератордың қоздырғышы. Генераторларда жабық ауа немесе сутегімен салқындату, май жағу және турбинаны реттеу жүйесі бар. Қуатты генераторларға арналған май жүйесінің сыйымдылығы 10...15 т.
Электр станцияларының ғимараттары құрама бетоннан немесе металдан жасалған қаңқасы бар жанбайтын материалдардан және металл фермалардан тұрғызылады (сурет. 92). Әдетте қазандық цехы, машина залы және қызметтік үй — жайлар бір блокқа-станцияның негізгі ғимаратына орналастырылады. Сол ғимаратта немесе одан шамалы қашықтықта басқарудың негізгі қалқаны және генераторлық кернеудің тарату құрылғысы орналастырылған; негізгі ғимараттан шағын қашықтықта жабық немесе ашық Жоғары кернеулі тарату құрылғысы (35; ПО; 220; 500 кВ) орналасқан.
Ашық және жабық тарату құрылғыларының өрт қауіпті жабдығы-Күштік және өлшеу трансформаторлары, реакторлар, май немесе ауа ажыратқыштары.
Қазіргі қуатты электр станцияларында машина залының аралығы 30...50 м, ұзындығы 200 м-ден асады, биіктігі 30... 40 м (қазандық цехының биіктігі 80 м жетеді). Елдің оңтүстік аудандарында электр станцияларының қазандық агрегаттары ашық ауада орнатылады.
Электр станцияларындағы өрттер айтарлықтай мөлшерде болуы мүмкін, әсіресе генератордың май жүйесі жарылған кезде, трансформаторлар мен май қосқыштарының жарылуы мен зақымдануы кезінде. Бұл жағдайда жанудың негізгі ошағы-төгілген және ағып жатқан май, оның мөлшері 100 тоннаға немесе одан да көпке жетуі мүмкін.Gorenje. Кабельдік жартылай
16
қабаттарда, туннельдерде, өту қораптарында және электр станцияларында желісі едәуір тармақталған қуат кабельдері бар арналарда өрттер жиі кездеседі. Мұндай өрттерде оларды басқару қалқандарына және релелік қалқандарға тарату қаупі әрқашан бар.
Кеш қабылданған сөндіру шаралары кезінде генератор орамасының жануы күрделі өрттерге айналуы мүмкін. Сутектің сутекті салқындату жүйесінен ағып кетуі немесе төтенше жағдайларда ауа жүйеге енуі өрттің орамға, кабельдерге, майлау жүйесіне таралуына әкелуі мүмкін.

Сурет. 2. Өнеркәсіптік кәсіпорынның төменгі қосалқы станциясының қуат трансформаторы мен төмен вольтты тарату қалқанының камерасы бойынша кесу
А-тарату қалқанының үй-жайы;
В-қуат трансформаторының камерасы;
1-кабель төсеуге арналған қалқан астындағы арналар;
2-төмен вольтты тарату қалқаны:
3-Тарату тақтасының негізгі шиналары;
4-ажыратқыш;
5-өту тақтасы;
17
6-желдету білігі;
7-төмен вольтты шиналар;
8-трансформатордың Қуат кабелі;
9-1600 кВ-А трансформаторы;
10-төменгі желдету саңылауы;
11-қиыршық тасты өртке қарсы тор;
12-май жинағыш.
Қазандық цехының негізгі және қосалқы бөлмелеріндегі ықтимал өрттердің сипаты оларда қазандық отынының көп мөлшерінің шоғырлануына байланысты. Шаң дайындау бөлімшелерінде көмір шаңының жарылуы жоққа шығарылмайды. Негізгі немесе қосалқы ("от жағу") отын ретінде мазут қолданылатын қазандық цехтарында мазут құбырлары зақымдалған кезде сұйықтық цехтың еденіне тез таралады, күл үй-жайына түседі және саптамалардан тұтанады [қысым шамамен 0,294 МПа (3 атмосфера), температура 120°С-тан жоғары]. Бұл жағдайда өрт бірден үлкен мөлшерде болады, ал ғимарат пен қазандық қондырғысының металл қорғалмаған тіректері 10-нан кейін...20 мин деформацияланған.
Төмен түсетін қосалқы станцияларда өрт көбінесе трансформаторларда, май қосқыштарында және кабельдік шаруашылықта болады. Ірі аудандық қосалқы станцияларда жанғыш сұйықтықтың едәуір мөлшері шоғырланған арнайы май станциялары бар. Әр трансформатор, әдетте, бөлек камераға орнатылады (сурет. 2). Алайда, суреттен өрттің осы камерадан тарату тақтасының бөлмесіне және кабельдік каналға таралуы, тіпті трансформатор жарылған кезде пайда болуы мүмкін камера қабырғаларына зақым келтірместен де жоққа шығарылмайтындығы көрінеді.
2.1 Электр қондырғыларында өртті сөндіру тәсілдері мен құралдары
Салқындатылатын жану аймағынан немесе жанып жатқан заттар; төмендеуімен жылдамдығы реакция тотығу есебінен араластыру әсер беретін
18
заттар; Оқшаулаумен жанып жатқан зат аймағы; жану химиялық тежеуді реакциялар тотығу (жану).
Аталған әдістерді іске асыруға өрт сөндіргіштер мен техникалық құралдардың үйлесімі немесе тек техникалық құралдар арқылы қол жеткізуге болады.
Жануды тоқтату үшін өрт сөндіргішті таңдау жағдайға байланысты ... Gorenje. Өртте және жанатын материалдың қасиеттерімен және жай-күйімен; өрт түрімен (ашық кеңістікте, шектеулі көлемде)анықталады:
- шарттарына жылу және газ алмасу өртте; параметрлерімен өрт (жану алаңы, температурасы және т. п );
- жануды тоқтату жөніндегі жұмыстарды жүргізу шарттарымен (мысалы, сөндіру құралдарын беруді жүзеге асыратын әк ағаштарына тікелей қауіптің болуы немесе болмауы);
Өрт сөндіру құралдарының болуы және Саны; өрт сөндіру құралының тиімділігі. Барлық өрт сөндіргіш құралдарды сипатталады кешенді әсері бар, т. е бір мезгілде жүргізеді, мысалы, салқындату жанып жатқан материалдың және сұйылту жану аймағынан. Алайда, тоқтату, жану қол жеткізіледі бірі қолданылатын тәсілі, ал қалғандары тек қана ықпал етеді тоқтату жану. Бұл өрт сөндіргіш пен жанатын материалдың қасиеттерінің арақатынасымен анықталады.
Мысалы, ауалы-механикалық көбік сөндіру кезінде тез тұтанатын сұйықтықтарды салқындатады жоғарғы қабаты, сұйықтықтың және бір мезгілде жайда оқшаулайды.
19
Байланысты негізгі процестің әкелетін тоқтату, жану, ең көп таралған тәсілдермен арасында жоғарыда аталған топтар болып табылады:
Салқындату әдістері-конденсацияланған фазаны үздіксіз су ағындарымен салқындату, бүріккіш су ағындарымен салқындату, жанғыш материалдарды араластыру арқылы салқындату;
Сұйылту әдістері - Газ және конденсацияланған фазаларды (қатты, сұйық) жұқа шашыраған су ағындарымен сұйылту, жанғыш сұйықтықтарды сумен сұйылту, жанбайтын газдармен немесе су буымен сұйылту;
Оқшаулау тәсілдері — оқшаулау көбік қабатымен әр түрлі жиілігін, оқшаулау қабатымен өрт сөндіргіш ұнтақ тәсілдері; химиялық тежеу реакциясы жану көмегімен өрт сөндіргіш ұнтақтарды немесе галоидопроизводных көмірсутектер.
Мысал ретінде салқындатқыш ретінде қолдануға болатын натрийді сөндіру әдістерін келтіруге болады. Олардың негізгілері: салыстырмалы түрде герметикалық үй-жайларда өзін-өзі сөндіру; ұнтақ құрамымен (глинозем) сөндіру; су тығыны бар науаларда сөндіру; апаттық ыдыстарға натрийді ағызу және олардағы натрийді өздігінен сөндіру болып табылады.
Салыстырмалы герметикалық үй-жайларда натрийді сөндіру азот беріліп және берілмей жүзеге асырылады. Азот сорғы станциясынан беріледі және жоғары қысымды қабылдағыштарда сақталады. Үй-жайда азотты тарату құбырлар арқылы жүргізіледі. Жүйені қосуды әдетте оператор жүзеге асырады. Натрийдің ағуы шамалы болатын үй-жайларға азот берілмейді.
Сөндіру үшін ұнтақ қосылыстары да қолданылады (алюминийдің техникалық оксиді—алюминий тотығы), олар ресиверлерден келетін азот қысымымен құбырлар арқылы беріледі. Ұнтақ натрий ағып кетуі мүмкін жерлерге жақын жерде шығарылады.
20
Паллет ішінде ауаның термиялық кеңеюі және оған металл ағызылған кезде бос көлемнің азаюы арқылы пайда болатын артық қысым паллеттің жоғарғы жағында орналасқан тесік арқылы шығарылады.
Егер натрийдің көп мөлшерін төгу мүмкін болса, оны төтенше жағдайларға төгу әдісі қолданылады.
Натрий ағызылатын үй-жайлардың едендері болатпен қапталуы мүмкін және олардың жағына еденнің еңісі орындалатын ағызу траптары болуы тиіс. Баспалдақ балқитын жабынмен және металл тормен жабылуы мүмкін.
Электр қондырғыларындағы өртті сөндірудің негізгі құралдарына, олардың қасиеттері мен қолдану салаларына қысқаша тоқталайық.
Су-ең көп таралған және тиімді өрт сөндіргіш. Жоғары жылу сыйымдылығы—4,19 Дж / (кгХград) — қалыпты жағдайда жақсы салқындату қасиеттеріне ие.
Судың термиялық төзімділігі жоғары. Тек 1700°C-тан жоғары температурада оның буы сутегі мен оттегіге ыдырайды. Сондықтан сумен сөндіруге көптеген қатты материалдарды және жанғыш сұйықтықтарды қауіпсіз, себебі температурасы кезінде жану аспайды 1300°С.
Өрт сөндірудің ең үлкен әсеріне су бүріккіш күйінде берілген кезде қол жеткізіледі. Судың беттік керілуін төмендететін суландырғыш ерітінділерін қолдану кейбір материалдарды сөндіру кезінде су шығынын 30-50% - ға азайтуға мүмкіндік береді.
Қол жеткізу үшін қажетті нәтиже сөндіру кезінде сумен, оның керек күлді жану белгілі бір қарқындылығы. Астында қарқындылығы су беру түсінеді оның саны беретін бірлігіне уақыт бірлігіне бетінің жану, м3/(м2-с). Сонымен, су беру қарқындылығы сөндіру кезінде болуы керек:
— жарқыл температурасы 28 С төмен 6-10-8-10—4 трансформаторлары 2-10-4бензин, лигроин, жеңіл мұнай және басқа да мұнай өнімдері электр
21
станцияларының жартылай қабаттары, жарқыл температурасы 60 °С және одан жоғары мазуттар 4-1С-44 Өрт сөндіру Электр энергетикасы электр қондырғысы өрт сөндіргіш.
- тұтану температурасы 120 °С 2-10-4 Жоғары Мұнай өнімдері
Көбіктердің өрт сөндіру қасиеттерінің көріну дәрежесі оларды қолдану жағдайларына байланысты. Мысалы, егер көбік сәулелі жылу ағынынан қорғау құралы ретінде пайдаланылса, онда оның беріктігі ең маңызды болып табылады. Бұл жағдайда көбіктің оқшаулау әсері бетінің бірлігіне 1 с үшін 1 см-ге тең қабат арқылы өтетін энергия мөлшерімен бағаланады. Көбікті сөндіру құралы ретінде пайдаланған кезде, Бірақ беттің жанғыш заттың булануына және көбік қабаты арқылы жану аймағына осы заттың буларының енуіне жол бермеу қасиеті үлкен маңызға ие. Жанғыш сұйықтықтарды сөндіру кезінде төмен және орташа көбіктердің оқшаулау қабілеті 1,5 — 2,5 мин, оқшаулау қабатының қалыңдығы 0,1-I м. ең үлкен өрт сөндіру әсеріне қол жеткізу үшін оқшаулау және салқындату қасиеттері барынша көрінетін көбіктерді пайдалану қажет.
Өрт сөндірудің максималды қабілетіне қол жеткізу үшін жағдай жасау шараларына жанып жатқан сұйықтықтарды сұйылту, жанып жатқан заттардың температурасын, қоршаған ортаны және т.б. төмендету жатады. төмен вольтты көбіктер негізінен бетінде сөндіріледі сұйықтықтарды сөндіру үшін көбіктер 1-ге дейін қолданылады, олардың көлемдік төсеніштері осы сұйықтықтардың көлемдік массасынан 5-50 есе аз. Мұндай көбіктер бетінде жақсы ұсталады және оған таралады, олар арқылы жанғыш булардың жарылуына тиімді қарсы тұрады және айтарлықтай салқындатқыш әсерге ие.
Жоғары көбік негізінен көлемді сөндіру, түтінді шығару, қондырғыларды жылу ағындарының әсерінен оқшаулау үшін қолданылады. Көлемді сөндіру кезінде су ағындарының көбікке әсер етуінен аулақ болу керек, өйткені олардың әсерінен ол бұзылады. Қудалау аймағына көбік жанармай қабаты, ағызу немесе ағын арқылы берілуі мүмкін. Бұл әдістердің
22
әрқайсысы шоғырланған және дисперсті беру арқылы жүзеге асырылады. Көбікті ағындармен беру ең көп таралған, бұл қабылдаудың қарапайымдылығы мен жеделдігімен түсіндіріледі. Алайда, көбіктің бұзылу қарқындылығы ең жоғары. Көбіктің бұзылу дәрежесі бойынша ағызу басқа екі әдіске қатысты аралық позицияны алады. Мәні бұл қабылдау ерекшелігі, пена из оқпандарды беріледі емес, тікелей жану аймағына ретінде беру кезінде ағынмен жіберуге немесе, ал іргелес аймағында жану беті ол сүйкімді аузынан қапал жану аймағына. Бұл жағдайда көбіктің таралу диапазоны тұтқырлыққа, төгу орнындағы қабаттың қалыңдығына, көбік генераторы тудыратын қысымға, ағынның бағытына, көбік беру қарқындылығына және көбік қозғалысының газ ағындарына сәйкестігіне, кедергілердің болуына және т. б. байланысты болады.
Ұнтақ қосылыстары электр өткізгіш емес, металдарды коррозияға ұшыратпайды және уытты емес, тек уыттылығы мен коррозиялық белсенділігі төмен SI типті ұнтақтардан басқа. Кемшілігі ОПС болып табылады олардың қабілеті слеживанию (комкованию) қиындатады сақтау, әсіресе ұзақ уақыт бойы, сондай-ақ беруге жану аймағына.
Бақылау ұнтақтың дисперсия дәрежесіне және ылғалдылығына байланысты. Ops ылғалдылығы 0,5% - дан аспауы керек. Ұнтақты қосылыстар жану аймағының беті мен көлемі бойынша сөндіріледі.Gorenje. Өртті сөндіру кезінде ӨҚҚ бетіне өрт сөндіргіш әсер жасалады, негізінен, оқшаулау жанып жатқан бетінде қол жеткізу ауаның, ал көлемдік сөндіру — қр ингибирующем әрекет ұнтақ, заключающемся да үзілген шынжыр реакция жану. Ұнтақ қосылыстары таңдамалы өрт сөндіру қабілетіне ие. Сонымен, PS типті композициялар натрийді сөндіру үшін тиімді қолданылады. PSB және PF типті ұнтақтардың жалпы мақсаты бар: олар сұйықтықтарды, газдарды, электр жабдықтарын, қозғалтқыштарды және т. б. сөндіреді.
Қажетті шарты жануды тоқтату үшін сөндіру кезінде ұнтақ беті бойынша жабу болып табылады жанып жатқан үстіңгі қабаты ОПС белгілі
23
бір қалыңдығы, әдетте аспайтын 2 см. Меншікті шығыны ОПС түріне жанып жатқан материалдың шарттарын және оның жану.
Тоқтату үшін жану кезінде көлемдік сөндіру қажет бірнеше секунд ішінде барлық аймағында жану осындай шоғырлануға ұнтақ, ол кезде бетіне ұнтақ қамтамасыз етеді талап етілетін жылдамдығы басу белсенді орталықтарының реакциялар жану. Бұл шеттетуде ұнтақ талап етілетін қарқындылығы және біркелкі, оны таратуға бүкіл жану. Мысалы, жану кезінде қр разлившемся жай-күйі (на бетонда, асфальтта сурет металда) трансформаторлық майдың меншікті шығыны ұнтақ КС құрайды 0,36 кг/м2 кезінде есеп беру уақыты сөндіру үшін 30 с.
Газ құрамдары. Энергия объектілеріндегі өрттерді сөндіру үшін газ құрамдары кеңінен қолданылды: галоидталған көмірсутектер (3,5; 7; BF-1; BF-2 және т.б.), көмірқышқыл газы, азот, су буы, сондай-ақ ұсақ дисперсті су. Аталған құрамдардың ішінен көмірқышқыл газы, азот, су буы және ұсақ дисперсті су Сұйылтатын өрт сөндіргіштерге жатады. Газ және аэрозольді сұйық бром құрамдары (көмірқышқыл газы және галоидты көмірсутектер) көптеген жанғыш сұйықтықтарды, газдарды, қатты заттар мен материалдарды (мысалы, натрийді, сондай-ақ ұзақ уақыт жануға қабілетті материалдарды қоспағанда) сөндіруді қамтамасыз етеді.
Бромды этил (С2Н5Вг) — көлемі бойынша 0,001% - дан аз концентрацияда сезілетін тән иісі бар lsgcоспарирленген сұйықтық. Бромды этил іс жүзінде пневматикалық өткізгіш, жоғары сулану қабілетіне ие, суда нашар ериді, резеңкені бұзады, алюминий мен магний қорытпаларын коррозияға ұшыратады. Этил түтіндері жақсы өрт сөндіру қасиеттеріне ие. -30 °C температурада оның буларының серпімділігі өрт сөндіру концентрациясын жасау үшін жеткілікті. Тоқтату жану бромистым этилом ретінде және кез келген басқа да галоидоуглеводородами және галоидоуглеродами, арқылы қол жеткізіледі химиялық тежеу реакциясы жану. Көлемі бойынша 6,75—11.25% концентрациясында бромды этил
24
қуатты тұтану көзінің әсерінен тұтануы мүмкін, сондықтан таза күйінде қолданылмайды. Алайда, жоғары өрт сөндіру қасиеттеріне байланысты ол 3,5 өрт сөндіру құрамындағы негізгі компонент болып табылады; РФ-1; BF-2; BM.
Хладон 114В2-ерекше иісі бар және қайнау температурасы 47 °С болатын ауыр түссіз сұйықтық; сондықтан өртті сөндіруге арналған бөлмеге Шашыратылған күйде беріледі. Өте тиімді болып табылады тежегіші жану — өрт жалын кезінде қол жеткізіледі көлемдік концентрациясы шамамен Z 70. Жаппай өрт сөндіру концентрациясы 0,215 кг / м3, жергілікті сөндіру кезіндегі үлес шығыны 0,2 кг/(м3-с). Хладон буы ауадан әлдеқайда ауыр (будың тығыздығы 8.97 кг/м3). Хладонды жоғарғы аймаққа берген кезде олар тез орналасады және бөлменің бүкіл биіктігінде өрт ошағына әсер етеді. 1 кг хладоннан 0 С кезінде 87 л бу түзіледі.
25
3. Өртті сөндіру.
Кезекші персоналы бар электр станциялары мен ірі қосалқы станциялар қашықтан басқарылады, барлық объектілер сенімді авариялық қорғау және дабыл жүйесімен жабдықталған. Өрт туындаған кезде зақымдалған жабдық релелік қорғау құрылғыларымен авариялық түрде ажыратылады.
Кейбір жағдайларда өрт учаскесінде электр жабдықтарын қысқа мерзімде өшіру мүмкін емес. Сондықтан өртті сөндіру кезінде әрдайым жұмысты электр қондырғысының аға персоналының нұсқауларына сәйкес ұйымдастырады, ол сөндіру жұмыстарын жүргізуге РТП-ға жазбаша рұқсат береді.
Жоғарыда аталған Нұсқаулық техникалық персонал болмаған кезде электр қондырғылары кернеуде деп есептеуді қарастырады. Мұндай жағдайларда Нұсқаулық 10 мың кВ дейінгі кернеудегі электр жабдығын сөндіруге су ағындарын ұңғыманы көру үшін ашық қондырғыларда 4АМ су ағынының ұзындығы кезінде беруге мүмкіндік береді 4...8 м (кернеуге байланысты).
Оқпан диэлектрлік етік пен қолғапта болуы керек, бүріккіштегі оқпан мен өрт сорғысы бір жерге тұйықтағышты немесе жалпы контурды қолдана отырып, қимасы кемінде 10 мм болатын икемді мыс сыммен жерге тұйықталуы керек. Қашықтық 0,5 мА-дан аспайтын ток ұңғысы арқылы өту жағдайынан қабылданады, бұл адамдар үшін өте қауіпсіз. Судың меншікті кедергісі 1500 Ом / см2 қабылданды. 100 мА ток адам өміріне қауіпті, ток 0,6... 1,5 мА саусақтардың дірілдеуін тудырады, ток 20...25 мА — қолдың сал ауруы (жәбірленуші сымдардан өздігінен шыға алмайды), ток 50... 80 мА-тыныс алудың сал ауруы.
Кернеуге ұшырауы мүмкін учаскелерде ток соғуын болдырмау үшін кернеудегі ток өткізгіш бөліктерді қоршауға кіруге болмайды.
Төгілген майдың, трансформаторлардың және кабельдік туннельдердің өрттерін көбікпен сөндіру ұсынылады. Бірақ көбік түзетін суға қоспа оның
26
кедергісін төмендететінін және қуатсыз электр қондырғыларында ток соғу қаупін арттыратынын есте ұстаған жөн.
Өрт сөндірушілер келгенге дейін электр станцияларында өртті сөндіру кезіндегі алғашқы әрекеттерді әдетте кезекші персонал орындайды. Агрегаттарды желіден ажыратқаннан кейін стационарлық өрт сөндіру қондырғылары іске қосылады (егер олар автоматты түрде қосылмаса).
Ауамен салқындатылған генераторлар мен гидрогенераторлар орамаларының жануы генераторға салынған стационарлық су сөндіру жүйесін іске қосу немесе генераторды станциядағы бар баллондардан көмірқышқыл газымен (көмірқышқыл газымен) толтыру арқылы жойылады. Қосымша шара ретінде машинаның корпусына бу беру қолданылады. Бұқтыруға арналған құм қолданылмайды. Стационарлық өрт сөндіру қондырғылары зақымданған жағдайда тоқтатылған орташа көбік генераторына беру тиімді болуы мүмкін.
Электр станциясының машина залында өрттің ықтимал даму сипатын және сөндіру ерекшеліктерін келесі мысалда көрсетуге болады.

Сурет. 1. Май құбырының жарылуы нәтижесінде пайда болған өртті сөндіру
1-турбина цехы;
2-кабельдік туннель;
3-қазандық цехы;
4-көбік су цистернасы;
27
5-кабельдік туннель;
6-өндірістік-дөңгелек каналдан су алуға арналған құдық; ТГ — турбогенератор;
К-150-диаметрі 150 мм сақиналы су құбыры
Мысал. Өрт болған турбиналық цех жоспардағы көлемі 134X40 м отқа төзімділігі II дәрежелі электр станциясының бас ғимаратында орналасқан (сурет. 3.). 0 сағат 15 минутта қуаттылығы 50 мың кВт болатын № 4 турбогенераторда турбинаның құлыптау клапанының жанындағы Май құбыры үзілді. 1,372 МПа (14 атмосфера) бастапқы қысыммен диаметрі 19 мм тесік арқылы май шығарыла бастады, ол 560°C температурадағы бу құбырының оқшауланбаған бөлігіне түскеннен кейін өздігінен тұтанды. Цехтың аудандық өрт сөндіру бөлімімен тікелей радио байланысы болды, ол 0 сағат 17 минутта өртке себеп болды.
Өрт сөндіру бөлімдерінің шығу кестесіне сәйкес Өртке тағы алты негізгі және үш арнайы көлік жіберілді.
Станция қызметкерлерінің ешқайсысы кездестірмеген аудандық бөлімнің кезекші қарауылының келуіне (0 сағат 20 минут) өрт айтарлықтай көлемде болды. Мұнай құбырлары 4 минут бойы жабылмағандықтан, турбогенератор өшірілгеннен кейін білік тағы 20 айналуды жалғастырды...25 мин, ал онымен бірге вращалось дөңгелегі ортадан тепкіш маслонасоса агрегатының жану ошағына қысыммен болды тасталғандардың 2 т майлар. Жалын алауының әсерінен екі металл фермалар мен цехтың шатырсыз жабыны учаскесінің плиталары құлады. Артық бу төгілген кезде қатты шу пайда болды. Қазандық цехының бөлмесі түтін болып шықты.
3.1 Электр қондырғыларында өртті сөндіру ерекшеліктері
Кабельдік құрылыстардағы өртті сөндіру:
Кабельдік құрылыстарда өрт сөндірудің автоматты қондырғысы болған кезде оның қосылуы мен жұмыс тиімділігі тексеріледі. Егер ол автоматты түрде қосылмаса, онда көрсетілген үй-жайда жөндеу жұмыстарын орындау
28
үшін персоналдың жіберілмегеніне алдын ала көз жеткізіп, қашықтан (қолмен) басқару күшіне енгізіледі.
Ашық кабельдік трассаларда өртті сөндіру кезінде өрт оқпандарынан шашылған су қолданылуы тиіс.
Кәбіл құрылыстарына (туннельдерге, қабаттарға, шахталарға) өту және негізгі кіреберістерден (есік ойықтарынан) басқа, жылжымалы өрт сөндіру құралдарынан тозаңданған суды, ауа-механикалық көбікті беру үшін қолда бар люктерді пайдалану қажет.
Өрттің таралуын болдырмау мақсатында жылжымалы өрт техникасынан ауа-механикалық көбікпен кәбіл үй-жайының көлемін толтыру үшін люктер арқылы су перделерін жасау немесе көбік генераторларын енгізу жөнінде шаралар қабылдануы тиіс, бұл ретте 3.12-тармақта көрсетілген талаптар сақталуы тиіс.
Көбік кабельдік үй-жайларға есік саңылаулары арқылы берілген кезде көбік генераторлары есік жақтауының жоғарғы жағына немесе оған жақын бекітіледі.
Генераторлар мен синхронды компенсаторлардағы өртті сөндіру
Генераторлардың немесе ауамен салқындатылатын синхронды компенсаторлардың орамдары жанған кезде машинаны персонал авариялық тоқтатуы, желіден ажыратылуы және су өрт сөндірудің стационарлық қондырғысы іске қосылуы тиіс.
Генераторлардың немесе синхронды компенсатордың ішіндегі өртті сөндіру үшін көбік және химиялық өрт сөндіргіштерді қолдануға тыйым салынады.
Жану кезінде (мойынтіректердегі және генераторлар мен сутегімен салқындатылған синхронды компенсаторлардың басқа жерлеріндегі сутегінің жарылыстары0 турбогенераторды (синхронды компенсаторды) авариялық тоқтатып, желіден ажырату қажет. Орталықтандырылған жүйеден сутектіесыстыру үшін корпусқа көмірқышқыл газын (азот) беріңіз. Сонымен
29
бірге көмірқышқыл газын сөндіргіштермен және басқа да өрт сөндіру құралдарымен сутекті сөндіруге кірісіңіз.
Өртті сөндіру үшін төгілген майдың бұзылуы салдарынан мойынтіректерін тығыздау, фланецті құбырларында және жануды кабельдік трассаның турбогенераторлардың қолдану керек суға өрт сөндіру крандары мен жылжымалы құралдарды (өрт сөндіру машиналары) сақтай отырып, қауіпсіздік техникасы ережесі.
Май бактарында стационарлық суару қондырғысының турбогенераторлары болған кезде ол қолданысқа келтірілуге тиіс.
Турбогенераторларда өрт туындаған кезде өрт крандарынан немесе лафеттік оқпандардан су ағындарының көмегімен машина залының жабынының металл фермаларын салқындату жөнінде шұғыл шаралар қабылдау.
Жылу немесе атом электр станциясының турбогенераторының май жүйесінде өрт болған кезде, оның май ыдысына таралу қаупі бар болса, майды авариялық сыйымдылыққа түсіру жөнінде шаралар қабылдасын немесе май ыдысын суарудың стационарлық қондырғысын (ол болған кезде) қоссын. Трансформаторлар мен май толтырылған реакторлардағы өртті сөндіру бойынша ұсыныстар
Өрт туындаған кезде трансформатордың (реактордың) авариясы кезінде ол барлық жағынан желіден ажыратылып, жерге тұйықталуы тиіс.
Кернеуді алып тастағаннан кейін өртті сөндіруді кез келген өрт сөндіру құралдарымен (бүріккіш сумен, ауа-механикалық көбікпен, өрт сөндіргіштермен) жүргізу керек.
Тәжірибе көрсеткендей, су, әсіресе Шашыратылған су, төгілген майды сөндірудің тиімді құралы болып табылады.
Трансформаторда (реакторда) стационарлық өрт сөндіру қондырғысы болған жағдайда, ол автоматты түрде қосылмаса, қашықтан (қолмен) қосылуы тиіс.
30
Трансформатордың ішкі зақымдануы кезінде (реактор0, шығатын құбыр арқылы немесе төменгі коннектор арқылы (болттардың кесілуі және коннектордың фланецінің деформациясы) және трансформатордың (реактордың) ішіндегі өрттің пайда болуы кезінде өртті сөндіру құралдарын трансформатордың (реактордың) ішіне жоғарғы люктер арқылы және деформацияланған коннектор арқылы енгізу керек.
Трансформаторда (реакторда) өрт болған кезде трансформатордан (реактордан) майды ағызуға тыйым салынады, себебі бұл ішкі орамалардың зақымдалуына және одан әрі сөндірудің қиындауына әкелуі мүмкін.
Жабық үй-жайда (камерада) және жабық тарату құрылғысында (ЖҚҚ) орнатылған трансформатордағы өрт кезінде өрттің ойықтар, арналар, желдету жүйесі және т.б. арқылы таралуының алдын алу бойынша шаралар қабылдануы тиіс.
Трансформаторда дамыған өрт кезінде жоғары температураның әсерінен су ағындарымен металл тіректерді, порталдарды, көрші трансформаторларды және басқа жабдықтарды қорғау қажет, бұл ретте су ағындарының әрекет ету аймағында ең жақын жабдықтар мен таратқыш құрылғылардан Жоғары кернеу алынып тасталуы және олар жерге тұйықталуы тиіс.
31
Қорытынды
Бұл жұмыста Энергетика объектілеріндегі өрттерді сөндіру ерекшеліктері қарастырылған.
Энергетика объектілеріне жылу, Атом, газ ағыны және дизель электр станциялары, жылу электр орталықтары жатады.
Электр станцияларында кездесетін жанғыш заттар мен материалдардың ішінде мыналарды атап өтуге болады: авариялық Электр станцияларына арналған дизель отыны, гидравликалық май, майлау майлары (мысалы, турбиналық мойынтіректерді салқындату және майлау үшін), трансформатор майы, генератор роторын салқындатуға арналған сутегі, жанғыш сүзгі материалдары (көмір), электр кабельдерін оқшаулау, құрылымдық материалдар пластмасса негізінде және т. б.
Электр станциясының ғимараттарындағы өрттерді талдаудан машина залдары мен қазандықтарда өрттің таралуы әдетте өте тез жүретінін көруге болады. Бұл қарқынды жануымен майы (машиналық залдарда), мазут, дизельді отын және басқа да жанғыш сұйықтықтарды (қазандық), орналасқан ыстық немесе қыздырылған күйінде. Өрттің тез дамуы температураның қарқынды көтерілуіне, металл конструкцияларының сыни температурасына дейін жылынуына және жабынның құлауына әкеледі.
Кабельдік қондырғылардың өрт қаупін бағалай отырып, сымдар мен кабельдерді өру және оқшаулау үшін қолданылатын материал ретінде поливинилхлорид жиі қолданылатынын атап өткен жөн, ол қызған кезде сутегі хлоридін шығарады. Кабельдік үй-жайларда өрттер негізінен қысқа тұйықталу (қысқа тұйықталу), оқшаулаудың электрлік бұзылуынан немесе оның қызып кетуінен болады.
Өрттің электр станцияларының машина залдарында тәуелді сипаттағы туындаған жану (тұтану бу май, жарылыс, ҚТ және т. б.). Жарылыстар кезінде өрттер ең қарқынды дамиды, көршілес генераторлардың, турбиналардың жүйелеріне көптеген ошақты зақым келген кезде,
32
нәтижесінде салқындату жүйесінен сутектің шығуы, майдың таралуы, жедел ток желілерінде қысқа тұйықталу, бақылау және қуат кабельдерінің пайда болуы мүмкін. Ғимараттың қоршау құрылымдарының құлауы мүмкін.
Электр станцияларында қолданылатын заттардың ішінде ең өрт қаупі турбиналық және трансформаторлық майлар болып табылады. Трансформаторлардағы өрттердің дамуы негізінен олардың пайда болу себептеріне және трансформатор корпусының мінез-құлқына байланысты.
Тарату құрылғыларындағы өрттер негізінен май толтырылған аппараттардың апаттарында немесе оқшаулаудың тұтануынан болады. Олардың ішінде ең өртке қауіпті: май ажыратқыштары, трансформаторлар (күш, өлшеу), реакторлар және конденсаторлар.
Ауыр зардаптары бар өрттер қазандық цехтарының негізгі және қосалқы үй-жайларында болуы мүмкін, онда қазандық отынының көп мөлшерін шоғырландыруға болады. Шаң дайындау бөлімшелерінде көмір шаңының жарылуы жоққа шығарылмайды.
Өрт кезінде электр қондырғыларында байқалуы мүмкін әсері адамдарға мынадай қауіпті факторлары: ашық от және ұшқын; жоғары температура ауа, жабдықтар және т. б., уытты жану өнімдері немесе термиялық ыдырату; түтін және соның салдары ретінде - төмендету көріну; төмен концентрациясы оттегі; құлау конструкцияларды, элементтерін жабдықтар мен ғимараттар; жарылыс; жоғары кернеу.
33
Пайдаланылған әдебиеттер:
1. Ресей ТЖМ 31.12.02 ж. №630 "Ресей ТЖМ МЖӘ бөлімшелерінде еңбекті қорғау жөніндегі Ережелерді бекіту және күшіне енгізу туралы" бұйрығы (тер РО-2002).
2. Ресей ІІМ - нің 05.07.95 жылғы №257 бұйрығы "Ресей Федерациясы ІІМ МЖӘ қызметіндегі нормативтік-құқықтық актілерді бекіту туралы", қосымша.№2 (БУПО).
3. Әртүрлі нысандардағы өрттерді сөндіруге байланысты жауынгерлік іс-қимылдарды жүргізу және бірінші кезектегі авариялық-құтқару жұмыстарын жүргізу ерекшеліктері туралы ұсыныстар, М.: Ресей ІІМ ГУГПС, 02.06.2000 ж.
4. Ашық технологиялық қондырғыларда өртті сөндіру бойынша ұсыныстар.
5. Я. с. Позик және т.б." өрт тактикасы ""энергетикалық кәсіпорындарда және электр қондырғылары бар үй-жайларда өртті сөндіру тактикасы".
34
шағым қалдыра аласыз













