ОҚО, Түркістан қаласы, №21 колледжінің оқу өндіріс шебері
Сабақтың тақырыбы: Қозғалтқыштың салқындату жүйесіне
ТҚ көрсету және жөндеу
Сабақтың мақсаты: 1. Білімділік – студенттердің қозғалтқыштың салқындату жүйесінің құрлысы және қызметімен таныстыру, білімдерін тереңдету. Салқындату жүйесіне жүргізілетін ТҚ көрсету, олардың негізгі ақаулары және жөндеу кезінде орындалатын жұмыстармен таныстыру, түсіндіру.
2. Дамытушылық – оқушыларға көрнекіліктерді, оқу стендтерін, слайд, бейне роликтер, электронды оқулықтарды пайдалана отырып білімдерін дамыту.
3. Тәрбиелік - сабақ барысында оқушылардың сабаққа белсенді, ұйымшыл қатысуын қадағалау, Отан сүйгіштікке тәрбиелеу.
Оқыту формасы: сабақ, жекелей, топтық,
Пәнаралық байланыс: физика, химия, материалтану
Оқыту тәсілдері: баяндау, лекция, көрсету,
Пайдаланылған әдебиеттер: 1. П.Ж.Жүнісбеков. Авт. құр және пайдалану
2. Газет журналдар. Автопарк, Автокруиз 3. И.П.Плеханов. Автомобиль.
Пайдаланылатын көрнекіліктер: плакаттар, суреттер, бөлшектер, схемалар, видеоматериалдар, слайдтар, электронды оқулықтар, тестік сұрақтар, үлестірмелі карточкалар.
Сабақтың барысы:
1. Ұйымдастыру: а) Оқушыларды түгелдеу
б) Сабаққа даярлығын тексеру
2. Өткен сабақты қайталау: а) Оқушылардан сабақ сұрау
б) Қосымша сұрақтар беру
в) Үлестірмелік материалдар.
Аудиториялық сұрақтар,
-
Қозғалтқыштың салқындату жүйелерінің қызметі және олардың түрлері?
-
Сұйықпен салқындатылатын жүйенің негізгі бөлшектерін атаңыз?
-
Ауамен салқындату жүйесінің қалай жұмыс істейтіндігін ата?
-
Антифриз не себептен салқындату жүйелерінде пайдаланылады?
-
Желдеткіш белдігінің керілуін қалай тексереді және реттейді?
-
Темостаттың қызметі.
-
Жүйедегі сұйықтықтың айналу бағыттарын ата?
Тестік тапсырма.
Интерактивті тақтада электронды оқулықтан студенттерге тестік тапсымалар беріледі. Әрбір студент жауап беру арқылы қанша балл жинағанын көре алады.
Үлестірмелік тапсырмалар.

Әрбір студентке төмендегідей суретімен үлестірмелік материал таратылады. Студенттер әр бөлшекке тиісті сандарды қойып дұрыс табуы керек. Сандар қойылып болған соң екі студент бір бірімен тапсырма алмастырылып, тақтаға дұрыс сандар қойылған сурет шығарылады. Студенттер бір бірінің жұмысын тексеріп, қателерін түзетеді.


3. Жаңа сабақты түсіндіру: а) тақырыпты жаздыру
б) мәлімет беру
САЛҚЫНДАТУ ЖҮЙЕСІНІҢ ҚҰРЛЫСЫ, ЖАЛПЫ МӘЛІМЕТ
Қозғалтқыш жұмыс істеген кезде цилиндр ішінде жанған жанармай және осыдан 1800-3000 градусқа дейін қызған газ цилиндрлер кенересін, поршень мен блок қалпақшасын қыздырады. Суыту жүйесі қызған бөлшектерді суыту үшін қажет. Іштен жанатын қозғалтқыштарға артық жылуын шығаруды сұйықпен немесе сыртқы ауаның көмегімен жасанды түрде суыту арқылы жүзеге асырады.
Іштен жанатын жылу қозғалтқыштарында жанар май бөліп шығарған жылудың барлығы дерлік жұмысқа айналмайды. Себебі жану және ұлғаю процестері кезінде жанған газ қозғалтқыш бөлшектерімен жанасатындықтан, жылудың бір бөлігі осы бөлшектерге беріледі. Ал жылудың бөлшектерге берілу құбылысын мүлде болдырмауға болмайды. Өйткені олардың температурасы жанған газ температурасынан бірнеше есе аз. Олай болса жылудың төменгі температурадағы бөлшектерге ауысуы табиғи зандылық.
Қозғалтқыш бөлшектеріне берілген жылу, олардың температураларын біртіндеп көтере береді. Егер сол жылуды бөлшектерден алып кетпесе, онда олар өте жоғарғы температураға дейін қызып, өздерінің физикалық, механикалық қасиеттерін нашарлатады, яғни олардың қаттылығы, беріктігі, тозуға төзімділігі нашарлап, өте ұлғаюдың салдарынан алғашқы дәлдікпен қойылған мөлшерлері өзгеріп кетеді. Оның үстіне, оларға жағылатын май қабаттары күйіп, олардың беттеріңде күйе түзеді де барлық жұмыс процестерінің бұзылуына себебін тигізеді.
Сонымен суыту жүйесінің негізгі қызметі, ол қозғалтқыштың қызған бөлшектеріндегі артық жылуды сыртқа шығарып, қоршаған ортаға таратып жіберу болып табылады, яғни қозғалтқыштың қызған бөлшектерінен сыртқа жылу тасымалдайтын қондырғы болуы қажет. Осы тұрғыдан қарағанда қозғалтқыштардың суыту жүйесі осы жылуды тасымалдайтын материалдың түріне қарай екі түрге бөлінеді. Оның біріншісі ауа болса, екіншісі сұйық болады. Олай болса қозғалтқыштар ауамен суытылатын немесе сұйықпен суытылатын болып екі түрге бөлінеді және олардың құрылысы да әртүрлі болады.
Ауамен салқындатылатын қозғалтқыштарда бөлшектердің қызуды бәсеңдету үшін цилиндрлерге және оның қалпақшаларына роторлы желдеткіш ауа үрлейді. Желдеткіш ротордан тұрады, оның көп санды қалақшасы мен қозғалмайтын бағыттаушысы бар.
Желдеткіш роторының айналу жиілігін өзгерту арқылы жылу режимін автоматты түрде реттейді. Осы мақсатта гидродинамикалық муфта қолданылады.
Қозғалтқыш қызбағанда және цилиндрлер қалпақшасының температурасы жеткіліксіз болғанда золотник майлау жүйесіндегі майды гидромуфтаға жібермейді, соның нәтижесінде турбиналы дөңгелек желдеткішпен қоса айналмайды. Қозғалтқыш температурасы қажетті деңгейге жеткенде реттеуіштің сезімтал сезгісі золотникті ығыстырып, майдың гидромуфтаға өтуіне жол ашады. Мұның өзі жетектегі дөңгелектің желдеткіш роторымен бірге айналуын мәжбүр етеді.
Қозғалтқыштың температурасы неғұрлым жоғары болса, гидромуфтаға май соғұрлым көп құйылады, әрі желдеткіш роторы да аса тез жиілікпен айналады. Температура белгілі бір мәнге дейін төмендегенде золотник майдың муфтаға келуін шектейді де, желдеткіш айналысын баяулатады.
Ауамен суытылатын қозғалтқыштарда қозғалтқыштардың қызатын негізгі бөлшегі цилиндр блогы мен оның басына арнаулы аралықтарынан ауа жүретін етіп қабырғалар жасалады. Ол қабырғалар әрі суытылатын бөлшектің ауамен жанасатын ауданын көбейтеді. Енді сол қабырғалардың аралықтарынан сыртқы қоршаған ортадан арнаулы желдеткіш арқылы ауа үрлейді. Үрленген ауа сол қабырғаларды аралап өткен кезде бөлшектерде артық жылуды өзіне қабылдап, әрі қарай сыртқы қоршаған ортаға шығып кетеді.
Мұндай суыту жүйесі құрылысы жағынан өте қарапайым бола тұрса да, оның негізгі кемшілігі сырттағы қоршаған ортаға тәуелді жүмыс істейді. Көбінесе жазғы ыстық кездерде қозғалтқышты қалыпты жағдайға дейін суыта алмайды. Сондықтанда мұндай суыту жүйелері, қуаты аз кішігірім қозғалтқыштарда қолданылады.
Қозғалтқыштарда көбіне жабық суыту жүйесі қолданылады. Радиатор нығыз жабылады да, тек қысым өте жоғары немесе өте төмен болғанда ғана бу клапаны арқылы сыртқы атмосферамен қатысады. Оларда сұйықтықтың булануы шамалы ғана болады және судың температурасы жоғары болады. Сұйықтықтың жоғарғы температурасы қозғалтқыштың жұмысына қолайлы әсер етеді.
Автомобильдердің қозғалтқыштарында көпшілік жағдайда сұйықпен салқындататын жүйе қолданылады. Олардың да атқаратын қызметі жоғарғыдай бірақ жылу тасымалдау үшін арнаулы сұйық (су, антифриз, тосол) қолданылады.
Қозғалтқыш алғаш жұмысқа қосылған кезде, әсіресе қыс мезгілдерінде, оны тез қыздыру үшін немесе сырттағы жағдайға суыту жүйесі тәуелді болмас үшін суыту жүйесіне термостат қойылады. Соның көмегімен қозғалтқыштың температурасы үнемі қалыпты мөлшерде ұсталып тұрады.
Термостат су температурасын автоматты түрде реттеп, қозғалтқыш іске қосылғаннан кейін оның тез қызуын қамтамасыз етеді.
Сұйықпен суытушы жүйелерде термостат, желдеткіш және радиатор әртүрлі жағдайда болады. Желдеткіш иінді біліктен тұрақты беріліс алады немесе жеке электроқозғалтқышқа жалғанады.
Желдеткіш тұрақты айналып тұратын суыту жүйесі кіші және үлкен айналымда жұмыс істейді. Сұйықтың температурасына байланысты термостат, кіші немесе үлкен айналыммен қозғалтқышты суытады. Үлкен айналымда сұйық радиатор арқылы өтіп суиды.
Желдеткіш электродвигатель арқылы немесе муфта (ажыратқыш) арқылы айналатын қозғалтқыштарда үш түрлі әдіспен суытылады.
1. Кіші айналым - сұйық суық кезінде (87 градусқа дейін) термостат сұйықты радиаторға жіберетін түтікті жауып қалады .
2. Екіншісі үлкен айналым - термостат сұйықты (87-102 град) радиатор арқылы өткізеді, желдеткіш айналмайды.
3. Үшінші жағдайда (102 град. жоғары) сұйық үлкен айналым арқылы суиды, желдеткішті іске қосылады .
Сұйықтық жылытқыштар жұмыс істеуі бір-біріне ұқсас болады. Жылытқыштың жұмысын басқару пульті реттейді. Қазанның жану камерасындағы жанармай (бензиннің төменгі сорты) өз ағынымен бакқа құйылады. Жанармайдың келуі электромагнитті клапанның реттегіш инесі арқылы мөлшерленеді. Ауа электр желдеткіші арқылы беріледі. Қоспа - оттық арқылы тұтанады. Қазанда пайда болған жалын қозғалқыш түбіндегі майды қыздырады, ал қазан іші қозғалтқыштың су көйлегімен жалғасқан.
Сонымен қозғалтқыш салқын кезінде термостат клапаны жабық болғандықтан насоспен айдалған сұйық су көйлегінен шыққаннан кейін радиаторға өте алмайды да термостат қасындағы басқа тесікпен қайтадан насосқа келеді. Сөйтіп, қозғалтқыш салқын кезінде сұйық қысқа жолмен айналып, оны тез қызуына мүмкіндік тудырады. Ал қозғалтқыш қызғаннан кейін, термостат клапаны ашылады да енді сұиық радиатор арқылы өтіп салқындап, қайтадан насосқа келеді.
Осылайша термостаттың көмегімен двигательдің тем-пературасы шамамен 85°-90° мөлшерінде тұрақты ұсталып тұрады. Оның температурасын термометрмен (13) жүргізуші үнемі бақылап отырады.
Осы айтылған ретпен жұмыс істейтін суыту жүйесінің екі түрі болуы мүмкін: біреуі ашық, екіншісі жабық суыту жүйесі. Ашық суыту жүйесінде буланған сұйық радиатордың қақпағы арқылы сыртқа шығып кетіп отырады. Ол кезде, әрине суытатын сұйық ысырап болады. Ондай жағдайды болдырмас үшін жүйені жабық етіп жасайды, яғни радиаторға бу мен ауа клапандары бар арнаулы қақпақ жабады. Жүйедегі сүйық буланып, ондағы қысым (шамамен 100 кПа) артқан кезде бу клапаны ашылады да сұйық буы түтікпен қосымша қойылған кеңейткіш ыдысқа келеді. Онда салқын суытатын сұйық белгілі бір мөлшерге дейін құйылып қойылған. Енді бу сол салқын сұйықпен араласып, қайтадан тамшыға айналады. Сөйтіп, суытатын сұйық ысырабы болмайды. Ал қозғалтқыш тоқтап, жүйедегі сұйық салқындаған кезде ондағы қысым азайып, тіпті сырттағы ауа қысымынан кеміп қалады. Сол кезде радиатор қақпағының ауа клапаны ашылады да ол арқылы жаңағы кеңіткіш ыдыстағы сұйық жүйеге сорылып алынады. Сөйтіп суыту жүйесі алғашқы қалпына қайтадан келеді. Енді жүргізуші тек сыртта орналасқан кеңіту ыдысындағы сұйықтың деңгейін бақылап тұрса жеткілікті болады.
Көптеген қозғалтқыштарда желдеткіш жетегінің жұмысын өзгерту қолданылады. Мысалы арнаулы температураға әсер алатын қондырғы қолданып, желдеткішті сұйық қызған кезде ғана электр қозғалтқышымен іске қосады. Немесе оның жетегіне май тұтқырлығын пайдаланатын қондырғы орнатады. Салқын кезде май тұтқырлығы көп болғандықтан желдеткішке қозғалыс берілмейді, ал керісінше жүйедегі температурадан май қызып, тұтқырлығы азайған кезде желдеткіш жұмыс істей бастайды. Осы сияқты көптеген тәсілдер қолданылуы мүмкін.
Қайсыбір қозғалтқыштардың суыту жүйесінде екі клапанды термостат қолданылады. Ондағы негізгі клапан радиаторға баратын сұйықты реттесе, екінші қосалқы клапан тез қыздыруға тиісті құралдарға қызған сұйық жіберіп тұрады. Ондай құралдарға карбюратор астындағы сору жеңшесі, кузовты жылытатын радиатор т.с.с.
Осы айтылғандай өзгерістер жалпы суыту жүйесінің жұмыс принципіне әсерін тигізбейді. Сондықтан оларды әрбір қозғалтқыштардың заводтық нұсқалары немесе арнаулы өдебиеттерден танысуға болады.
Суыту жүйесінде негізгі реттеу жұмысына желдеткіштің белдігін керу жатады.
Желдеткіштің белдігін кергіш ролик арқылы реттейді. Желдеткіш білігінен белдікті берілу арқылы генератор мен компрессорға қозғалыс беріледі. Бұл белдікті берілісті генератор корпусын бүру арқылы кереді. 40 Н (4 кгс) күшпен итергендегі бұл белдіктің бүгілуі 10-15 мм болуға тиіс. Су насосына қозғалыс иінді біліктің шестернясынан аралық шестерня арқылы беріледі. Оның жұмысын реттеудің қажеті болмайды.
Қозғалтқыштың суыту жүйесінің жылулық ережесі қалыпты болуы тікелей термостатқа байланысты. Қозғалтқыштың салқын кезінде суыту жүйесіндегі су радиаторға бармастан термостат арқылы қайтуға тиіс. Сөйтіп ол қозғалтқыштың өз ішіне ғана айналып жүреді де, тез жылынады. Оның температурасы қалыпты мөлшерге жеткеннен кейін термостат клапаны ашылады да, енді су радиатор арқылы айналады. Термостаттың жұмысын жиі-жиі тексеріп отыру қажет.
Тремостаттың негізгі жұмысы жиырылған қорапқа байланысты. Егер ол қорап зақымдалып немесе тесіліп қалса, оның клапаны жабылмайды да, қозғалтқыш температурасы төмен кезінде су радиаторға өтіп, суи береді. Мұндай жиырылған қорабы зақымдалған термостаттарды алмастырады.
Термостаттың жұмысын мына жолмен тексеруге болады. Оны қозғалтқыштан шығарып алып, термометрі бар ыдыстағы ыстық суға салады. Содан кейін клапанның ашыла бастаған және толық ашылған кезіндегі температуралары шамамен 70 және 85°С болатындығын тексереді. Егер олар сәйкес келмесе, мүндай термостатты да алмастырады. Жоғарыдағы-дай тексеру кезінде клапанның ашылу биіктігін өлшейді. Клапанның толық ашылу биіктігі 9 мм болуға тиіс.
Суыту жүйесінде таза, мүмкіндігінше жұмсақ суды пайдалану немесе суыту жүйесінде қолданған суды құю қажет. Кермек суды жұмсарту үшін 30 минуттай қайнатады, сондай-ақ оған сода немесе үшнатрий фосфат қосады. Судың кермектілігіне қарай 10—20 г үш натрий фосфатты немесе соданы 10 л. ыстық суға ерітеді.
Қозғалтқыш істеп тұрған кезде және қатты ысып кеткенде суыту жүйесіне суды аз-аздан құяды. Қыс кезіңде цилиндр мен блок жарылып кетпеу үшін салқын қозғалтқышқа өте ыстық су құюға болмайды.
САЛҚЫНДАТУ ЖҮЙЕСІНЕ ТЕХНИКАЛЫҚ ҚЫЗМЕТ КӨРСЕТУ
Күнделікті техникалық қызмет (КТҚ):
1) жүйенің герметикалығын тексеру, қажет болған жағдайда, ақауын түзету;
2) сұйықтықты үнемі қадағалап отыру және егер қажет болса, үстемелеп құю. Оның деңгейі құятын аузының жоғарғы шетінен 15—20 мм төмен болуы тиіс:
3) желдеткіш ременінің күйін және керілуін тексеру;
Күн сайын радиатордағы су деңгейін тексеру қажет. Радиатор қақпағын қозғалтқыш суығанда немесе ол істеп тұрғанда абайлап ашу қажет, бу бет пен қолды шарпып кетуі мүмкін. Түтікшеден, радиатордан, насос корпусынан су ағып тұрмауы қажет. Мұндайда радиатордың қылта аузындағы қақпағын ашқанда, одан шығатын ыстық су мен будың бет пен қолды шарпып күйдіріп кетпеуіне абай болған жөн. Антифриз буланып ұшып кеткен жағдайда толтыра су қүйып, су аққан жері болса бітеу керек. Корпустың ағызу тесігінен су насосына судың көптеп ағуы — насостың нығыздағыш құрылғысының тозғандығын аңғартады. Сондықтан оны жаңалап салу қажет. Егер су ақпаса да су шығыны көп болатындығы аңғарылса, онда бу-ауа клапанын тексереді.
Бірінші техникалық қызмет (ТҚ-1):
1) жүйенің герметикалығын тексеру және қажет болса, сұйықтықтың ағуын болдырмау;
2) қозғалтқыштар су насосының подшипниктерін 1-13 майымен бақылау тесігінен жаңа май көрінгенше пресс-май сауытымен (ЗИЛ-130 қозғалтқышында бақылау тесігін жауып тұрған тығынды бұрап шығару, ал майлап болған соң оны бұрап бекіту) майлау. Отандық автомобиль қозғалтқышы су насосының подшипниктерін құрастыру кезінде маймен толтырылады, оларды қозғалтқышқа күрделі жөндеу жүргізілгенге дейін майламайды.
Екінші техникалық қызмет (ТҚ-2):
1) жүйенің герметикалығын тексеру және егер қажет болса, ақауын жою;
2) су насосының және желдеткіш күпшегі гайкаларының бекітілуін бақылау;
3) желдеткіш ременінің керілуін тексеру және қажет болған жағдайда, реттеу;
4) радиатордың бекітілуін және оның қапталуын, сондай-ақ жалюздердің жұмыс істеуін бақылау;
5) су насосының подшипниктерін және ЗМЗ қозғалтқыштарының кергіш ролигін майлау;
6) электр магниттік фрикциялық муфтаның жұмыс істеуін тексеру. Бұл үшін қозғалтқышты оталдырып, салқындатқыш сұйықтықтың температурасы 88°С-ге жеткенше жалюздерді жабу, бұл температурада желдеткіш іске қосылуы тиіс. Одан кейін жалюздерді ашу керек, 80°С-де желдеткіш ажыратылуы тиіс. Бұдан басқа, муфта якоры мен жетек шкивінің кеспелтегі арасындағы саңылауды жалпақ сүңгімен тексеру (қалыпты саңылау 0,25—0,40 мм) қажет. Егер қажет болса, қосалқы гайканы босатып, саңылауды үш винтпен реттейді;
7) радиатор тығынының бу және ауа клапандарының жұмыс істеуін бақылау.
Маусымдық техникалық қызмет (МТҚ):
Маусымдық техникалық қызмет көрсету кезінде термостат пен термометрдің жұмысын тексереді. Термостатты корпустан шығарып алып, ыстық су құйылған ыдысқа салады. Су температурасы 70°С жеткенде термостаттың негізгі клапанының тесіктері ашыла бастап, 85°С жеткенде толық ашылады. Клапанның толық жүрісі шамамен 9 мм.
Дистанциондық термометр көрсеткішін, радиатордың қылта аузына салынған сұйықтық термометр көрсеткішімен салыстырады. Егер термостат немесе дистанциоңдық термометр бұзылған болса, онда оларды ауыстырады.
Қыста суыту жүйесіңде антифриз қолдану керек. Су құйылған қозғалтқыштарда жұмыс біткеннен кейін суды төгіп тастау керек. Егер оны төкпесе, цилиңдрлер блогы, радиатор, түтікшелер жарылып кетуі мүмкін.
Соңғы кезде салқындатқыш сұйықтық ретінде «Тосол — А-40» антифриз қолдану ұсынылады. Оны суыту жүйесіне екі жыл бойы пайдаланып, сонан кейін алмастырады.
СУЫТУ ЖҮЙЕСІН ЖӨНДЕУ
Суыту жүйесінің негізгі ақаулары:
-
қозғалтқыштың аса салқындауы немесе
-
қызып кетуі.
Қозғалтқыштың аса салқындауы термостаттың айқасып қысылып қалуынан және жалюздердің ашық болуынан және қыста қаптағыштың болмауынан болуы мүмкін.
Қызып кетудің себептері:
-
салқындатқыш сұйықтық деңгейінің жеткіліксіздігі;
-
желдеткіш ременінің бір орында айналуы немесе үзілуі;
-
желдешкіштің электр магниттік қосу муфтасының ақаулығы;
-
жалюздердің жабық болуы термостаттың айқасып қысылып қалуы;
-
қақтың жиналуы және радиатордағы судың қатып қалуы.
Салқындату жүйесі герметикалық болуы тиіс. Шлангілер тығыз жалғаспаған жағдайда қамыттың кергіш винттерін тартып бұрау керек. Сұйықтықты жіберіп тұрған шүмекті ысқылау немесе алмастыру керек. Зақымданған радиаторды дәнекерлейді.
Егер су насосының сальнигі арқылы су ағатын болса, онда сальниктің бөлектерін алмастыру қажет.
Егер желдеткіш ремені майланған немесе әлсіз керілген болса, ол бір орында айналуы мүмкін. Майды құрғақ шүберекпен (жұмыс істемей тұрған қозғалтқышка) сүртіп тазартады. Ременьнің керілуін шкивтердің аралығындағы учаскесінің орта бөлігінен қолмен басқанда оның иілуі таблицадағыдай мөлшерде болатындай етіп реттейді.
Салқындату жейдесі мен радиатордың қабырғасындағы болар-болмас қақты радиаторды автомобильден шығарып алмай-ақ кетіруге болады. Бұл үшін салқындату системасына 1 л суға 4—8 мг есебшен әзірленген хромпик ерітіндісін құяды да, автомобильді бір ай паидаланған соң системаны 10—15 көлемді таза сумен жуып тазартады. Неғұрлым әлсіз концентрациясы тот басудың (коррозияның) күшеюіне себепші болады.
Түтіктер барынша ластанып және бітеліп қалғанда радиаторды шығарып алады да, оған 90°С-ге дейін қыздырылған каустикалық соданың 10 проценттік ерітіндісін құяды. 30 минуттан кейін ерітіндіні ағызып алып, радиаторды таза сумен мұқият жуып тазартады.
Салқындату жүйесін мынадай ерітінділермен жуып тазарту жақсы нәтиже береді: 7—8% тұз қышқылы (көлемінің суға қатынасы бойынша), 2—3 г/л ПБ-5 ингибиторы, 25 г/л техникалық уро тропин, 1—3 г/л ОП-7 немесе ОП-10 сулағышы және 1 г/л көбік сөндіргіш (амил немесе изоамил спирті). Жүйеге ерітінді құйып, қозғалтқышты оталдырады және ерітіндіні 60—65°С-ге дейін қыздырады; 10—15 минуттан кейін оны құйып алады.
Желдеткіштің электр магниттік фрикциялық муфтасы датчиктің немесе электр сымдарының ақаулығынан және якорь мен жетек шкиві кеспелтегінің арасындағы ауа саңылауының бұзылуынан іске қосылмауы мүмкін.
Жабық тұрған термостат клапаны тістесіп қалғанда қозғалтқыш қызып кетеді, ал ашық тұрғанда өте салқындап кетеді. Тексеру үшін термостатты суы бар ыдысқа батырады. Суды қыздыра отырып, термометр бойынша клапанның 75°С-де ашыла бастап, 90°С-де толық ашылуын қадағалайды.
Жалюздердің жетегі майланбаса, көбінесе тістесіп қалады. Бұл жағдайда тысы бар сым арқанды шығарып алып, оны керосинмен жуады да, тысына май толтырады.
Егер автомобильді төменгі температурада далада немесе жылытылмайтын орында қалдыратын болса, онда салқындату жүйесін суды ағызады. Бұл үшін радиатордың астындағы және блоктағы ағызу шүмегін ашып, радиатордың аузындағы тығынды шығарады. Жылытқыштың шүмегі ашық болуы тиіс. Жүйеден суды ағызған соң қозғалтқышты оталдыру және судың қалған бөлігі біржола буланып кету үшін кіші айналымда 2—3 мин жұмыс істету қажет. Жылдың суық мезгілінде қозғалтқышты оталдыру үшін оталдыруға арналған кыздырғыш болмаған жағдайда, салқындату системасына алдымен жылы су, ал одан кейін радиатордың аузынан ауа көпіршіктерінің шығуы тоқтағанға дейін ыстық су құйып толтырады, қозғалтқышты оталдырып, 80—90°С-ге дейін кіші айналымда қыздырады, осыдан кейін судың қатып қалуынан қауіптенбестен, қозғалуға болады.
Жүріп келе жатқан автомобиль радиаторындағы судың қатуы туралы жүргізуші температура көрсеткіштің шкаласына қарап немесе қалқаншадағы бақылау лампысының жануына қарап білуіне болады. Бұл жағдайда автомобильді тоқтатып, қозғалтқышты сөндіру және қолғаппен немесе шүберекпен (будың күшпен шығатын жағдайында күйіп қалмас үшін) радиатордың тығынын шығарып алу қажет. Салқындатқыш сұйықтықты деңгейге дейін жеткізе құйып, жалюздерді жабу және радиаторды қымтап жылытып, қозғалтқышты оталдыру және оны кіші айналымда жұмыс істету керек. Егер шамалы ғана мұз қатқан болса, ол толық еріп кетуі тиіс. Қерісінше болған жағдайда қозғалтқышты сөндіріп, ыстық сумен дымқылдандырылған шүберекті радиаторға басу керек.
Мұзды еріту үшін ашық жалынды пайдалануға тыйым салынады.

Ауамен суыту жүйесінің жұмысы
1-жағар май радиаторы; 2,3,4-ауа бағыттағыш қораптар; 5-цилиндрлер; 6-цилиндрлердің қосалқы қабырғалары; 7-ауа сыртқа шығатын канал-дар; 8-термореттегіш; 9-желдеткіш; 10-бағыттағыш қалақшалар; 11-сору каналы.

Сұйықпен суыту жүйесінің жұмыс схемасы
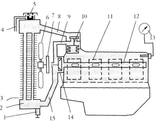
1-төгу краны; 2-радиатор; 3-қосалқы қабырғалар; 4-бу түтігі; 5-радиатор қақпағы; 6-желдеткіш; 7-шкив; 8,9,15-жеңшелер; 10-термостат; 11,12-су көйлегі, 13-термометр; 14-су насосы.
4. Пысықтау: а) Өткен сабақты бекіту.
Электронды оқулық бойынша бақылау сұрақтары қойылады. Егер дұрыс жауап берсе «Дұрыс», дұрыс емес болса «Дұрыс емес» деп шығады.

б) Қосымша сұрақтар беру
5. Үйге тапсырма:
-
ТҚ көрсету кезіндегі орындалатын негізгі жұмыстар.
-
ТҚ көрсету кезіндегі қауіпсіздік ережелері.
-
Салқындату жүйесінің негізгі ақаулары.
-
Салқындату жүйесінің жабдықтарын жөндеу.
-
Жолда пайда болған ақауларды жөндеу, жағдаяттардан шығу жолдары.
жүктеу мүмкіндігіне ие боласыз
Бұл материал сайт қолданушысы жариялаған. Материалдың ішінде жазылған барлық ақпаратқа жауапкершілікті жариялаған қолданушы жауап береді. Ұстаз тілегі тек ақпаратты таратуға қолдау көрсетеді. Егер материал сіздің авторлық құқығыңызды бұзған болса немесе басқа да себептермен сайттан өшіру керек деп ойласаңыз осында жазыңыз
Қозғалтқыштың салқындату жүйесіне ТҚ көрсету және жөндеу
Қозғалтқыштың салқындату жүйесіне ТҚ көрсету және жөндеу
ОҚО, Түркістан қаласы, №21 колледжінің оқу өндіріс шебері
Сабақтың тақырыбы: Қозғалтқыштың салқындату жүйесіне
ТҚ көрсету және жөндеу
Сабақтың мақсаты: 1. Білімділік – студенттердің қозғалтқыштың салқындату жүйесінің құрлысы және қызметімен таныстыру, білімдерін тереңдету. Салқындату жүйесіне жүргізілетін ТҚ көрсету, олардың негізгі ақаулары және жөндеу кезінде орындалатын жұмыстармен таныстыру, түсіндіру.
2. Дамытушылық – оқушыларға көрнекіліктерді, оқу стендтерін, слайд, бейне роликтер, электронды оқулықтарды пайдалана отырып білімдерін дамыту.
3. Тәрбиелік - сабақ барысында оқушылардың сабаққа белсенді, ұйымшыл қатысуын қадағалау, Отан сүйгіштікке тәрбиелеу.
Оқыту формасы: сабақ, жекелей, топтық,
Пәнаралық байланыс: физика, химия, материалтану
Оқыту тәсілдері: баяндау, лекция, көрсету,
Пайдаланылған әдебиеттер: 1. П.Ж.Жүнісбеков. Авт. құр және пайдалану
2. Газет журналдар. Автопарк, Автокруиз 3. И.П.Плеханов. Автомобиль.
Пайдаланылатын көрнекіліктер: плакаттар, суреттер, бөлшектер, схемалар, видеоматериалдар, слайдтар, электронды оқулықтар, тестік сұрақтар, үлестірмелі карточкалар.
Сабақтың барысы:
1. Ұйымдастыру: а) Оқушыларды түгелдеу
б) Сабаққа даярлығын тексеру
2. Өткен сабақты қайталау: а) Оқушылардан сабақ сұрау
б) Қосымша сұрақтар беру
в) Үлестірмелік материалдар.
Аудиториялық сұрақтар,
-
Қозғалтқыштың салқындату жүйелерінің қызметі және олардың түрлері?
-
Сұйықпен салқындатылатын жүйенің негізгі бөлшектерін атаңыз?
-
Ауамен салқындату жүйесінің қалай жұмыс істейтіндігін ата?
-
Антифриз не себептен салқындату жүйелерінде пайдаланылады?
-
Желдеткіш белдігінің керілуін қалай тексереді және реттейді?
-
Темостаттың қызметі.
-
Жүйедегі сұйықтықтың айналу бағыттарын ата?
Тестік тапсырма.
Интерактивті тақтада электронды оқулықтан студенттерге тестік тапсымалар беріледі. Әрбір студент жауап беру арқылы қанша балл жинағанын көре алады.
Үлестірмелік тапсырмалар.

Әрбір студентке төмендегідей суретімен үлестірмелік материал таратылады. Студенттер әр бөлшекке тиісті сандарды қойып дұрыс табуы керек. Сандар қойылып болған соң екі студент бір бірімен тапсырма алмастырылып, тақтаға дұрыс сандар қойылған сурет шығарылады. Студенттер бір бірінің жұмысын тексеріп, қателерін түзетеді.


3. Жаңа сабақты түсіндіру: а) тақырыпты жаздыру
б) мәлімет беру
САЛҚЫНДАТУ ЖҮЙЕСІНІҢ ҚҰРЛЫСЫ, ЖАЛПЫ МӘЛІМЕТ
Қозғалтқыш жұмыс істеген кезде цилиндр ішінде жанған жанармай және осыдан 1800-3000 градусқа дейін қызған газ цилиндрлер кенересін, поршень мен блок қалпақшасын қыздырады. Суыту жүйесі қызған бөлшектерді суыту үшін қажет. Іштен жанатын қозғалтқыштарға артық жылуын шығаруды сұйықпен немесе сыртқы ауаның көмегімен жасанды түрде суыту арқылы жүзеге асырады.
Іштен жанатын жылу қозғалтқыштарында жанар май бөліп шығарған жылудың барлығы дерлік жұмысқа айналмайды. Себебі жану және ұлғаю процестері кезінде жанған газ қозғалтқыш бөлшектерімен жанасатындықтан, жылудың бір бөлігі осы бөлшектерге беріледі. Ал жылудың бөлшектерге берілу құбылысын мүлде болдырмауға болмайды. Өйткені олардың температурасы жанған газ температурасынан бірнеше есе аз. Олай болса жылудың төменгі температурадағы бөлшектерге ауысуы табиғи зандылық.
Қозғалтқыш бөлшектеріне берілген жылу, олардың температураларын біртіндеп көтере береді. Егер сол жылуды бөлшектерден алып кетпесе, онда олар өте жоғарғы температураға дейін қызып, өздерінің физикалық, механикалық қасиеттерін нашарлатады, яғни олардың қаттылығы, беріктігі, тозуға төзімділігі нашарлап, өте ұлғаюдың салдарынан алғашқы дәлдікпен қойылған мөлшерлері өзгеріп кетеді. Оның үстіне, оларға жағылатын май қабаттары күйіп, олардың беттеріңде күйе түзеді де барлық жұмыс процестерінің бұзылуына себебін тигізеді.
Сонымен суыту жүйесінің негізгі қызметі, ол қозғалтқыштың қызған бөлшектеріндегі артық жылуды сыртқа шығарып, қоршаған ортаға таратып жіберу болып табылады, яғни қозғалтқыштың қызған бөлшектерінен сыртқа жылу тасымалдайтын қондырғы болуы қажет. Осы тұрғыдан қарағанда қозғалтқыштардың суыту жүйесі осы жылуды тасымалдайтын материалдың түріне қарай екі түрге бөлінеді. Оның біріншісі ауа болса, екіншісі сұйық болады. Олай болса қозғалтқыштар ауамен суытылатын немесе сұйықпен суытылатын болып екі түрге бөлінеді және олардың құрылысы да әртүрлі болады.
Ауамен салқындатылатын қозғалтқыштарда бөлшектердің қызуды бәсеңдету үшін цилиндрлерге және оның қалпақшаларына роторлы желдеткіш ауа үрлейді. Желдеткіш ротордан тұрады, оның көп санды қалақшасы мен қозғалмайтын бағыттаушысы бар.
Желдеткіш роторының айналу жиілігін өзгерту арқылы жылу режимін автоматты түрде реттейді. Осы мақсатта гидродинамикалық муфта қолданылады.
Қозғалтқыш қызбағанда және цилиндрлер қалпақшасының температурасы жеткіліксіз болғанда золотник майлау жүйесіндегі майды гидромуфтаға жібермейді, соның нәтижесінде турбиналы дөңгелек желдеткішпен қоса айналмайды. Қозғалтқыш температурасы қажетті деңгейге жеткенде реттеуіштің сезімтал сезгісі золотникті ығыстырып, майдың гидромуфтаға өтуіне жол ашады. Мұның өзі жетектегі дөңгелектің желдеткіш роторымен бірге айналуын мәжбүр етеді.
Қозғалтқыштың температурасы неғұрлым жоғары болса, гидромуфтаға май соғұрлым көп құйылады, әрі желдеткіш роторы да аса тез жиілікпен айналады. Температура белгілі бір мәнге дейін төмендегенде золотник майдың муфтаға келуін шектейді де, желдеткіш айналысын баяулатады.
Ауамен суытылатын қозғалтқыштарда қозғалтқыштардың қызатын негізгі бөлшегі цилиндр блогы мен оның басына арнаулы аралықтарынан ауа жүретін етіп қабырғалар жасалады. Ол қабырғалар әрі суытылатын бөлшектің ауамен жанасатын ауданын көбейтеді. Енді сол қабырғалардың аралықтарынан сыртқы қоршаған ортадан арнаулы желдеткіш арқылы ауа үрлейді. Үрленген ауа сол қабырғаларды аралап өткен кезде бөлшектерде артық жылуды өзіне қабылдап, әрі қарай сыртқы қоршаған ортаға шығып кетеді.
Мұндай суыту жүйесі құрылысы жағынан өте қарапайым бола тұрса да, оның негізгі кемшілігі сырттағы қоршаған ортаға тәуелді жүмыс істейді. Көбінесе жазғы ыстық кездерде қозғалтқышты қалыпты жағдайға дейін суыта алмайды. Сондықтанда мұндай суыту жүйелері, қуаты аз кішігірім қозғалтқыштарда қолданылады.
Қозғалтқыштарда көбіне жабық суыту жүйесі қолданылады. Радиатор нығыз жабылады да, тек қысым өте жоғары немесе өте төмен болғанда ғана бу клапаны арқылы сыртқы атмосферамен қатысады. Оларда сұйықтықтың булануы шамалы ғана болады және судың температурасы жоғары болады. Сұйықтықтың жоғарғы температурасы қозғалтқыштың жұмысына қолайлы әсер етеді.
Автомобильдердің қозғалтқыштарында көпшілік жағдайда сұйықпен салқындататын жүйе қолданылады. Олардың да атқаратын қызметі жоғарғыдай бірақ жылу тасымалдау үшін арнаулы сұйық (су, антифриз, тосол) қолданылады.
Қозғалтқыш алғаш жұмысқа қосылған кезде, әсіресе қыс мезгілдерінде, оны тез қыздыру үшін немесе сырттағы жағдайға суыту жүйесі тәуелді болмас үшін суыту жүйесіне термостат қойылады. Соның көмегімен қозғалтқыштың температурасы үнемі қалыпты мөлшерде ұсталып тұрады.
Термостат су температурасын автоматты түрде реттеп, қозғалтқыш іске қосылғаннан кейін оның тез қызуын қамтамасыз етеді.
Сұйықпен суытушы жүйелерде термостат, желдеткіш және радиатор әртүрлі жағдайда болады. Желдеткіш иінді біліктен тұрақты беріліс алады немесе жеке электроқозғалтқышқа жалғанады.
Желдеткіш тұрақты айналып тұратын суыту жүйесі кіші және үлкен айналымда жұмыс істейді. Сұйықтың температурасына байланысты термостат, кіші немесе үлкен айналыммен қозғалтқышты суытады. Үлкен айналымда сұйық радиатор арқылы өтіп суиды.
Желдеткіш электродвигатель арқылы немесе муфта (ажыратқыш) арқылы айналатын қозғалтқыштарда үш түрлі әдіспен суытылады.
1. Кіші айналым - сұйық суық кезінде (87 градусқа дейін) термостат сұйықты радиаторға жіберетін түтікті жауып қалады .
2. Екіншісі үлкен айналым - термостат сұйықты (87-102 град) радиатор арқылы өткізеді, желдеткіш айналмайды.
3. Үшінші жағдайда (102 град. жоғары) сұйық үлкен айналым арқылы суиды, желдеткішті іске қосылады .
Сұйықтық жылытқыштар жұмыс істеуі бір-біріне ұқсас болады. Жылытқыштың жұмысын басқару пульті реттейді. Қазанның жану камерасындағы жанармай (бензиннің төменгі сорты) өз ағынымен бакқа құйылады. Жанармайдың келуі электромагнитті клапанның реттегіш инесі арқылы мөлшерленеді. Ауа электр желдеткіші арқылы беріледі. Қоспа - оттық арқылы тұтанады. Қазанда пайда болған жалын қозғалқыш түбіндегі майды қыздырады, ал қазан іші қозғалтқыштың су көйлегімен жалғасқан.
Сонымен қозғалтқыш салқын кезінде термостат клапаны жабық болғандықтан насоспен айдалған сұйық су көйлегінен шыққаннан кейін радиаторға өте алмайды да термостат қасындағы басқа тесікпен қайтадан насосқа келеді. Сөйтіп, қозғалтқыш салқын кезінде сұйық қысқа жолмен айналып, оны тез қызуына мүмкіндік тудырады. Ал қозғалтқыш қызғаннан кейін, термостат клапаны ашылады да енді сұиық радиатор арқылы өтіп салқындап, қайтадан насосқа келеді.
Осылайша термостаттың көмегімен двигательдің тем-пературасы шамамен 85°-90° мөлшерінде тұрақты ұсталып тұрады. Оның температурасын термометрмен (13) жүргізуші үнемі бақылап отырады.
Осы айтылған ретпен жұмыс істейтін суыту жүйесінің екі түрі болуы мүмкін: біреуі ашық, екіншісі жабық суыту жүйесі. Ашық суыту жүйесінде буланған сұйық радиатордың қақпағы арқылы сыртқа шығып кетіп отырады. Ол кезде, әрине суытатын сұйық ысырап болады. Ондай жағдайды болдырмас үшін жүйені жабық етіп жасайды, яғни радиаторға бу мен ауа клапандары бар арнаулы қақпақ жабады. Жүйедегі сүйық буланып, ондағы қысым (шамамен 100 кПа) артқан кезде бу клапаны ашылады да сұйық буы түтікпен қосымша қойылған кеңейткіш ыдысқа келеді. Онда салқын суытатын сұйық белгілі бір мөлшерге дейін құйылып қойылған. Енді бу сол салқын сұйықпен араласып, қайтадан тамшыға айналады. Сөйтіп, суытатын сұйық ысырабы болмайды. Ал қозғалтқыш тоқтап, жүйедегі сұйық салқындаған кезде ондағы қысым азайып, тіпті сырттағы ауа қысымынан кеміп қалады. Сол кезде радиатор қақпағының ауа клапаны ашылады да ол арқылы жаңағы кеңіткіш ыдыстағы сұйық жүйеге сорылып алынады. Сөйтіп суыту жүйесі алғашқы қалпына қайтадан келеді. Енді жүргізуші тек сыртта орналасқан кеңіту ыдысындағы сұйықтың деңгейін бақылап тұрса жеткілікті болады.
Көптеген қозғалтқыштарда желдеткіш жетегінің жұмысын өзгерту қолданылады. Мысалы арнаулы температураға әсер алатын қондырғы қолданып, желдеткішті сұйық қызған кезде ғана электр қозғалтқышымен іске қосады. Немесе оның жетегіне май тұтқырлығын пайдаланатын қондырғы орнатады. Салқын кезде май тұтқырлығы көп болғандықтан желдеткішке қозғалыс берілмейді, ал керісінше жүйедегі температурадан май қызып, тұтқырлығы азайған кезде желдеткіш жұмыс істей бастайды. Осы сияқты көптеген тәсілдер қолданылуы мүмкін.
Қайсыбір қозғалтқыштардың суыту жүйесінде екі клапанды термостат қолданылады. Ондағы негізгі клапан радиаторға баратын сұйықты реттесе, екінші қосалқы клапан тез қыздыруға тиісті құралдарға қызған сұйық жіберіп тұрады. Ондай құралдарға карбюратор астындағы сору жеңшесі, кузовты жылытатын радиатор т.с.с.
Осы айтылғандай өзгерістер жалпы суыту жүйесінің жұмыс принципіне әсерін тигізбейді. Сондықтан оларды әрбір қозғалтқыштардың заводтық нұсқалары немесе арнаулы өдебиеттерден танысуға болады.
Суыту жүйесінде негізгі реттеу жұмысына желдеткіштің белдігін керу жатады.
Желдеткіштің белдігін кергіш ролик арқылы реттейді. Желдеткіш білігінен белдікті берілу арқылы генератор мен компрессорға қозғалыс беріледі. Бұл белдікті берілісті генератор корпусын бүру арқылы кереді. 40 Н (4 кгс) күшпен итергендегі бұл белдіктің бүгілуі 10-15 мм болуға тиіс. Су насосына қозғалыс иінді біліктің шестернясынан аралық шестерня арқылы беріледі. Оның жұмысын реттеудің қажеті болмайды.
Қозғалтқыштың суыту жүйесінің жылулық ережесі қалыпты болуы тікелей термостатқа байланысты. Қозғалтқыштың салқын кезінде суыту жүйесіндегі су радиаторға бармастан термостат арқылы қайтуға тиіс. Сөйтіп ол қозғалтқыштың өз ішіне ғана айналып жүреді де, тез жылынады. Оның температурасы қалыпты мөлшерге жеткеннен кейін термостат клапаны ашылады да, енді су радиатор арқылы айналады. Термостаттың жұмысын жиі-жиі тексеріп отыру қажет.
Тремостаттың негізгі жұмысы жиырылған қорапқа байланысты. Егер ол қорап зақымдалып немесе тесіліп қалса, оның клапаны жабылмайды да, қозғалтқыш температурасы төмен кезінде су радиаторға өтіп, суи береді. Мұндай жиырылған қорабы зақымдалған термостаттарды алмастырады.
Термостаттың жұмысын мына жолмен тексеруге болады. Оны қозғалтқыштан шығарып алып, термометрі бар ыдыстағы ыстық суға салады. Содан кейін клапанның ашыла бастаған және толық ашылған кезіндегі температуралары шамамен 70 және 85°С болатындығын тексереді. Егер олар сәйкес келмесе, мүндай термостатты да алмастырады. Жоғарыдағы-дай тексеру кезінде клапанның ашылу биіктігін өлшейді. Клапанның толық ашылу биіктігі 9 мм болуға тиіс.
Суыту жүйесінде таза, мүмкіндігінше жұмсақ суды пайдалану немесе суыту жүйесінде қолданған суды құю қажет. Кермек суды жұмсарту үшін 30 минуттай қайнатады, сондай-ақ оған сода немесе үшнатрий фосфат қосады. Судың кермектілігіне қарай 10—20 г үш натрий фосфатты немесе соданы 10 л. ыстық суға ерітеді.
Қозғалтқыш істеп тұрған кезде және қатты ысып кеткенде суыту жүйесіне суды аз-аздан құяды. Қыс кезіңде цилиндр мен блок жарылып кетпеу үшін салқын қозғалтқышқа өте ыстық су құюға болмайды.
САЛҚЫНДАТУ ЖҮЙЕСІНЕ ТЕХНИКАЛЫҚ ҚЫЗМЕТ КӨРСЕТУ
Күнделікті техникалық қызмет (КТҚ):
1) жүйенің герметикалығын тексеру, қажет болған жағдайда, ақауын түзету;
2) сұйықтықты үнемі қадағалап отыру және егер қажет болса, үстемелеп құю. Оның деңгейі құятын аузының жоғарғы шетінен 15—20 мм төмен болуы тиіс:
3) желдеткіш ременінің күйін және керілуін тексеру;
Күн сайын радиатордағы су деңгейін тексеру қажет. Радиатор қақпағын қозғалтқыш суығанда немесе ол істеп тұрғанда абайлап ашу қажет, бу бет пен қолды шарпып кетуі мүмкін. Түтікшеден, радиатордан, насос корпусынан су ағып тұрмауы қажет. Мұндайда радиатордың қылта аузындағы қақпағын ашқанда, одан шығатын ыстық су мен будың бет пен қолды шарпып күйдіріп кетпеуіне абай болған жөн. Антифриз буланып ұшып кеткен жағдайда толтыра су қүйып, су аққан жері болса бітеу керек. Корпустың ағызу тесігінен су насосына судың көптеп ағуы — насостың нығыздағыш құрылғысының тозғандығын аңғартады. Сондықтан оны жаңалап салу қажет. Егер су ақпаса да су шығыны көп болатындығы аңғарылса, онда бу-ауа клапанын тексереді.
Бірінші техникалық қызмет (ТҚ-1):
1) жүйенің герметикалығын тексеру және қажет болса, сұйықтықтың ағуын болдырмау;
2) қозғалтқыштар су насосының подшипниктерін 1-13 майымен бақылау тесігінен жаңа май көрінгенше пресс-май сауытымен (ЗИЛ-130 қозғалтқышында бақылау тесігін жауып тұрған тығынды бұрап шығару, ал майлап болған соң оны бұрап бекіту) майлау. Отандық автомобиль қозғалтқышы су насосының подшипниктерін құрастыру кезінде маймен толтырылады, оларды қозғалтқышқа күрделі жөндеу жүргізілгенге дейін майламайды.
Екінші техникалық қызмет (ТҚ-2):
1) жүйенің герметикалығын тексеру және егер қажет болса, ақауын жою;
2) су насосының және желдеткіш күпшегі гайкаларының бекітілуін бақылау;
3) желдеткіш ременінің керілуін тексеру және қажет болған жағдайда, реттеу;
4) радиатордың бекітілуін және оның қапталуын, сондай-ақ жалюздердің жұмыс істеуін бақылау;
5) су насосының подшипниктерін және ЗМЗ қозғалтқыштарының кергіш ролигін майлау;
6) электр магниттік фрикциялық муфтаның жұмыс істеуін тексеру. Бұл үшін қозғалтқышты оталдырып, салқындатқыш сұйықтықтың температурасы 88°С-ге жеткенше жалюздерді жабу, бұл температурада желдеткіш іске қосылуы тиіс. Одан кейін жалюздерді ашу керек, 80°С-де желдеткіш ажыратылуы тиіс. Бұдан басқа, муфта якоры мен жетек шкивінің кеспелтегі арасындағы саңылауды жалпақ сүңгімен тексеру (қалыпты саңылау 0,25—0,40 мм) қажет. Егер қажет болса, қосалқы гайканы босатып, саңылауды үш винтпен реттейді;
7) радиатор тығынының бу және ауа клапандарының жұмыс істеуін бақылау.
Маусымдық техникалық қызмет (МТҚ):
Маусымдық техникалық қызмет көрсету кезінде термостат пен термометрдің жұмысын тексереді. Термостатты корпустан шығарып алып, ыстық су құйылған ыдысқа салады. Су температурасы 70°С жеткенде термостаттың негізгі клапанының тесіктері ашыла бастап, 85°С жеткенде толық ашылады. Клапанның толық жүрісі шамамен 9 мм.
Дистанциондық термометр көрсеткішін, радиатордың қылта аузына салынған сұйықтық термометр көрсеткішімен салыстырады. Егер термостат немесе дистанциоңдық термометр бұзылған болса, онда оларды ауыстырады.
Қыста суыту жүйесіңде антифриз қолдану керек. Су құйылған қозғалтқыштарда жұмыс біткеннен кейін суды төгіп тастау керек. Егер оны төкпесе, цилиңдрлер блогы, радиатор, түтікшелер жарылып кетуі мүмкін.
Соңғы кезде салқындатқыш сұйықтық ретінде «Тосол — А-40» антифриз қолдану ұсынылады. Оны суыту жүйесіне екі жыл бойы пайдаланып, сонан кейін алмастырады.
СУЫТУ ЖҮЙЕСІН ЖӨНДЕУ
Суыту жүйесінің негізгі ақаулары:
-
қозғалтқыштың аса салқындауы немесе
-
қызып кетуі.
Қозғалтқыштың аса салқындауы термостаттың айқасып қысылып қалуынан және жалюздердің ашық болуынан және қыста қаптағыштың болмауынан болуы мүмкін.
Қызып кетудің себептері:
-
салқындатқыш сұйықтық деңгейінің жеткіліксіздігі;
-
желдеткіш ременінің бір орында айналуы немесе үзілуі;
-
желдешкіштің электр магниттік қосу муфтасының ақаулығы;
-
жалюздердің жабық болуы термостаттың айқасып қысылып қалуы;
-
қақтың жиналуы және радиатордағы судың қатып қалуы.
Салқындату жүйесі герметикалық болуы тиіс. Шлангілер тығыз жалғаспаған жағдайда қамыттың кергіш винттерін тартып бұрау керек. Сұйықтықты жіберіп тұрған шүмекті ысқылау немесе алмастыру керек. Зақымданған радиаторды дәнекерлейді.
Егер су насосының сальнигі арқылы су ағатын болса, онда сальниктің бөлектерін алмастыру қажет.
Егер желдеткіш ремені майланған немесе әлсіз керілген болса, ол бір орында айналуы мүмкін. Майды құрғақ шүберекпен (жұмыс істемей тұрған қозғалтқышка) сүртіп тазартады. Ременьнің керілуін шкивтердің аралығындағы учаскесінің орта бөлігінен қолмен басқанда оның иілуі таблицадағыдай мөлшерде болатындай етіп реттейді.
Салқындату жейдесі мен радиатордың қабырғасындағы болар-болмас қақты радиаторды автомобильден шығарып алмай-ақ кетіруге болады. Бұл үшін салқындату системасына 1 л суға 4—8 мг есебшен әзірленген хромпик ерітіндісін құяды да, автомобильді бір ай паидаланған соң системаны 10—15 көлемді таза сумен жуып тазартады. Неғұрлым әлсіз концентрациясы тот басудың (коррозияның) күшеюіне себепші болады.
Түтіктер барынша ластанып және бітеліп қалғанда радиаторды шығарып алады да, оған 90°С-ге дейін қыздырылған каустикалық соданың 10 проценттік ерітіндісін құяды. 30 минуттан кейін ерітіндіні ағызып алып, радиаторды таза сумен мұқият жуып тазартады.
Салқындату жүйесін мынадай ерітінділермен жуып тазарту жақсы нәтиже береді: 7—8% тұз қышқылы (көлемінің суға қатынасы бойынша), 2—3 г/л ПБ-5 ингибиторы, 25 г/л техникалық уро тропин, 1—3 г/л ОП-7 немесе ОП-10 сулағышы және 1 г/л көбік сөндіргіш (амил немесе изоамил спирті). Жүйеге ерітінді құйып, қозғалтқышты оталдырады және ерітіндіні 60—65°С-ге дейін қыздырады; 10—15 минуттан кейін оны құйып алады.
Желдеткіштің электр магниттік фрикциялық муфтасы датчиктің немесе электр сымдарының ақаулығынан және якорь мен жетек шкиві кеспелтегінің арасындағы ауа саңылауының бұзылуынан іске қосылмауы мүмкін.
Жабық тұрған термостат клапаны тістесіп қалғанда қозғалтқыш қызып кетеді, ал ашық тұрғанда өте салқындап кетеді. Тексеру үшін термостатты суы бар ыдысқа батырады. Суды қыздыра отырып, термометр бойынша клапанның 75°С-де ашыла бастап, 90°С-де толық ашылуын қадағалайды.
Жалюздердің жетегі майланбаса, көбінесе тістесіп қалады. Бұл жағдайда тысы бар сым арқанды шығарып алып, оны керосинмен жуады да, тысына май толтырады.
Егер автомобильді төменгі температурада далада немесе жылытылмайтын орында қалдыратын болса, онда салқындату жүйесін суды ағызады. Бұл үшін радиатордың астындағы және блоктағы ағызу шүмегін ашып, радиатордың аузындағы тығынды шығарады. Жылытқыштың шүмегі ашық болуы тиіс. Жүйеден суды ағызған соң қозғалтқышты оталдыру және судың қалған бөлігі біржола буланып кету үшін кіші айналымда 2—3 мин жұмыс істету қажет. Жылдың суық мезгілінде қозғалтқышты оталдыру үшін оталдыруға арналған кыздырғыш болмаған жағдайда, салқындату системасына алдымен жылы су, ал одан кейін радиатордың аузынан ауа көпіршіктерінің шығуы тоқтағанға дейін ыстық су құйып толтырады, қозғалтқышты оталдырып, 80—90°С-ге дейін кіші айналымда қыздырады, осыдан кейін судың қатып қалуынан қауіптенбестен, қозғалуға болады.
Жүріп келе жатқан автомобиль радиаторындағы судың қатуы туралы жүргізуші температура көрсеткіштің шкаласына қарап немесе қалқаншадағы бақылау лампысының жануына қарап білуіне болады. Бұл жағдайда автомобильді тоқтатып, қозғалтқышты сөндіру және қолғаппен немесе шүберекпен (будың күшпен шығатын жағдайында күйіп қалмас үшін) радиатордың тығынын шығарып алу қажет. Салқындатқыш сұйықтықты деңгейге дейін жеткізе құйып, жалюздерді жабу және радиаторды қымтап жылытып, қозғалтқышты оталдыру және оны кіші айналымда жұмыс істету керек. Егер шамалы ғана мұз қатқан болса, ол толық еріп кетуі тиіс. Қерісінше болған жағдайда қозғалтқышты сөндіріп, ыстық сумен дымқылдандырылған шүберекті радиаторға басу керек.
Мұзды еріту үшін ашық жалынды пайдалануға тыйым салынады.

Ауамен суыту жүйесінің жұмысы
1-жағар май радиаторы; 2,3,4-ауа бағыттағыш қораптар; 5-цилиндрлер; 6-цилиндрлердің қосалқы қабырғалары; 7-ауа сыртқа шығатын канал-дар; 8-термореттегіш; 9-желдеткіш; 10-бағыттағыш қалақшалар; 11-сору каналы.

Сұйықпен суыту жүйесінің жұмыс схемасы
1-төгу краны; 2-радиатор; 3-қосалқы қабырғалар; 4-бу түтігі; 5-радиатор қақпағы; 6-желдеткіш; 7-шкив; 8,9,15-жеңшелер; 10-термостат; 11,12-су көйлегі, 13-термометр; 14-су насосы.
4. Пысықтау: а) Өткен сабақты бекіту.
Электронды оқулық бойынша бақылау сұрақтары қойылады. Егер дұрыс жауап берсе «Дұрыс», дұрыс емес болса «Дұрыс емес» деп шығады.

б) Қосымша сұрақтар беру
5. Үйге тапсырма:
-
ТҚ көрсету кезіндегі орындалатын негізгі жұмыстар.
-
ТҚ көрсету кезіндегі қауіпсіздік ережелері.
-
Салқындату жүйесінің негізгі ақаулары.
-
Салқындату жүйесінің жабдықтарын жөндеу.
-
Жолда пайда болған ақауларды жөндеу, жағдаяттардан шығу жолдары.
шағым қалдыра аласыз













