МИНИСТЕРСТВО ОБРАЗОВАНИЯ И НАУКИ РЕСПУБЛИКИ
КАЗАХСТАН
АО «Национальный центр повышения квалификации «Өрлеу»
«Институт повышения квалификации педагогических работников по СКО»
филиал
Курсы повышения квалификации учителей математики
«Развитие функциональной математической грамотности учащихся в рамках проведения международного исследования PISA»
02.02-13.02.2015 г.
Мини – урок на тему
«Понятие площади фигур. Площадь квадрата и прямоугольника.»
Выполнила: учитель математики
Риттер С.Я.
КГУ «Приишимская основная школа»
Проверил:Корчевский В.Е.
ст. преподаватель
-
-
-
-
-
-
-
Параметры оценки
баллы
Общение
Фасилитация
Математическая грамотность
Итого баллов
Оценка
-
-
-
-
-
-
г. Петропавловск
2015 г.
Геометрия 8 класс
Тема: Понятие площади фигур. Площадь квадрата и прямоугольника. Слайд №2
Цель урока: научиться решать задачи на тему «Площадь квадрата и прямоугольника».
Задачи:
-
Изучить понятие площади и представление об измерении площадей многоугольников.
-
Рассмотреть свойства площадей квадрата и прямоугольника.
-
Выработать умения решать задачи на нахождение площади в процессе решения задач.
-
Развитие логического мышления, познавательного интереса, коммуникативных и творческих способностей.
-
Воспитывать интерес к предмету математики на основе решения задач практического применения. Слайд №3
Оборудование урока: интерактивная доска, раздаточный материал, чертёжные инструменты, презентация.
Ход урока:
1. Вводно- мотивационный момент. (2 мин)
Формулировка темы урока, целей урока.
Расшифруйте ребусы

Площадь Квадрат

Прямоугольник (Слайд №1)
Критерии оценивания. Оценочный лист у учителя
|
Вид работы |
Катя |
Ира |
Коля |
Илья |
Саша |
Юля |
Ваня |
Маша |
Миша |
Даша |
Яна |
Оля |
|
1. Ответы на вопросы |
|
|
|
|
|
|
|
|
|
|
|
|
|
2. Изучение темы |
|
|
|
|
|
|
|
|
|
|
|
|
|
3. Задача №1 |
|
|
|
|
|
|
|
|
|
|
|
|
|
4. Задача №2 |
|
|
|
|
|
|
|
|
|
|
|
|
|
5. Тест |
|
|
|
|
|
|
|
|
|
|
|
|
|
Итого: |
|
|
|
|
|
|
|
|
|
|
|
|
Оценочный лист_______________________________( Ф.И. ученика)
|
Название этапа урока |
Ответы на вопросы |
Изучение темы |
Задача №1 |
Задача №2 |
Тест |
ИТОГО: |
|
Самооценка |
|
|
|
|
|
|
|
Оценка группы |
|
|
|
|
|
|
2. Актуализация знаний. (5 мин)
– Ребята, очень часто в жизни вам придётся решать разные задачи на нахождение площади:
-
вычислять площадь стены для покраски или поклейки обоев;
-
находить площадь пола для укладки линолеума или плитки;
-
вычислять площадь клумбы для посадки семян цветов;
-
находить площадь крыши для её ремонта; и т. д.
Стратегия «Горячий стул». ( Слайд № 4)
Устная работа проводится с помощью метода «Горячий стул», с целью развития диалогиче-ского обучения. Учащиеся задают по три вопроса: два «тонких» и один «толстый» по определе-нию и свойствам четырёхугольников .
Форма таблицы “тонких” и “толстых” вопросов.
|
“Тонкие” вопросы |
|
|
Кто..? |
Дайте три объяснения, почему.. |
– Ребята, чтобы подготовиться к нашему уроку, давайте с вами ответим на вопросы:
-Что такое квадрат?
- Назови свойства квадрата.
- В чем различия между квадратом и ромбом?
- Что такое прямоугольник?
– Как найти площадь прямоугольника?
- Объясните, как найти длину прямоугольника , зная ширину и диагональ прямоугольника.
- Верно ли, что диагонали квадрата взаимно перпендикулярны?
– Как найти площадь квадрата?
– Вспомните и назовите меры площади:
(мм2, см2, дм2, м2, км2, гектар, ар, сотка ).
3. Изучение нового материала с применением стратегии «Джигсо» или «Ажурная пила».
( Слайд № 5)
Создание коллаборативной среды в классе. Для того, чтобы разделить на группы проводим игру «выбор профессии». Каждый ученик выбирает себе картинку: цветы, ножницы, кирпич.

1.Создаём группы с разными картинками.
2.Далее создаём группы с одинаковыми картинками.
Учитель раздаёт задание. На изучение тем отводится (5 минут.)
I группе изучить совместно по учебнику «Понятие площади фигур» и сделать конспект.
II группе – « Площадь прямоугольника»,
III группе «Площадь квадрата».
Далее ученики возвращаются в первоначальный состав групп. И каждый объясняет изученный материал в своей группе. (7 минут)
Дополнительная информация.
-Что же обозначает слово площадь?
В толковом словаре Ожегова слово площадь имеет несколько значений:
*Величина чего-нибудь в длину и ширину, измеряемая в квадратных единицах. (Площадь треугольника, площадь участка.)
*Пространство или помещение, предназначенное для какой-нибудь цели. (Посевная площадь, площадь спортивного зала)
*Жилая площадь. (Общая площадь, полезная площадь в доме.)
В интернете можно найти такое значение площади:
Площадь — это численная характеристика плоской или искривлённой геометрической фигуры, показывающая её размер.
4. Проверка понимания изученного материала. (слайд №6)
Требуется отремонтировать детскую комнату: поклеить обои, положить на пол линолеум и прикрутить плинтус. Изучите какие товары предлагает магазин «Все для ремонта» и посчитайте какое количество и какого товара потребуется купить для ремонта.
Учащиеся под № 1,2 -Вам необходимо рассчитать, сколько понадобится рулонов обоев, чтобы оклеить стены и определить стоимость покупки.
Учащиеся под № 3,4 положить на пол линолеум и прикрутить плинтус. Необходимо рассчитать сколько рулонов линолеума, сколько штук плинтусов нужно приобрести и определить стоимость покупки.
Список материалов для ремонта магазина «ВСЕ для РЕМОНТА» (Слайд № 7)
|
№ |
Наименование товара |
количество |
размер |
цена |
|
1 |
Обои |
1 рулон |
ширина 1м, длина 10м |
2500тг |
|
2 |
Линолеум |
1 рулон |
ширина 2м, длина 10м |
1м-1500тг |
|
3 |
Плинтус |
1 штука |
длина 3м
|
600тг |
Таблица ответов (слайд №8)
-
-
№
Наименование товара
количество
Стоимость
1
Обои
5 рулонов
12500тг
2
Линолеум
1 рулон
15000тг
3
Плинтус
6 штук
3600тг
-
1) (3 · 5 ) · 2 = 30 (м2) – площадь стен с окном и дверью вместе.
2) (3 ·3) · 2 = 18(м2) – площадь глухих стен .
3) 2 · 2 = 4 (м2) – площадь окна.
4) 2 · 1 = 2(м2) – площадь двери.
5) 30 + 18 = 48 (м2) – вся площадь боковой поверхности комнаты.
6) 48 – (4 + 2) = 42(м2) – площадь для оклеивания обоями.
7) 42 : 10 = 4,2 – 5 рулонов обоев надо.
8) 2500 · 5=12500(тг) – заплатить за обои
1) 5 · 3 = 15(м2) – площадь пола.
2) 2 · 10 = 20 (м2) – площадь одного рулона линолеума.
3) 15 : 20 = 3/4 – 1 рулона линолеума надо.
4) 1500 · 10 = 15000(тг) – заплатить за линолеум
5) (5 + 3) · 2 = 16 (м) – периметр комнаты.
6) 16 -1 =15(м)- периметр без дверей
7) 15:3=5(шт) - плинтусов нужно
8) 600 · 6 = 3600(тг) – заплатить за плинтус
Время истекло. Внимание на экран проверка.
– Знание правил нахождения площадей нам очень важны. Подумайте, какие профессии используют данные знания:
– строители, архитекторы, цветоводы, фермеры, штукатуры, маляры, кровельщики, плотники, швеи.
– Предлагаю вам сегодня на уроке побыть строителями, цветоводами и швеями, и решить следующие задачи. (Слайд №9)
I группа: цветоводы
В центре прямоугольного сквера длиной 24 м и шириной 15 м разбили цветник, длина которого 18 м, а ширина 7 м. Оставшуюся часть сквера засадили газонной травой. Какую площадь занимает часть сквера, засаженная газонной травой?

II группа: строители
Сколько плиток паркета потребуется для покрытия пола в комнате размером 6 м на 4 м, если каждая плитка имеет форму квадрата со стороной 2 дм?

III группа: швеи
На уроках труда девочки шили фартуки. Какова площадь одного фартука, если его длина 8 дм, а ширина в 2 раза меньше?

Проверка решения задач. ( Слайд №10)
I группа:
Решение:
Какова площадь сквера?
24 м х 15 м = 360 м2
Какова площадь цветника?
18 м х 7 м = 126 м2
Какую площадь занимает часть сквера, засаженная газонной травой?
360 м2 – 126 м2 = 234 м2
Ответ: 234 м2 занимает часть сквера, засаженная газонной травой.
II группа:
Решение:
Какова площадь пола?
6 м х 4 м = 24 м2 = 2400 дм2
Какова площадь плитки?
2 дм х 2 дм = 4 дм2
Сколько плиток паркета потребуется для покрытия пола?
2400 дм2 : 4 дм2 = 600 (плиток)
Ответ: 600 плиток паркета потребуется для покрытия пола
III группа:
Решение:
Какова ширина фартука?
8 дм : 2 = 4 дм
Какова площадь одного фартука?
8 дм х 4 дм = 32 дм2
Ответ: 32 дм2 площадь одного фартука.
– Молодцы, ребята! Хорошо справились со своими заданиями.
5. Тест. (слайд №11)
I вариант:
1. Площадь квадрата со стороной 8 мм равна:
1) 16 мм2 2) 64 мм2 3) 16 см2
2. Площадь прямоугольника со сторонами 16 см и 4 см равна:
1) 64 см2 2) 20 см2 3) 46 см
3. Периметр прямоугольника равен 24 см, а одна из его сторон в два раза меньше другой. Чему равна площадь прямоугольника?
1) 18 см2 2) 32 см2 3) 36 см2 4) 9 см2
4. Периметр квадрата равен 24 см. Прямоугольник имеет такую же площадь, что и квадрат, а одна из его сторон равна 9 см. Чему равен периметр прямоугольника?
1) 32 см 2) 26 см 3) 24 см 4) 28 см
5. Найдите сумму площадей квадратов, построенных на сторонах прямоугольника со сторонами 4 см и 9 см.
Ответ: 194 см2.
II вариант:
1. Выберите верное утверждение:
-
Площадь прямоугольника равна произведению двух его сторон;
-
Площадь квадрата равна квадрату его стороны;
-
Площадь прямоугольника равна удвоенному произведению двух его соседних сторон.
2. Стороны прямоугольника равны 6 см и 8 см. Чему равна его площадь?
1) 14 см²; 2) 48 см²; 3) 28 см².
3. Площадь прямоугольного участка земли 1200м², одна из его сторон 40 м. Найдите периметр этого участка.
1) 30 м; 2) 70 м; 3) 140 м.
4. Диагональ прямоугольника равна 13 см, а одна из его сторон 12 см. Чему равна площадь прямоугольника?
1) 60 см²; 2) 50 см²; 3) 34 см².
5.Стороны прямоугольника равны 4 дм и 9 дм. Найдите сторону квадрата, площадь которого равна площади этого прямоугольника.
1) 18 см; 2) 6 см; 3) 36 см².
III вариант:
1. Найдите площадь квадрата со стороной 7 м.
1) 14 м2 2)28 м 3) 49 м2
2. Площадь прямоугольника со сторонами 12 дм и 3 дм равна:
1) 36 дм 2) 15 дм2 3) 36 дм2
3. Периметр прямоугольника равен 18 см, а одна из его сторон на 1 см больше другой. Чему равна площадь прямоугольника?
1) 20 см2 2) 72 см2 3) 16 см2 4) 25 см2
4. Площадь квадрата равна 36 см2. Чему равен его периметр?
1) 12 см 2) 18 см 3) 24 см 4) 36 см
5. Найдите сумму площадей квадратов, построенных на сторонах прямоугольника со сторонами 5 см и 7 см.
Ответ: 148 см2.
IV вариант:
1. Выберите верное утверждение:
-
Площадь квадрата равна произведению его сторон;
-
Площадь прямоугольника равна произведению его противолежащих сторон;
-
Площадь прямоугольника равна произведению двух его соседних сторон.
2. Стороны прямоугольника равны 6 см и 8 см. Чему равна его площадь?
1) 14 см²; 2) 48 см²; 3) 28 см².
3. Площадь прямоугольного участка земли 1200м², одна из его сторон 30 м. Найдите периметр этого участка.
1) 30 м; 2) 70 м; 3) 140 м.
4. Диагональ прямоугольника равна 13 см, а одна из его сторон 5 см. Чему равна площадь прямоугольника?
1) 60 см²; 2) 50 см²; 3) 34 см².
5.Стороны прямоугольника равны 4 дм и 16 дм. Найдите сторону квадрата, площадь которого равна площади этого прямоугольника.
1) 64 см²; 2) 6 см; 3) 8 см.
Прием (РЕЛЛИ РОБИН) Поменяемся листочками , оцениваем работу партнера по лицу.
Критерии оценок 5 пр. ответов- оценка «5»
4 пр. ответов- оценка «4»
3 пр. ответов- оценка «3»
6. Творческое домашнее задание. (слайд№12)
Задача. Дачный участок прямоугольной формы длиной 30 м, шириной 20 м.
-
Определите площадь дачного участка
-
Определите длину изгороди дачного участка
-
Чему равна сторона участка квадратной формы с такой же площадью.
-
Как изменится площадь участка, если одну сторону увеличить, а другую уменьшить на 50%.
-
На данном участке стоит дом со сторонами 6 и 4 метра. Учитывая, что площадь вокруг дачного домика не засеивается на расстоянии 0,5 м и он расположен на расстоянии 0,5 м от изгороди. Рассчитайте полезную площадь участка

7. Рефлексия. (2-3 мин) (Слайд №13)
К сожалению, у нас ограничено время, а мне так понравилось работать с вами. Большое вам спасибо. Но наш урок подошел к концу.
Кому урок очень понравился и у него все получилось, может сам помочь другим прикрепляет розовую бабочку.
Кому урок понравился , но он немножко отстал ,допустил ошибки ,но их сам может исправить прикрепляет синюю бабочку.
У кого возникли проблемы и им нужна помощь друзей прикрепляют желтую бабочку.
Смотрите какая красивая композиция у нас получилась. Спасибо вам за урок.
Литература:
-
Интернет ресурсы: http://promotionjob.ru/dokumenty/urok-matematiki-v-8-klasse-po-teme-nakhozhdenie-ploshchadi/2/
-
Учебник «Геометрия» 8 класс Мектеп, Кайдасов Ж., 2012г. -120с.
-
Дидактический материал по геометрии 8 класса Б.Г. Зив , В.М. Мейлер 2011г. – 159с.
-
Муштавинская И.В., Технология развития критического мышления на уроке и в системе подготовки учителя: Учебно-методическое пособие. – СПб.: КАР», 2009.-144с.
жүктеу мүмкіндігіне ие боласыз
Бұл материал сайт қолданушысы жариялаған. Материалдың ішінде жазылған барлық ақпаратқа жауапкершілікті жариялаған қолданушы жауап береді. Ұстаз тілегі тек ақпаратты таратуға қолдау көрсетеді. Егер материал сіздің авторлық құқығыңызды бұзған болса немесе басқа да себептермен сайттан өшіру керек деп ойласаңыз осында жазыңыз
Геометрия 8 класс Тема: Понятие площади фигур. Площадь квадрата и прямоугольника.
МИНИСТЕРСТВО ОБРАЗОВАНИЯ И НАУКИ РЕСПУБЛИКИ
КАЗАХСТАН
АО «Национальный центр повышения квалификации «Өрлеу»
«Институт повышения квалификации педагогических работников по СКО»
филиал
Курсы повышения квалификации учителей математики
«Развитие функциональной математической грамотности учащихся в рамках проведения международного исследования PISA»
02.02-13.02.2015 г.
Мини – урок на тему
«Понятие площади фигур. Площадь квадрата и прямоугольника.»
Выполнила: учитель математики
Риттер С.Я.
КГУ «Приишимская основная школа»
Проверил:Корчевский В.Е.
ст. преподаватель
-
-
-
-
-
-
-
Параметры оценки
баллы
Общение
Фасилитация
Математическая грамотность
Итого баллов
Оценка
-
-
-
-
-
-
г. Петропавловск
2015 г.
Геометрия 8 класс
Тема: Понятие площади фигур. Площадь квадрата и прямоугольника. Слайд №2
Цель урока: научиться решать задачи на тему «Площадь квадрата и прямоугольника».
Задачи:
-
Изучить понятие площади и представление об измерении площадей многоугольников.
-
Рассмотреть свойства площадей квадрата и прямоугольника.
-
Выработать умения решать задачи на нахождение площади в процессе решения задач.
-
Развитие логического мышления, познавательного интереса, коммуникативных и творческих способностей.
-
Воспитывать интерес к предмету математики на основе решения задач практического применения. Слайд №3
Оборудование урока: интерактивная доска, раздаточный материал, чертёжные инструменты, презентация.
Ход урока:
1. Вводно- мотивационный момент. (2 мин)
Формулировка темы урока, целей урока.
Расшифруйте ребусы

Площадь Квадрат

Прямоугольник (Слайд №1)
Критерии оценивания. Оценочный лист у учителя
|
Вид работы |
Катя |
Ира |
Коля |
Илья |
Саша |
Юля |
Ваня |
Маша |
Миша |
Даша |
Яна |
Оля |
|
1. Ответы на вопросы |
|
|
|
|
|
|
|
|
|
|
|
|
|
2. Изучение темы |
|
|
|
|
|
|
|
|
|
|
|
|
|
3. Задача №1 |
|
|
|
|
|
|
|
|
|
|
|
|
|
4. Задача №2 |
|
|
|
|
|
|
|
|
|
|
|
|
|
5. Тест |
|
|
|
|
|
|
|
|
|
|
|
|
|
Итого: |
|
|
|
|
|
|
|
|
|
|
|
|
Оценочный лист_______________________________( Ф.И. ученика)
|
Название этапа урока |
Ответы на вопросы |
Изучение темы |
Задача №1 |
Задача №2 |
Тест |
ИТОГО: |
|
Самооценка |
|
|
|
|
|
|
|
Оценка группы |
|
|
|
|
|
|
2. Актуализация знаний. (5 мин)
– Ребята, очень часто в жизни вам придётся решать разные задачи на нахождение площади:
-
вычислять площадь стены для покраски или поклейки обоев;
-
находить площадь пола для укладки линолеума или плитки;
-
вычислять площадь клумбы для посадки семян цветов;
-
находить площадь крыши для её ремонта; и т. д.
Стратегия «Горячий стул». ( Слайд № 4)
Устная работа проводится с помощью метода «Горячий стул», с целью развития диалогиче-ского обучения. Учащиеся задают по три вопроса: два «тонких» и один «толстый» по определе-нию и свойствам четырёхугольников .
Форма таблицы “тонких” и “толстых” вопросов.
|
“Тонкие” вопросы |
|
|
Кто..? |
Дайте три объяснения, почему.. |
– Ребята, чтобы подготовиться к нашему уроку, давайте с вами ответим на вопросы:
-Что такое квадрат?
- Назови свойства квадрата.
- В чем различия между квадратом и ромбом?
- Что такое прямоугольник?
– Как найти площадь прямоугольника?
- Объясните, как найти длину прямоугольника , зная ширину и диагональ прямоугольника.
- Верно ли, что диагонали квадрата взаимно перпендикулярны?
– Как найти площадь квадрата?
– Вспомните и назовите меры площади:
(мм2, см2, дм2, м2, км2, гектар, ар, сотка ).
3. Изучение нового материала с применением стратегии «Джигсо» или «Ажурная пила».
( Слайд № 5)
Создание коллаборативной среды в классе. Для того, чтобы разделить на группы проводим игру «выбор профессии». Каждый ученик выбирает себе картинку: цветы, ножницы, кирпич.

1.Создаём группы с разными картинками.
2.Далее создаём группы с одинаковыми картинками.
Учитель раздаёт задание. На изучение тем отводится (5 минут.)
I группе изучить совместно по учебнику «Понятие площади фигур» и сделать конспект.
II группе – « Площадь прямоугольника»,
III группе «Площадь квадрата».
Далее ученики возвращаются в первоначальный состав групп. И каждый объясняет изученный материал в своей группе. (7 минут)
Дополнительная информация.
-Что же обозначает слово площадь?
В толковом словаре Ожегова слово площадь имеет несколько значений:
*Величина чего-нибудь в длину и ширину, измеряемая в квадратных единицах. (Площадь треугольника, площадь участка.)
*Пространство или помещение, предназначенное для какой-нибудь цели. (Посевная площадь, площадь спортивного зала)
*Жилая площадь. (Общая площадь, полезная площадь в доме.)
В интернете можно найти такое значение площади:
Площадь — это численная характеристика плоской или искривлённой геометрической фигуры, показывающая её размер.
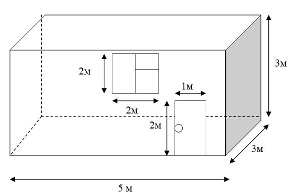
4. Проверка понимания изученного материала. (слайд №6)
Требуется отремонтировать детскую комнату: поклеить обои, положить на пол линолеум и прикрутить плинтус. Изучите какие товары предлагает магазин «Все для ремонта» и посчитайте какое количество и какого товара потребуется купить для ремонта.
Учащиеся под № 1,2 -Вам необходимо рассчитать, сколько понадобится рулонов обоев, чтобы оклеить стены и определить стоимость покупки.
Учащиеся под № 3,4 положить на пол линолеум и прикрутить плинтус. Необходимо рассчитать сколько рулонов линолеума, сколько штук плинтусов нужно приобрести и определить стоимость покупки.
Список материалов для ремонта магазина «ВСЕ для РЕМОНТА» (Слайд № 7)
|
№ |
Наименование товара |
количество |
размер |
цена |
|
1 |
Обои |
1 рулон |
ширина 1м, длина 10м |
2500тг |
|
2 |
Линолеум |
1 рулон |
ширина 2м, длина 10м |
1м-1500тг |
|
3 |
Плинтус |
1 штука |
длина 3м
|
600тг |
Таблица ответов (слайд №8)
-
-
№
Наименование товара
количество
Стоимость
1
Обои
5 рулонов
12500тг
2
Линолеум
1 рулон
15000тг
3
Плинтус
6 штук
3600тг
-
1) (3 · 5 ) · 2 = 30 (м2) – площадь стен с окном и дверью вместе.
2) (3 ·3) · 2 = 18(м2) – площадь глухих стен .
3) 2 · 2 = 4 (м2) – площадь окна.
4) 2 · 1 = 2(м2) – площадь двери.
5) 30 + 18 = 48 (м2) – вся площадь боковой поверхности комнаты.
6) 48 – (4 + 2) = 42(м2) – площадь для оклеивания обоями.
7) 42 : 10 = 4,2 – 5 рулонов обоев надо.
8) 2500 · 5=12500(тг) – заплатить за обои
1) 5 · 3 = 15(м2) – площадь пола.
2) 2 · 10 = 20 (м2) – площадь одного рулона линолеума.
3) 15 : 20 = 3/4 – 1 рулона линолеума надо.
4) 1500 · 10 = 15000(тг) – заплатить за линолеум
5) (5 + 3) · 2 = 16 (м) – периметр комнаты.
6) 16 -1 =15(м)- периметр без дверей
7) 15:3=5(шт) - плинтусов нужно
8) 600 · 6 = 3600(тг) – заплатить за плинтус
Время истекло. Внимание на экран проверка.
– Знание правил нахождения площадей нам очень важны. Подумайте, какие профессии используют данные знания:
– строители, архитекторы, цветоводы, фермеры, штукатуры, маляры, кровельщики, плотники, швеи.
– Предлагаю вам сегодня на уроке побыть строителями, цветоводами и швеями, и решить следующие задачи. (Слайд №9)
I группа: цветоводы
В центре прямоугольного сквера длиной 24 м и шириной 15 м разбили цветник, длина которого 18 м, а ширина 7 м. Оставшуюся часть сквера засадили газонной травой. Какую площадь занимает часть сквера, засаженная газонной травой?

II группа: строители
Сколько плиток паркета потребуется для покрытия пола в комнате размером 6 м на 4 м, если каждая плитка имеет форму квадрата со стороной 2 дм?

III группа: швеи
На уроках труда девочки шили фартуки. Какова площадь одного фартука, если его длина 8 дм, а ширина в 2 раза меньше?

Проверка решения задач. ( Слайд №10)
I группа:
Решение:
Какова площадь сквера?
24 м х 15 м = 360 м2
Какова площадь цветника?
18 м х 7 м = 126 м2
Какую площадь занимает часть сквера, засаженная газонной травой?
360 м2 – 126 м2 = 234 м2
Ответ: 234 м2 занимает часть сквера, засаженная газонной травой.
II группа:
Решение:
Какова площадь пола?
6 м х 4 м = 24 м2 = 2400 дм2
Какова площадь плитки?
2 дм х 2 дм = 4 дм2
Сколько плиток паркета потребуется для покрытия пола?
2400 дм2 : 4 дм2 = 600 (плиток)
Ответ: 600 плиток паркета потребуется для покрытия пола
III группа:
Решение:
Какова ширина фартука?
8 дм : 2 = 4 дм
Какова площадь одного фартука?
8 дм х 4 дм = 32 дм2
Ответ: 32 дм2 площадь одного фартука.
– Молодцы, ребята! Хорошо справились со своими заданиями.
5. Тест. (слайд №11)
I вариант:
1. Площадь квадрата со стороной 8 мм равна:
1) 16 мм2 2) 64 мм2 3) 16 см2
2. Площадь прямоугольника со сторонами 16 см и 4 см равна:
1) 64 см2 2) 20 см2 3) 46 см
3. Периметр прямоугольника равен 24 см, а одна из его сторон в два раза меньше другой. Чему равна площадь прямоугольника?
1) 18 см2 2) 32 см2 3) 36 см2 4) 9 см2
4. Периметр квадрата равен 24 см. Прямоугольник имеет такую же площадь, что и квадрат, а одна из его сторон равна 9 см. Чему равен периметр прямоугольника?
1) 32 см 2) 26 см 3) 24 см 4) 28 см
5. Найдите сумму площадей квадратов, построенных на сторонах прямоугольника со сторонами 4 см и 9 см.
Ответ: 194 см2.
II вариант:
1. Выберите верное утверждение:
-
Площадь прямоугольника равна произведению двух его сторон;
-
Площадь квадрата равна квадрату его стороны;
-
Площадь прямоугольника равна удвоенному произведению двух его соседних сторон.
2. Стороны прямоугольника равны 6 см и 8 см. Чему равна его площадь?
1) 14 см²; 2) 48 см²; 3) 28 см².
3. Площадь прямоугольного участка земли 1200м², одна из его сторон 40 м. Найдите периметр этого участка.
1) 30 м; 2) 70 м; 3) 140 м.
4. Диагональ прямоугольника равна 13 см, а одна из его сторон 12 см. Чему равна площадь прямоугольника?
1) 60 см²; 2) 50 см²; 3) 34 см².
5.Стороны прямоугольника равны 4 дм и 9 дм. Найдите сторону квадрата, площадь которого равна площади этого прямоугольника.
1) 18 см; 2) 6 см; 3) 36 см².
III вариант:
1. Найдите площадь квадрата со стороной 7 м.
1) 14 м2 2)28 м 3) 49 м2
2. Площадь прямоугольника со сторонами 12 дм и 3 дм равна:
1) 36 дм 2) 15 дм2 3) 36 дм2
3. Периметр прямоугольника равен 18 см, а одна из его сторон на 1 см больше другой. Чему равна площадь прямоугольника?
1) 20 см2 2) 72 см2 3) 16 см2 4) 25 см2
4. Площадь квадрата равна 36 см2. Чему равен его периметр?
1) 12 см 2) 18 см 3) 24 см 4) 36 см
5. Найдите сумму площадей квадратов, построенных на сторонах прямоугольника со сторонами 5 см и 7 см.
Ответ: 148 см2.
IV вариант:
1. Выберите верное утверждение:
-
Площадь квадрата равна произведению его сторон;
-
Площадь прямоугольника равна произведению его противолежащих сторон;
-
Площадь прямоугольника равна произведению двух его соседних сторон.
2. Стороны прямоугольника равны 6 см и 8 см. Чему равна его площадь?
1) 14 см²; 2) 48 см²; 3) 28 см².
3. Площадь прямоугольного участка земли 1200м², одна из его сторон 30 м. Найдите периметр этого участка.
1) 30 м; 2) 70 м; 3) 140 м.
4. Диагональ прямоугольника равна 13 см, а одна из его сторон 5 см. Чему равна площадь прямоугольника?
1) 60 см²; 2) 50 см²; 3) 34 см².
5.Стороны прямоугольника равны 4 дм и 16 дм. Найдите сторону квадрата, площадь которого равна площади этого прямоугольника.
1) 64 см²; 2) 6 см; 3) 8 см.
Прием (РЕЛЛИ РОБИН) Поменяемся листочками , оцениваем работу партнера по лицу.
Критерии оценок 5 пр. ответов- оценка «5»
4 пр. ответов- оценка «4»
3 пр. ответов- оценка «3»
6. Творческое домашнее задание. (слайд№12)
Задача. Дачный участок прямоугольной формы длиной 30 м, шириной 20 м.
-
Определите площадь дачного участка
-
Определите длину изгороди дачного участка
-
Чему равна сторона участка квадратной формы с такой же площадью.
-
Как изменится площадь участка, если одну сторону увеличить, а другую уменьшить на 50%.
-
На данном участке стоит дом со сторонами 6 и 4 метра. Учитывая, что площадь вокруг дачного домика не засеивается на расстоянии 0,5 м и он расположен на расстоянии 0,5 м от изгороди. Рассчитайте полезную площадь участка

7. Рефлексия. (2-3 мин) (Слайд №13)
К сожалению, у нас ограничено время, а мне так понравилось работать с вами. Большое вам спасибо. Но наш урок подошел к концу.
Кому урок очень понравился и у него все получилось, может сам помочь другим прикрепляет розовую бабочку.
Кому урок понравился , но он немножко отстал ,допустил ошибки ,но их сам может исправить прикрепляет синюю бабочку.
У кого возникли проблемы и им нужна помощь друзей прикрепляют желтую бабочку.
Смотрите какая красивая композиция у нас получилась. Спасибо вам за урок.
Литература:
-
Интернет ресурсы: http://promotionjob.ru/dokumenty/urok-matematiki-v-8-klasse-po-teme-nakhozhdenie-ploshchadi/2/
-
Учебник «Геометрия» 8 класс Мектеп, Кайдасов Ж., 2012г. -120с.
-
Дидактический материал по геометрии 8 класса Б.Г. Зив , В.М. Мейлер 2011г. – 159с.
-
Муштавинская И.В., Технология развития критического мышления на уроке и в системе подготовки учителя: Учебно-методическое пособие. – СПб.: КАР», 2009.-144с.
шағым қалдыра аласыз














