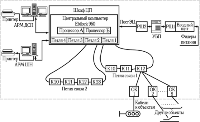
Микропроцессорная система централизации МПЦ Ebilock-950 (Швеция). Эта система относится ко второму поколению компьютерных
ЭЦ стрелок и сигналов и может применяться на малых, средних и крупных станциях. Система является комбинированной, в ней микропроцессорные устройства обеспечивают выполнение и контроль взаимозависимостей стрелок и сигналов на станции, тестирование устройств и обеспечение безопасности движения поездов, а релейная аппаратура осуществляет непосредственное управление напольными устройствами. Система имеет центральные зависимости и маршрутное управление стрелками. На рис.1 приведена структурная схема такой системы МПЦ. МПЦ Ebilock-950 состоит из центрального компьютера, который имеет два процессора А и Б. Один из этих процессоров работает в реальном времени, другой находится в рабочем состоянии и является горячим резервом, готовым заменить первый при возникновении в нем неисправности. Центральный компьютер Ebilock-950 обеспечивает безопасность движения поездов на станции и выполняет команды ДСП. К центральному компьютеру подключены АРМ ДСП и АРМ ШН электромеханика. От ДСП в систему посредством клавиатуры или «мыши» поступают команды, связанные с поездной работой, а из системы на АРМ поступает информация о происходящих событиях на станции. Для этого используется монитор, где отображен план станции.

Рис. 1 Структурная схема системы МПЦ
Системный блок и монитор АРМ ДСП резервируются на случай неисправности основного. Все действия ДСП фиксируются и запоминаются компьютером. Спустя достаточно большое время можно воссоздать любую поездную ситуацию.
С АРМа ШН можно контролировать состояния напольных объектов, подключенных систем (АРМ ДСП, объектных контроллеров и др.), просмотреть электронную версию журналов событий, а также вывести на печать информацию о сбоях и неисправностях.
Для непосредственного управления станционными объектами служат объектные контроллеры ОК, которые подключаются к центральному компьютеру через петли связи и концентраторы К. Объектный контроллер принимает приказ от центрального компьютера, преобразует его в электрические сигналы для управления напольными устройствами. Сигналы, принятые от напольного оборудования, также преобразуются в сигналы контроля его состояния и через концентраторы передаются в центральный компьютер. Объектные контроллеры бывают различного назначения. Например, сигнальный контроллер управляет сигнальными показаниями и контролирует состояние светофорных ламп, стрелочный определяет состояние стрелки и управляет электродвигателем и т.д. Такая компьютерная централизация МПЦ выполняет все требования ПТЭ по обеспечению взаимозависимостей стрелок и сигналов и осуществляет обработку данных не допуская выполнения опасных команд, поступающих от системы управления и отображения. Только корректные команды от системы управления и отображения преобразуются в приказы и передаются на объекты управления (стрелки, сигналы, переездное оборудование, перегонные устройства и др.).
жүктеу мүмкіндігіне ие боласыз
Бұл материал сайт қолданушысы жариялаған. Материалдың ішінде жазылған барлық ақпаратқа жауапкершілікті жариялаған қолданушы жауап береді. Ұстаз тілегі тек ақпаратты таратуға қолдау көрсетеді. Егер материал сіздің авторлық құқығыңызды бұзған болса немесе басқа да себептермен сайттан өшіру керек деп ойласаңыз осында жазыңыз
Доклад "Микропроцессорная система централизации МПЦ Ebilock-950"
Доклад "Микропроцессорная система централизации МПЦ Ebilock-950"
Микропроцессорная система централизации МПЦ Ebilock-950 (Швеция). Эта система относится ко второму поколению компьютерных
ЭЦ стрелок и сигналов и может применяться на малых, средних и крупных станциях. Система является комбинированной, в ней микропроцессорные устройства обеспечивают выполнение и контроль взаимозависимостей стрелок и сигналов на станции, тестирование устройств и обеспечение безопасности движения поездов, а релейная аппаратура осуществляет непосредственное управление напольными устройствами. Система имеет центральные зависимости и маршрутное управление стрелками. На рис.1 приведена структурная схема такой системы МПЦ. МПЦ Ebilock-950 состоит из центрального компьютера, который имеет два процессора А и Б. Один из этих процессоров работает в реальном времени, другой находится в рабочем состоянии и является горячим резервом, готовым заменить первый при возникновении в нем неисправности. Центральный компьютер Ebilock-950 обеспечивает безопасность движения поездов на станции и выполняет команды ДСП. К центральному компьютеру подключены АРМ ДСП и АРМ ШН электромеханика. От ДСП в систему посредством клавиатуры или «мыши» поступают команды, связанные с поездной работой, а из системы на АРМ поступает информация о происходящих событиях на станции. Для этого используется монитор, где отображен план станции.

Рис. 1 Структурная схема системы МПЦ
Системный блок и монитор АРМ ДСП резервируются на случай неисправности основного. Все действия ДСП фиксируются и запоминаются компьютером. Спустя достаточно большое время можно воссоздать любую поездную ситуацию.
С АРМа ШН можно контролировать состояния напольных объектов, подключенных систем (АРМ ДСП, объектных контроллеров и др.), просмотреть электронную версию журналов событий, а также вывести на печать информацию о сбоях и неисправностях.
Для непосредственного управления станционными объектами служат объектные контроллеры ОК, которые подключаются к центральному компьютеру через петли связи и концентраторы К. Объектный контроллер принимает приказ от центрального компьютера, преобразует его в электрические сигналы для управления напольными устройствами. Сигналы, принятые от напольного оборудования, также преобразуются в сигналы контроля его состояния и через концентраторы передаются в центральный компьютер. Объектные контроллеры бывают различного назначения. Например, сигнальный контроллер управляет сигнальными показаниями и контролирует состояние светофорных ламп, стрелочный определяет состояние стрелки и управляет электродвигателем и т.д. Такая компьютерная централизация МПЦ выполняет все требования ПТЭ по обеспечению взаимозависимостей стрелок и сигналов и осуществляет обработку данных не допуская выполнения опасных команд, поступающих от системы управления и отображения. Только корректные команды от системы управления и отображения преобразуются в приказы и передаются на объекты управления (стрелки, сигналы, переездное оборудование, перегонные устройства и др.).
шағым қалдыра аласыз













